Содержание
Подключение трехфазного двигателя к однофазной сети без потери мощности
Главная
>
Энергетика
>
Подключение трехфазного двигателя к однофазной сети без потери мощности
Как известно, при включении трёхфазного асинхронного двигателя в однофазную сеть, по распространенным конденсаторным схемам: «треугольник», или «звезда», мощность двигателя используется только наполовину (в зависимости от применяемого двигателя).
Кроме того, затруднён запуск двигателя под нагрузкой.
В предлагаемой статье описан метод подключения двигателя без потери мощности.
В различных любительских электромеханических станках и приспособлениях чаще всего используются трехфазные асинхронные двигатели с короткозамкнутым ротором. К сожалению, трехфазная сеть в быту — явление крайне редкое, поэтому для их питания от обычной электрической сети любители применяют фазосдвигающий конденсатор, что не позволяет в полном объеме реализовать мощность и пусковые характеристики двигателя.
Существующие же тринисторные «фазосдвигающие» устройства еще в большей степени снижают мощность на валу двигателей.
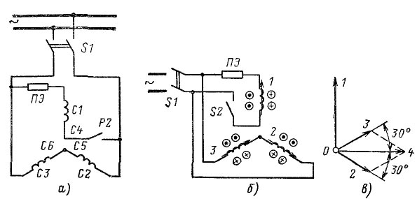
Вариант схемы устройства запуска трехфазного электродвигателя без потери мощности приведен на рис. 1.
Обмотки двигателя 220/380 В соединены треугольником, а конденсатор С1 включен, как обычно, параллельно одной из них. Конденсатору «помогает» дроссель L1, включенный параллельно другой обмотке. При определенном соотношении емкости конденсатора С1, индуктивности дросселя L1 и мощности нагрузки можно получить сдвиг фаз между напряжениями на трех ветвях нагрузки, равный точно 120°.
На рис. 2 приведена векторная диаграмма напряжений для устройства, представленного на рис. 1, при чисто активной нагрузке R в каждой ветви. Линейный ток Iл в векторном виде равен разности токов Iз и Ia, а по абсолютному значению соответствует величине Iф√3, где Iф=I1=I2=I3=Uл/R — фазный ток нагрузки, Uл=U1=U2=U3=220 В — линейное напряжение сети.
К конденсатору С1 приложено напряжение Uc1=U2, ток через него равен Ic1 и по фазе опережает напряжение на 90°.
Аналогично к дросселю L1 приложено напряжение UL1=U3, ток через него IL1 отстает от напряжения на 90°.
При равенстве абсолютных величин токов Ic1 и IL1 их векторная разность при правильном выборе емкости и индуктивности может быть равной Iл.
Сдвиг фаз между токами Ic1 и IL1 составляет 60°, поэтому треугольник из векторов Iл, Iс1 и IL1 — равносторонний, а их абсолютная величина составляет Iс1=IL1=Iл=Iф√3. В свою очередь, фазный ток нагрузки Iф=Р/ЗUL, где Р — суммарная мощность нагрузки.
Иными словами, если емкость конденсатора С1 и индуктивность дросселя L1 выбрать такими, чтобы при поступлении на них напряжения 220 В ток через них был бы равен Ic1=IL1=P/(√3⋅Uл)=P/380, показанная на рис. 1 цепь L1C1 обеспечит на нагрузке трехфазное напряжение с точным соблюдением сдвига фаз.
Таблица 1
| P, Вт | IC1=IL1, A | C1, мкФ | L1, Гн |
|---|---|---|---|
| 100 | 0.26 | 3.8 | 2. 66 |
| 200 | 0.53 | 7.6 | 1.33 |
| 300 | 0.79 | 11.4 | 0.89 |
| 400 | 1.05 | 15.2 | 0.67 |
| 500 | 1.32 | 19.0 | 0.53 |
| 600 | 1.58 | 22.9 | 0.44 |
| 700 | 1.84 | 26.7 | 0.38 |
| 800 | 2.11 | 30.5 | 0.33 |
| 900 | 2.37 | 34.3 | 0.30 |
| 1000 | 2.63 | 38.1 | 0.27 |
| 1100 | 2.89 | 41.9 | 0.24 |
| 1200 | 3.16 | 45.7 | 0.22 |
| 1300 | 3.42 | 49.5 | 0.20 |
| 1400 | 3.68 | 53.3 | 0.19 |
| 1500 | 3. 95 | 57.1 | 0.18 |
В табл. 1 приведены значения тока Ic1=IL1. емкости конденсатора С1 и индуктивности дросселя L1 для различных величин полной мощности чисто активной нагрузки.
Реальная нагрузка в виде электродвигателя имеет значительную индуктивную составляющую. В результате линейный ток отстает по фазе от тока активной нагрузки на некоторый угол ф порядка 20…40°.
На шильдиках электродвигателей обычно указывают не угол, а его косинус — широко известный cosφ, равный отношению активной составляющей линейного тока к его полному значению.
Индуктивную составляющую тока, протекающего через нагрузку устройства, показанного на рис. 1, можно представить в виде токов, проходящих через некоторые катушки индуктивности Lн, подключенные параллельно активным сопротивлениям нагрузки (рис. 3,а), или, что эквивалентно, параллельно С1, L1 и сетевым проводам.
Из рис. 3,б видно, что поскольку ток через индуктивность противофазен току через емкость, катушки индуктивности LH уменьшают ток через емкостную ветвь фазосдвигающей цепи и увеличивают через индуктивную.
Поэтому для сохранения фазы напряжения на выходе фазосдвигающей цепи ток через конденсатор С1 необходимо увеличить и через катушку уменьшить
Векторная диаграмма для нагрузки с индуктивной составляющей усложняется. Ее фрагмент, позволяющий произвести необходимые расчеты, приведен на рис. 4.
Полный линейный ток Iл разложен здесь на две составляющие: активную Iлcosφ и реактивную Iлsinφ.
В результате решения системы уравнений для определения необходимых значений токов через конденсатор С1 и катушку L1:
IC1sin30° + IL1sin30° = Iлcosφ, IC1cos30° — IL1cos30° = Iлsinφ,
получаем следующие значения этих токов:
IC1 = 2/√3⋅Iлsin(φ+60°), IL1 = 2/√3⋅Iлcos(φ+30°).
При чисто активной нагрузке (φ=0) формулы дают ранее полученный результат Ic1=IL1=Iл.
На рис. 5 приведены зависимости отношений токов Ic1 и IL1 к Iл от cosφ, рассчитанные по этим формулам Для (cosφ = √3/2 = 0,87) ток конденсатора С1 максимален и равен 2/√3Iл = 1.
15Iл, а ток дросселя L1 вдвое меньше.
Этими же соотношениями с хорошей степенью точности можно пользоваться для типовых значений cosφ, равных 0,85…0,9.
Таблица 2
| P, Вт | IC1, A | IL1, A | C1, мкФ | L1, Гн |
|---|---|---|---|---|
| 100 | 0.35 | 0.18 | 5.1 | 3.99 |
| 200 | 0.70 | 0.35 | 10.2 | 2.00 |
| 300 | 1.05 | 0.53 | 15.2 | 1.33 |
| 400 | 1.40 | 0.70 | 20.3 | 1.00 |
| 500 | 1.75 | 0.88 | 25.4 | 0.80 |
| 600 | 2.11 | 1.05 | 30.5 | 0.67 |
| 700 | 2.46 | 1.23 | 35.6 | 0.57 |
| 800 | 2.81 | 1.40 | 40. 6 | 0.50 |
| 900 | 3.16 | 1.58 | 45.7 | 0.44 |
| 1000 | 3.51 | 1.75 | 50.8 | 0.40 |
| 1100 | 3.86 | 1.93 | 55.9 | 0.36 |
| 1200 | 4.21 | 2.11 | 61.0 | 0.33 |
| 1300 | 4.56 | 2.28 | 66.0 | 0.31 |
| 1400 | 4.91 | 2.46 | 71.1 | 0.29 |
| 1500 | 5.26 | 2.63 | 76.2 | 0.27 |
В табл. 2 приведены значения токов IC1, IL1, протекающих через конденсатор С1 и дроссель L1 при различных величинах полной мощности нагрузки, имеющей указанное выше значение cosφ = √3/2.
Для такой фазосдвигающей цепи используют конденсаторы МБГО, МБГП, МБГТ, К42-4 на рабочее напряжение не менее 600 В или МБГЧ, К42-19 на напряжение не менее 250 В.
Дроссель проще всего изготовить из трансформатора питания стержневой конструкции от старого лампового телевизора. Ток холостого хода первичной обмотки такого трансформатора при напряжении 220 В обычно не превышает 100 мА и имеет нелинейную зависимость от приложенного напряжения.
Если же в магнитопровод ввести зазор порядка 0,2…1 мм, ток существенно возрастет, а зависимость его от напряжения станет линейной.
Сетевые обмотки трансформаторов ТС могут быть соединены так, что номинальное напряжение на них составит 220 В (перемычка между выводами 2 и 2′), 237 В (перемычка между выводами 2 и 3′) или 254 В (перемычка между выводами 3 и 3′). Сетевое напряжение чаще всего подают на выводы 1 и 1′. В зависимости от вида соединения меняются индуктивность и ток обмотки.
В табл. 3 приведены значения тока в первичной обмотке трансформатора ТС-200-2 при подаче на нее напряжения 220 В при различных зазорах в магнитопроводе и разном включении секций обмоток.
Сопоставление данных табл.
3 и 2 позволяет сделать вывод, что указанный трансформатор можно установить в фазосдвигающую цепь двигателя с мощностью примерно от 300 до 800 Вт и, подбирая зазор и схему включения обмоток, получить необходимую величину тока.
Индуктивность изменяется также в зависимости от синфазного или противофазного соединения сетевой и низковольтных (например, накальных) обмоток трансформатора.
Максимальный ток может несколько превышать номинальный ток в рабочем режиме. В этом случае для облегчения теплового режима целесообразно снять с трансформатора все вторичные обмотки, часть низковольтных обмоток можно использовать для питания цепей автоматики устройства, в котором работает электродвигатель.
Таблица 3
| Зазор в магнитопроводе, мм | Ток в сетевой обмотке, A, при соединении выводов на напряжение, В | ||
|---|---|---|---|
| 220 | 237 | 254 | |
| 0.2 | 0.63 | 0. 54 | 0.46 |
| 0.5 | 1.26 | 1.06 | 0.93 |
| 1 | — | 2.05 | 1.75 |
В табл. 4 приведены номинальные величины токов первичных обмоток трансформаторов различных телевизоров и ориентировочные значения мощности двигателя, с которыми их целесообразно использовать фазосдвигающую LC-цепь следует рассчитывать для максимально возможной нагрузки электродвигателя.
Таблица 4
| Трансформатор | Номинальный ток, A | Мощность двигателя, Вт |
|---|---|---|
| ТС-360М | 1.8 | 600…1500 |
| ТС-330К-1 | 1.6 | 500…1350 |
| СТ-320 | 1.6 | 500…1350 |
| СТ-310 | 1.5 | 470…1250 |
| ТСА-270-1, ТСА-270-2, ТСА-270-3 | 1.25 | 400…1250 |
| ТС-250, ТС-250-1, ТС-250-2, ТС-250-2М, ТС-250-2П | 1. 1 | 350…900 |
| ТС-200К | 1 | 330…850 |
| ТС-200-2 | 0.95 | 300…800 |
| ТС-180, ТС-180-2, ТС-180-4, ТС-180-2В | 0.87 | 275…700 |
При меньшей нагрузке необходимый сдвиг фаз уже не будет выдерживаться, но пусковые характеристики по сравнению с использованием одного конденсатора улучшатся.
Экспериментальная проверка проводилась как с чисто активной нагрузкой, так и с электродвигателем.
Функции активной нагрузки выполняли по две параллельно соединенных лампы накаливания мощностью 60 и 75 Вт, включенные в каждую нагрузочную цепь устройства (см рис. 1), что соответствовало общей мощности 400 Вт В соответствии с табл. 1 емкость конденсатора С1 составляла 15 мкф Зазор в магнитопроводе трансформатора ТС-200-2 (0,5 мм) и схема соединения обмоток (на 237 В) были выбраны из соображений обеспечения необходимого тока 1,05 А.
Измеренные на нагрузочных цепях напряжения U1, U2, U3 отличались друг от друга на 2…3 В, что подтверждало высокую симметрию трехфазного напряжения.
Эксперименты проводились также с трехфазным асинхронным двигателем с короткозамкнутым ротором АОЛ22-43Ф мощностью 400 Вт. Он работал с конденсатором С1 емкостью 20 мкф (кстати, такой же, как и при работе двигателя только с одним фазосдвигающим конденсатором) и с трансформатором, зазор и соединение обмоток которого выбраны из условия получения тока 0,7 А.
В результате удалось быстро запустить двигатель без пускового конденсатора и заметно увеличить крутящий момент, ощущаемый при торможении шкива на валу двигателя.
К сожалению, провести более объективную проверку затруднительно, поскольку в любительских условиях практически невозможно обеспечить нормированную механическую нагрузку на двигатель.
Следует помнить, что фазосдвигающая цепь — это последовательный колебательный контур, настроенный на частоту 50 Гц (для варианта чисто активной нагрузки), и без нагрузки подключать к сети эту цепь нельзя.
Запуск трехфазного двигателя без конденсаторов: 4 цепи
Максимально вставленный резистор R7 закрывает электронный ключ.
Содержание
Подключение трехфазного двигателя к однофазной сети без конденсаторов: 4 схемы для начинающих электриков
Асинхронные двигатели просты в изготовлении, дешевы и широко используются в различных отраслях промышленности. Домашние мастера не могут обойтись без них, подключая их от 220 вольт с пусковыми и ходовыми конденсаторами.
Но есть и альтернатива. Это подключение трехфазного двигателя к однофазной сети без конденсаторов, которая также имеет право на существование.
Ниже приведены 4 схемы такой конструкции. Вы можете выбрать любой из них в соответствии с вашими личными интересами и местными условиями эксплуатации.
Впервые я столкнулся с этим в конце 1998 года, когда друг-инженер связист пришел в нашу релейную лабораторию с журналом “Радио 1996”, выпуск 6, и показал нам статью о бесконденсаторном запуске.
Мы сразу же решили попробовать, потому что у нас были все детали, включая тиристоры и подходящий двигатель.
Это был просто перерыв на обед.
Для испытания мы спаяли электронный блок с помощью шарнирного узла. Это заняло у нас меньше часа. Схема работала практически без регулировок. Мы оставили его для наждака.
Меня порадовал небольшой размер блока и отсутствие необходимости в конденсаторах. Мы не заметили большой разницы в потере мощности по сравнению с конденсаторным запуском.
В однофазных конденсаторных двигателях обмотка конденсатора работает постоянно. Две обмотки – основная и вспомогательная – смещены относительно друг друга на 90°. Это позволяет изменить направление вращения на противоположное. Конденсатор в этих двигателях обычно прикреплен к корпусу, и его нетрудно определить.
Асинхронный или коммутаторный: как их отличить?
В целом, тип двигателя можно отличить по заводской табличке, на которой написаны данные и тип двигателя. Но это только в том случае, если он не был отремонтирован. В конце концов, под корпусом может быть что угодно. Поэтому, если вы не уверены, лучше определить тип самостоятельно.
Вот как выглядит новый однофазный конденсаторный двигатель
Коллекторные двигатели
По конструкции различают асинхронные и коллекторные двигатели. Коллекторный двигатель всегда имеет щетки. Они расположены вблизи коллектора. Еще одним обязательным атрибутом этого типа двигателя является наличие медного барабана, разделенного на секции.
Эти двигатели выпускаются только однофазными и часто устанавливаются в бытовых приборах, так как обеспечивают высокое число оборотов при запуске и после ускорения. Они также удобны в том смысле, что легко позволяют менять направление вращения – достаточно изменить полярность. Также легко изменить скорость, изменяя амплитуду питающего напряжения или угол отсечки. Именно поэтому такие двигатели используются в большинстве бытового и строительного оборудования.
Конструкция коллекторного двигателя
Недостатком двигателей с коммутатором является то, что они шумят на высоких скоростях. Вспомните дрель, болторез, пылесос, стиральную машину и т.
д. Их работа очень шумная. Коллекторные двигатели не так сильно шумят на низких оборотах (стиральная машина), но не все инструменты работают в таком режиме.
Второй неприятный момент заключается в том, что наличие щеток и постоянное трение делают необходимым регулярное обслуживание. Если контактное кольцо не чистить, графитовый мусор (от трущихся щеток) может привести к слиянию соседних секций в барабане, двигатель просто перестанет работать.
Асинхронный
Асинхронный двигатель имеет стартер и ротор и может быть однофазным или трехфазным. Эта статья посвящена подключению однофазных двигателей, поэтому мы обсудим только их.
Асинхронные двигатели имеют низкий уровень шума во время работы, поэтому их устанавливают в оборудовании, где уровень шума является критическим. К ним относятся кондиционеры, сплит-системы и холодильники.
Конструкция асинхронных двигателей
Существует два типа однофазных асинхронных двигателей – бифилярные (с пусковой обмоткой) и конденсаторные.
Разница в том, что в однофазных бифилярных двигателях пусковая обмотка действует только до момента запуска двигателя. Затем он отключается специальным устройством – центробежным выключателем или пусковым реле (в холодильниках). Это необходимо, поскольку после ускорения он только снижает эффективность.
В однофазных конденсаторных двигателях обмотка конденсатора работает постоянно. Две обмотки – основная и вспомогательная – смещены относительно друг друга на 90°. Это позволяет изменить направление вращения на противоположное. Конденсатор в этих двигателях обычно прикреплен к корпусу, и его нетрудно определить.
Более точное определение того, имеет ли человек дело с биполярным или конденсаторным двигателем, может быть получено путем измерения обмоток. Если сопротивление вспомогательной обмотки меньше половины (разница может быть и больше), то, вероятно, вы имеете дело с двухполюсным двигателем, и эта вспомогательная обмотка является пусковой, что означает, что в цепи должен присутствовать пусковой выключатель или реле.
В конденсаторных двигателях обе обмотки всегда находятся в работе, и однофазный двигатель может быть подключен с помощью простой кнопки, выключателя, автомата.
Добавлено спустя 1 минуту 37 секунд:
кстати, почему это в ремонте.
Как запустить электродвигатель без конденсатора?
220 В. Обычно для запуска используются конденсаторы. Согласно рекомендуемым расчетам, на 1 кВт мощности требуется 66 мкФ. Поэтому в моем случае 66 x 0,75 = 50 мкФ. Проблема заключалась в том, что имелся только один бумажный конденсатор 20 мкФ x 400 В. С его помощью двигатель включился, как бы нехотя, но включился. Затем что-то случилось с конденсатором – двигатель не заводился сам по себе, а крутить рукоятку вручную было не очень весело. Новые конденсаторы относительно дороги. Я начал думать об этом:
Конденсатор необходим в двигателе для сдвига фазы между пусковой и рабочей обмотками (когда запуск двигателя обязателен). Но что если тиристор сдвигает фазу! После поиска в интернете я нашел одну схему, где автор предлагает семисторонний запуск двигателя, я думаю, что он не совсем понимает, что он сделал правильно (смесь запуска с симисторным аналогом конденсаторного запуска и с короткозамкнутым стартером).
Отсюда высокие потери мощности.http://www.radiopill.net/load/dlja_doma . 76-1-0-660
Не будучи полностью уверенным в работоспособности схемы, которую я придумал, я решил сделать тиристорный регулятор немного сложнее, чем требовалось. Это не сработает здесь, вы можете использовать это в другом месте, в другом месте.
JLCPCB, всего $2 за прототип печатной платы! Любой цвет!
Подпишитесь и получите два купона на $5 каждый:https://jlcpcb.com/cwc
_________________
Глобализм, нет.
Глобализация – это смерть суверенных государств.
Независимым может считаться только то государство, которое санкционировано торговцами дрянной демократией и их пособниками.
Сборка печатных плат от $30 + БЕСПЛАТНАЯ доставка по всему миру + шаблон
Модули Navigator позволяют значительно сократить время проектирования оборудования. Во время вебинара 17 ноября вы сможете узнать о новых семействах Teseo-LIV3x, Teseo-VIC3x и Teseo-LIV4F. Вы узнаете, как легко добавить функцию позиционирования с повышенной точностью с помощью двухдиапазонного приемника и навигационной функции MEMS-датчика.
Работайте в Teseo Suite и смотрите результаты полевых испытаний.
_________________
Глобализм – нет.
Глобализация – это смерть суверенных государств.
Независимой может считаться только та страна, которая была санкционирована агитаторами дерьмократии и их пособниками.
Компания Infineon выпустила семейство 40-вольтовых МОП-транзисторов OptiMOS 5. Эти транзисторы относятся к категории MOSFET нормального уровня и имеют более высокое пороговое напряжение (по сравнению с другими низковольтными MOSFET) для обеспечения защиты от ложных срабатываний в условиях повышенного шума.
_________________
Я еще не думал о подписи.
Схема хороша и нужна в гараже и лесу, но щетки в заголовке статьи – это пустая трата времени. многие люди даже не посмотрят туда.
Я бы не стал строить их на Ку202н, они слишком дубовые и слишком большие для 2 трамвайных остановок. Они открыты в сифу ток THM199 транзюк для гальваноразвязки 2 тиристора хотя в этой схеме, вроде бы, это не нужно, но можно без выбора запихать любую хрень из металлолома и наплевать на симметрию 0 и сделать сифу узел 1 (хочет на 2т117 как в паромном стартере СССР) стоит симистор ТС112-40) хочет 2 инлайн cou2xx из Муморки
Добавлено спустя 1 минуту 37 секунд:
кстати, почему это в ремонте.
_________________
Мудрость (опыт и выносливость) приходит с годами.
Все ваши беды и проблемы связаны с недостатком знаний.
Мудрый человек может учиться у дурака, а дурак может учиться у …
Альберт Эйнштейн не поможет, ВВП не спасется, а МЧС опоздает.
Так что теперь Дураки и Толеранты умирают по пятницам!
_________________
Мудрость (опыт и стойкость) приходит с годами.
Все ваши беды и проблемы – от недостатка знаний.
Мудрый человек может учиться у дурака, а дурак может учиться у …
Альберт Эйнштейн не поможет, ВВП не спасет, а МЧС опоздало.
Так что теперь Дураки и Толерантные умирают по пятницам!
Последний раз редактировалось Николай Петрович Tue Sep 26, 2017 11:07:12 am, всего редактировалось 1 раз.
Часовой пояс: UTC + 3 часа
Кто в настоящее время находится на форуме
Сейчас этот форум просматривают: нет зарегистрированных пользователей или гостей: 16
Электродвигатель асинхронного типа – это устройство переменного тока, в котором напряжение находится в роторе.
Основной задачей тока ротора является создание крутящего момента посредством электромагнитной индукции, возникающей от магнитного поля обмотки статора.
Теория В. Голика
Данная реализация основана на запуске двигателя с помощью имеющихся цепей. Силовая часть электрического выключателя, которая используется для коммутации, состоит из следующих сильных компонентов
- два диода: VD 1 и 2;
- тиристоры: VS 1 и 2.
Все эти части соединены с помощью простой мостовой схемы. Однако в данной схеме эти элементы выполняют другую функцию – они реализуют шунтирование обмотки подключенного двигателя через свои “руки” из одного диода и одного транзистора. Это происходит, когда устройство достигает параметров амплитуды синусоиды, показанных на диаграмме. Эта комбинация образует электронный двунаправленный триггер, который реагирует на гармонические волны во время работы. Они бывают двух типов:
- положительный;
- отрицательный.
VD диоды 3 и 4 используются для реализации импульсного напряжения с двумя полупериодами.
Этот сигнал передается непосредственно на схемы управления. Он ограничен и дополнительно стабилизирован резистором R1 и стабилизатором VD5.
Сигналы на открытие тиристоров электрического переключателя поступают от двухполюсных транзисторов, на рисунке обозначенных VT 1 и 2. Переменный резистор R7, номиналом 10 кОм, выполняет важную функцию регулирования момента открытия тиристора.
Когда его регулятор находится в положении начального сопротивления, электроагрегат будет работать даже при самом низкоамплитудном напряжении, которое имеет место в обмотке “В”.
Наличие на входе наибольшего резистора R7 позволяет деактивировать ключ. Схема активируется, когда положение вышеуказанного движка резистора соответствует наибольшему сдвигу фазы тока между катушками.
Запуск схемы довольно прост – ползунок R7 нужно перевести в положение, полностью соответствующее наибольшему сдвигу фаз токов между катушками. Затем контроллер изменяет режим работы, определяя таким образом наиболее стабильный режим работы, который напрямую зависит от уровня приложенной нагрузки и мощности двигателя.
Приводы с различными номиналами взаимозаменяемы и широко представлены на внутреннем рынке.
Силовые компоненты системы, рассчитанные на работу с маломощными двигателями, могут быть спроектированы без радиаторов охлаждения в конструкции. Когда распределители работают на максимальной мощности, требуется теплоотвод.
Электроагрегаты питаются от сети 220 В. Отдельные компоненты должны быть тщательно изолированы и защищены от случайного контакта. Соблюдение мер безопасности – еще один важный аспект реализации соединения, который необходимо соблюдать.
Рекомендуется к использованию – установка стартера не вызовет никаких проблем. В результате при подключении двигатель запускается с максимальной мощностью и практически без потери мощности, в отличие от стандартной схемы с использованием конденсатора.
Определение схемы электропроводки
Прежде чем выбрать конкретную схему подключения электродвигателя 220 В, необходимо определить, какое у него соединение обмоток и при каких номиналах он вообще может работать.
Для этого выполните следующие действия:
- Найдите и проанализируйте паспорт двигателя.
Паспорт содержит всю важную информацию, например, обозначение типа соединения ∆ – дельта или звезда – Yмощность, количество оборотов, напряжение (220 или 380 или 220/380) и возможность подключения по определенной схеме.
- Откройте клеммную коробку и проверьте на практике правильность схемы..
Начало и конец каждого витка подписывается в соответствии с вышеуказанной числовой номенклатурой. Пользователю остается проверить на схеме перемычек, является ли соединение звездой или треугольником.
Обратите внимание! Если на заводской табличке (информационном листе) имеется следующий знак Y и только 380 В, то при подключении двигателя в треугольник обмотка сгорит. Только профессиональные электрики могут перевести такой двигатель на 220 В. Поэтому нет никакого резона его модифицировать, тем более что сейчас существует множество агрегатов, способных работать в альтернативном режиме – как на 220, так и на 380 В.
Открытие окна терминала Источник pikabu.ru
Для двигателя мощностью 1,1 кВт достаточно конденсатора емкостью 80 мкФ. В нашем случае мы используем 4 штуки емкостью 20 мкФ. Мы соединяем их вместе с помощью паяных перемычек. Они будут выполнять функцию запуска и дальнейшей работы.
Трехфазный двигатель в однофазной цепи без конденсаторовПринципиальная схема
Принципиальная схема
Наткнувшись на эту схему в Интернете, человек будет очень рад. Кстати, это решение было впервые опубликовано в 1967 году.
Стоимость невелика, так почему бы не попробовать создать устройство, которое обеспечит бесперебойное подключение асинхронного трехфазного двигателя к однофазной сети. Но прежде чем вооружиться паяльником, следует ознакомиться с отзывами и комментариями.
Теоретически схема верна, но на практике она обычно не работает. Возможно, требуется более тщательная настройка. Невозможно утверждать это однозначно или дать гарантию. Большинство участников форума считают, что установка такого устройства – пустая трата времени, хотя некоторые утверждают обратное.![]()
Из этого аргумента можно сделать следующие выводы:
- схема может работать с двигателем мощностью до 2,2 кВт и скоростью вращения 1 500 об/мин
- большие потери мощности на валу двигателя;
- схема требует тщательной опции задающей цепи C1R7, которую нужно настроить так, чтобы напряжение на конденсаторе открывало и закрывало ключ, скорее всего перестали работать транзисторы ключа, для этого нужно заменить резистор R6 или один из R3R4;
- Более надежными способами подключения трехфазного двигателя к однофазной сети являются конденсаторы или частотный преобразователь.
Эта схема была усовершенствована в 1999 г. Были усовершенствованы две простые схемы для работы трехфазного двигателя в однофазной сети без конденсаторов.
Оба были протестированы на электродвигателях мощностью от 0,5 до 2,2 кВт и показали неплохие результаты (время запуска немного больше, чем в трехфазном режиме).
В целях экономии средств можно подключить трехфазный двигатель с помощью современных схем.
В этих схемах используются симисторы, которые управляются импульсами разной полярности, и симметричный диод, который создает управляющие сигналы в течение каждого полупериода напряжения питания.
Цепь №1 для низкоскоростных двигателей
Он предназначен для запуска электродвигателя с номинальной скоростью вращения, равной или менее 1500 об/мин. Обмотки этих двигателей соединены в треугольник. Фазовращатель в этой схеме представляет собой специальную цепь.
Изменяя сопротивление, мы получаем напряжение на конденсаторе, смещенное от основного напряжения питания на определенный угол.
Ключевым элементом в этой схеме является симметричный диод. Когда напряжение на конденсаторе достигает уровня, при котором диод переключается, заряженный конденсатор подключается к управляющему контакту симистора.
В этот момент активируется двунаправленный переключатель питания.
Цепь № 2 для высокоскоростных электрических машин
Он необходим для пуска электродвигателей с номинальной скоростью вращения 3000 об/мин и двигателей, работающих на механизмах со значительным моментом пускового сопротивления.
В этих случаях требуется более высокий пусковой момент. По этой причине был изменен способ подключения обмотки двигателя для получения максимального пускового момента. В этой схеме фазосдвигающие конденсаторы заменены парой электронных переключателей.
Первый ключ подключается последовательно с фазной обмоткой и создает индуктивный сдвиг тока в цепи. Второй подключен параллельно фазной обмотке и создает опережающее емкостное смещение тока в фазной обмотке.
Эта схема учитывает обмотки двигателя, смещенные в пространстве относительно друг друга на 120 электрических градусов.
Регулировка заключается в определении оптимального угла сдвига тока в фазных обмотках, при котором двигатель надежно запускается.
Эта операция может быть выполнена без использования специального оборудования.
Процесс осуществляется следующим образом. Двигатель приводится в действие ручным стартером ПНВС-10, центральный полюс которого подключен к цепи сдвига фаз.
Контакты центрального полюса замыкаются только при нажатии кнопки пуска.
При нажатии этой кнопки выбирается необходимый пусковой момент путем вращения двигателя с помощью триммера. То же самое относится и к другим схемам.
Емкость конденсатора для трехфазного двигателя
Подбор конденсатора для трехфазного двигателя
Наши сети электропитания созданы трехфазными. Потому что генераторы, работающие на электростанциях, имеют трехфазные обмотки и вырабатывают три синусоидальных напряжения, сдвинутых по фазе относительно друг друга на 120°.
Но мы чаще всего пользуемся всего одной фазой — проводим себе один фазный провод из трех и все к нему подключаем. Только в технике нашей часто встречаются электродвигатели, и они по природе своей трехфазны. Ну а фаза от фазы чем отличается? Только сдвигом во времени. Сдвига такого очень просто добиться, включив в цепь питания реактивные элементы: емкости или индуктивности.
Но ведь обмотка на статоре сама и является индуктивностью. Поэтому остается добавить к двигателю снаружи только емкость, конденсатор, а обмотки подключить так, чтобы одна из них в другой сдвигала фазу в одну сторону, а конденсатор в третьей делал то же самое, только в другую.
И получатся те же самые три фазы, только «вынутые» из одной фазы питающих проводов.
Последнее обстоятельство означает, что мы нагружаем трехфазным двигателем только одну из фаз приходящего питания. Разумеется, это вносит дисбаланс в потребление энергии. Поэтому все-таки лучше, когда трехфазный двигатель питается трехфазным напряжением, а построить цепь его питания от одной приходящей фазы хорошо, только если мощность двигателя не особо велика.
Включение трехфазного электродвигателя в однофазную сеть питания
Обмотки электродвигателя соединяют двумя способами: звезда (Y) или треугольник (Δ).
При подключении трехфазного двигателя к однофазной сети предпочтительнее соединение типа треугольник. На шильдике двигателя об этом есть информация, и когда там обозначено Y — звезда, самым лучшим вариантом было бы открыть его кожух, найти концы обмоток и правильно переключить обмотки в треугольник. Иначе потери мощности будут слишком большими.
Включение двигателя на одну фазу питающей сети требует создания из нее и двух остальных.
Это можно сделать по следующей схеме
При запуске двигателя в работу в самом начале требуется высокий стартовый ток, поэтому емкости рабочего конденсатора обычно не хватает. Чтобы «ему помочь», используют специальный стартовый конденсатор, который подключается к рабочему конденсатору параллельно. В самом простом случае (невысокая мощность двигателя) его выбирают точно таким же, как и рабочий. Но для этой цели выпускаются и специально стартовые конденсаторы, на которых так и написано: starting.
Стартовый конденсатор должен быть включен в работу только во время пуска и разгона двигателя до рабочей мощности. После этого его отключают. Используется кнопочный выключатель. Или двойной: одной клавишей включается сам двигатель и кнопка фиксируется во включенном положении, кнопка же, замыкающая цепь рабочего конденсатора, каждый раз размыкается.
Как подобрать конденсатор
Конденсаторы для трехфазного двигателя нужны достаточно большой емкости — речь идет о десятках и сотнях микрофарад.
Однако конденсаторы электролитические для этой цели не годятся. Они требуют подключения однополярного, то есть специально для них придется городить выпрямитель из диодов и сопротивлений. Кроме того, со временем в электролитических конденсаторах высыхает электролит и они теряют емкость. Поэтому если будете ставить такой на двигатель, необходимо делать на это скидку, а не верить тому, что на них написано. Ну и еще одно за ними числится: электролитические конденсаторы имеют свойство иногда взрываться.
Поэтому задачу, как выбрать конденсатор под трехфазный двигатель, часто решают в несколько этапов
Сначала подбираем приблизительно. Надо рассчитать емкость конденсатора по простейшему соотношению как 7 мкФ на каждые 100 ватт мощности. То есть 700 ватт дает нам 49 мкФ первоначально. Емкость выбираемого пускового конденсатора берется в диапазоне 1–3-кратного превышения емкости рабочего конденсатора. Выберите 2*50 = 100 мкФ — будет само то. Ну, для начала можно взять побольше, потом подобрать конденсаторы, ориентируясь на работу двигателя.
От емкости конденсаторов зависит реальная мощность движка. Если ее мало, двигатель при тех же оборотах потеряет мощность (обороты не зависят от мощности, а только от частоты напряжения), так как ему будет не хватать тока. При чрезмерной емкости конденсаторов у него будет перегрев от избытка тока.
Нормальная работа двигателя, без шума и рывков — это неплохой критерий правильно выбранного конденсатора. Но для большей точности можно сделать расчет конденсаторов по формулам, а такую проверку оставить на потом в качестве окончательного подтверждения успешности результатов подбора конденсаторов.
Однако надо все-таки подключить конденсаторы.
Подключение пускового и рабочего конденсаторов для трехфазного электромотора
Вот оно соответствие всех нужных приборов элементам схемы
Теперь выполним подключение, внимательно разобравшись с проводами
Так можно подключить двигатель и предварительно, используя неточную прикидку, и окончательно, когда будут подобраны оптимальные значения.
Подбор можно сделать и экспериментально, имея несколько конденсаторов разных емкостей. Если их присоединять параллельно друг другу, то суммарная емкость будет увеличиваться, при этом нужно смотреть, как ведет себя двигатель. Как только он станет работать ровно и без перенагрузки, значит, емкость находится где-то в районе оптимума. После этого приобретается конденсатор, по емкости равный этой сумме емкостей испытываемых конденсаторов, включенных параллельно. Однако можно при таком подборе измерять фактический потребляемый ток, используя измерительные токовые клещи, а провести расчет емкости конденсатора по формулам.
Как рассчитать емкость рабочего конденсатора
Для двух соединений обмоток берутся несколько разные соотношения.
В формуле введен коэффициент соединения Кс, который для треугольника равен 4800, а для звезды — 2800.
Где значения Р (мощность), U (напряжение 220 В), η (КПД двигателя, в процентном значении деленном на 100) и cosϕ (коэффициент мощности) берутся с шильдика двигателя.
Вычислить значение можно с помощью обычного калькулятора или воспользовавшись чем-то вроде подобной вычислительной таблицы. В ней нужно подставить значения параметров двигателя (желтые поля), результат получается в зеленых полях в микрофарадах
Однако не всегда есть уверенность, что параметры работы двигателя соответствуют тому, что написано на шильдике. В этом случае нужно измерить реальный ток измерительными клещами и воспользоваться формулой Cр = Кс*I/U.
Расчет конденсатора для двигателя
Как подобрать конденсатор для трехфазного электродвигателя
Задаваясь вопросом: как подобрать конденсатор для трехфазного электродвигателя, нужно принять во внимание ряд параметров.
Чтобы подобрать емкость для рабочего конденсатора, необходимо применить следующую расчетную формулу: Сраб.=k*Iф / U сети, где:
- k – специальный коэффициент, равный 4800 для подключения «треугольник» и 2800 для «звезды»;
- Iф – номинальное значение тока статора, это значение обычно указывается на самом электродвигателе, если же оно затерто или неразборчиво, то его измеряют специальными клещами;
- U сети – напряжение питания сети, т.
е. 220 вольт.
Таким образом вы рассчитаете емкость рабочего конденсатора в мкФ.
Еще один вариант расчета – принять во внимание значение мощности двигателя. 100 Ватт мощности соответствуют примерно 7 мкФ емкости конденсатора. Осуществляя расчеты, не забывайте следить за значением тока, поступающего на фазную обмотку статора. Он не должен иметь большего значения, чем номинальный показатель.
В случае, когда пуск двигателя производится под нагрузкой, т.е. его пусковые характеристики достигают максимальных величин, к рабочему конденсатору добавляется пусковой. Его особенность заключается в том, что он работает примерно в течение трех секунд в период пуска агрегата и отключается, когда ротор выходит на уровень номинальной частоты вращения. Рабочее напряжение пускового конденсатора должно быть в полтора раза выше сетевого, а его емкость – в 2,5-3 раза больше рабочего конденсатора. Чтобы создать необходимую емкость, вы можете подключить конденсаторы как последовательно, так и параллельно.
Итак, как подобрать конденсатор для однофазного электродвигателя?
Чаще всего значение общей емкости Сраб+Спуск (не отдельного конденсатора) таково: 1 мкФ на каждые 100 ватт.
Есть несколько режимов работы двигателей подобного типа:
- Пусковой конденсатор + дополнительная обмотка (подключаются на время запуска). Емкость конденсатора: 70 мкФ на 1 кВт мощности двигателя.
- Рабочий конденсатор (емкость 23-35 мкФ) + дополнительная обмотка, которая находится в подключенном состоянии в течение всего времени работы.
- Рабочий конденсатор + пусковой конденсатор (подключены параллельно).
Если вы размышляете: как подобрать конденсатор к электродвигателю 220в, стоит исходить из пропорций, приведенных выше. Тем не менее, нужно обязательно проследить за работой и нагревом двигателя после его подключения. Например, при заметном нагревании агрегата в режиме с рабочим конденсатором, следует уменьшить емкость последнего. В целом, рекомендуется выбирать конденсаторы с рабочим напряжением от 450 В.
Как выбрать конденсатор для электродвигателя – вопрос непростой. Для обеспечения эффективной работы агрегата нужно чрезвычайно внимательно рассчитать все параметры и исходить из конкретных условий его работы и нагрузки.
Пусковой конденсатор
Ознакомьтесь также с этими статьями
- Напыляемый пенополиуретан (ППУ)
- Складной стол своими руками
- Расчет сечения кабеля по мощности
- Силиконовый герметик
Стоит отметить, что на небольших электродвигателях, используемых для бытовых нужд, например, для электроточила на 200-400 Вт, можно не использовать пусковой конденсатор, а обойтись одним рабочим конденсатором, я так делал уже не раз — рабочего конденсатора вполне хватает. Другое дело, если электродвигатель стартует со значительной нагрузкой, то тогда лучше использовать и пусковой конденсатор, который подключается параллельно рабочему конденсатору нажатием и удержанием кнопки на время разгона электродвигателя, либо с помощью специального реле.
Расчет емкости пускового конденсатора осуществляется путем умножения емкостей рабочего конденсатора на 2-2.5, в данном калькуляторе используется 2.5.
При этом стоит помнить, что по мере разгона асинхронному двигателю требуется меньшая емкость конденсатора, т.е. не стоит оставлять подключенным пусковой конденсатор на все время работы, т.к. большая емкость на высоких оборотах вызовет перегрев и выход из строя электродвигателя.
Соединение конденсаторов
В электрических цепях нередко производят подключения, состоящие из нескольких конденсаторов, имеющих разные типы соединений.
Последовательное соединение
Если левая пластина первого конденсатора несет заряд со знаком «плюс», правая из-за электростатической индукции получит его со знаком «минус». При этом он будет смещен от левой обкладки второго конденсатора, что, в свою очередь, положительно зарядит ее и т. д.
Последовательное соединение конденсаторных элементов
Напряжение, приложенное к общей емкости конденсаторов, будет складываться из напряжений на каждом из них:
а для всей батареи последовательных элементов:
то q/С = q/С1 + q/С2 + q/С3.
Количество электричества в последовательной цепи одинаково, значит допустимо разделить обе части уравнения на q.
Рассчитать емкость элементов, собранных в последовательную цепь, можно по формуле:
1/С = 1/С1 + 1/С2 + 1/С3 + …
Важно! Величина, обратная суммарной емкости конденсаторных элементов, соединенных в последовательную цепь, составляет сумму обратных величин емкостей отдельных компонентов.
Параллельное соединение
Когда емкость конденсаторов мала, они включаются параллельно. Как рассчитать общую емкость такой цепи, определяется теми же зависимостями, но с учетом того, что напряжение на конденсаторных пластинах будет одинаковым:
Параллельное соединение конденсаторных элементов
Количество электричества на каждом конденсаторе составит:
q1 = V x C1, q2 = V x C2, q3 = V x C3.
Общий заряд конденсаторной батареи:
q = q1 + q2 + q3 = V/C1 + V/C2 + V/C3 = V x (C1 + C2 + C3), а С = С1 + С2 + С3.
Важно! При параллельном соединении конденсаторных элементов каждый из них подключен на полное напряжение электроцепи, а общая емкость суммируется.
В сети есть сайты, имеющие калькулятор для расчета конденсатора при разных конфигурациях электросхемы, а также позволяющих определить емкость, задавая свои структурные параметры, как для плоских, так и для цилиндрических элементов.
Расчет конденсатора для электродвигателя
Трехфазный электромотор можно подключить к однофазной линии, которая позволит управлять им с помощью конденсатора. При этом надо произвести расчет емкости конденсатора.
Чтобы узнать значение в микрофарадах, которое нужно получить от конденсаторного элемента, и найти оптимальный пусковой момент в однофазной линии, надо знать технические характеристики мотора.
Схемы включения электромотора с конденсатором
- Активная мощность определяется:
Р = √3 x V x I x соsφ.
Она может быть указана на таблице, прикрепленной к мотору. Напряжение – 220 В в однофазном режиме. Величина соsφ также указывается производителем (обычно для электродвигателей соsφ = 0,8-0,85).
- Отсюда можно найти силу тока:
I = P/(√3 x V x соsφ).
- Емкость конденсатора для соединенных звездой двигательных обмоток Сраб = 4800 x I /V, для соединенных в Δ – Сраб = 2800 x I/V;
- Для пускового конденсаторного элемента Спуск = 2,5 С.
Сетевой калькулятор онлайн производит и такой тип расчетов. Для этого вводятся параметры электромотора и питающей сети, в результате получается емкостное значение.
Расчет параметров конденсатора онлайн
Не знаю как Вам, а мне никогда не нравилось работать и вычислять ёмкости конденсаторов. Больше всего раздражало наличие в исходных данных, ёмкостей в разных номиналах, в пикофарадах, в нанофарадах, микрофарадах. Их приходилось переводить в Фарады, что влекло за собой глупейшие ошибки в расчетах.
Конденсатор — в принципе это любая конструкция, которая может сохранять накопленный электрический потенциал. Если же эта конструкция, не только хранит электроэнергию, но и генерирует её, то это уже источник электропитания и никак не конденсатор.
Конструкция конденсаторов может быть любой, но чаще всего в практике используется плоский конденсатор, состоящий из двух проводящих пластин, между которыми находится какой либо диэлектрик.
Это связано с тем, что расчет ёмкости такого конденсатора ведется по известной формуле и простотой его создания. Свернув такой плоский конденсатор в рулон, мы получаем, что при фактическом скромном размере «рулона», там находится плоский конденсатор, длиной в десятки сантиметров и обладающий повышенной ёмкостью.
Емкости конденсаторов некоторых форм известны, и мы дальше их рассмотрим.
Но хотелось бы заметить, что на наш взгляд, потенциал развития конденсаторов до конца не завершен. Ведь форма конструкции какого либо конденсатора может быть любая, материалы из которого сделаны обкладки или диэлектрический слой тоже могут быть любыми в пределах таблицы Менделеева. Единственная сложность, это невозможность теоретически просчитать потенциальную ёмкость, новосозданного (другой конструкции) конденсатора. Это усложняет нахождение самой лучшей конструкции конденсатора.
Есть хорошая книга по рассмотрению электрической ёмкости различных фигур. Для любопытных рекомендую поискать на просторах Интернета: Расчет электрической ёмкости в авторстве Ю.
Я.Иоселль 1981 года
Данный бот рассчитывает параметры типовых форм конденсаторов. Отличие от других калькуляторов, присутствующих в интернете, это возможность задавать параметры, которые Вам известны, для того что бы рассчитать остальные.
И последнее нововведение, которое вы можете использовать. Вам не обязательно придется переводить заданные данные в метры, фарады и т.д. Достаточно обозначить размерность данных.
Например, если ёмкость известна и равно 100 пикофарад, то боту можно так и написать c=100пикофарад или с=100пФ, бот сам переведет в Фарады.
Результат, тоже будет выдан оптимально визуальному восприятию пользователя.
Это стало возможно с созданием бота Система единиц измерения онлайн
Плоский конденсатор. Параметры
Ёмкость плоского конденсатора
Относительная диэлектрическая проницаемость
Как подобрать и подключить конденсатор для трехфазного двигателя
К каждому объекту изначально подается трехфазный ток. Основная причина заключается в использовании на электростанциях генераторов с трехфазными обмотками, сдвинутыми по фазе между собой на 120 градусов и вырабатывающими три синусоидальных напряжения.
Однако при дальнейшем распределении тока потребителю подводится только одна фаза, к которой и подключается все имеющееся электрооборудование.
Иногда возникает необходимость в использовании нестандартных устройств, поэтому приходится решать задачу, как подобрать конденсатор для трехфазного двигателя. Как правило, требуется рассчитать емкость данного элемента, обеспечивающего устойчивую работу агрегата.
Принцип подключения трехфазного устройства к одной фазе
Во всех квартирах и большинстве частных домов все внутреннее энергоснабжение осуществляется по однофазным сетям. В этих условиях иногда необходимо выполнить подключение трехфазного двигателя к однофазной сети. Эта операция вполне возможна с физической точки зрения, поскольку отдельно взятые фазы различаются между собой лишь сдвигом по времени. Подобный сдвиг легко организовать путем включения в цепь любых реактивных элементов – емкостных или индуктивных. Именно они выполняют функцию фазосдвигающих устройств когда используются рабочего и пускового элементов.
Следует учитывать то обстоятельство, что обмотка статора сама по себе обладает индуктивностью. В связи с этим, вполне достаточно снаружи двигателя подключить конденсатор с определенной емкостью. Одновременно, обмотки статора соединяются таким образом, чтобы первая из них сдвигала фазу другой обмотки в одну сторону, а в третьей обмотке конденсатор выполняет эту же процедуру, только в другом направлении. В итоге образуются требуемые фазы в количестве трех, добытые из однофазного питающего провода.
Таким образом, трехфазный двигатель выступает в качестве нагрузки лишь для одной фазы подключенного питания. В результате, в потребляемой энергии образуется дисбаланс, отрицательно влияющий на общую работу сети. Поэтому такой режим рекомендуется использовать в течение непродолжительного времени для электродвигателей небольшой мощности. Подключение обмоток в однофазную сеть может быть выполнено двумя способами – звездой или треугольником.
Схемы подключения трехфазного двигателя к однофазной сети
Когда трехфазный электродвигатель планируется включать в однофазную сеть, рекомендуется отдавать предпочтение соединению треугольником.
Об этом предупреждает информационная табличка, закрепленная на корпусе. В некоторых случаях здесь стоит обозначение «Y», что означает соединение звездой. Рекомендуется переподключить обмотки по схеме треугольника, чтобы избежать больших потерь мощности.
Электродвигатель включается в одну из фаз однофазной сети, а две другие фазы создаются искусственным путем. Для этого используется рабочий (Ср) и пусковой конденсатор (Сп). В самом начале запуска двигателя необходим высокий уровень стартового тока, который не может быть обеспечен одним лишь рабочим конденсатором. На помощь приходит стартовый или пусковой конденсатор, подключаемый параллельно с рабочим конденсатором. При незначительной мощности двигателя их показатели равны между собой. Специально выпускаемые стартовые конденсаторы имеют маркировку «Starting».
Эти устройства работают только в периоды пуска, для того чтобы разогнать двигатель до нужной мощности. В дальнейшем он выключается с помощью кнопочного или двойного выключателя.
Виды пусковых конденсаторов
Небольшие электродвигатели, мощность которых не превышает 200-400 ватт, могут работать без пускового устройства. Для них вполне достаточно одного рабочего конденсатора. Однако при наличии значительных нагрузок на старте, обязательно используются дополнительные пусковые конденсаторы. Он подключается параллельно с рабочим конденсатором и в период разгона удерживается во включенном положении с помощью специальной кнопки или реле.
Для расчета емкости пускового элемента необходимо умножить емкость рабочего конденсатора на коэффициент, равный 2 или 2,5. В процессе разгона двигатель требует емкость все меньше и меньше. В связи с этим, не стоит держать пусковой конденсатор постоянно включенным. Высокая емкость при больших оборотах приведет к перегреву и выходу из строя агрегата.
В стандартную конструкцию конденсатора входят две пластины, расположенные напротив друг друга и разделенные слоем диэлектрика. При выборе того или иного элемента, необходимо учитывать его параметры и технические характеристики.
Все конденсаторы представлены тремя основными видами:
- Полярные. Не могут работать с электродвигателями, подключенными к переменному току. Разрушающийся слой диэлектрика может привести к нагреву агрегата и последующему короткому замыканию.
- Неполярные. Получили наибольшее распространение. Могут работать в любых вариантах включения за счет одинакового взаимодействия обкладок с диэлектриком и источником тока.
- Электролитические. В этом случае электроды представляют собой тонкую оксидную пленку. Они могут достигать максимально возможной емкости до 100 тыс. мкФ, идеально подходят к двигателям с низкой частотой.
Выбор конденсатора для трехфазного двигателя
Конденсаторы, предназначенные для трехфазного мотора, должны иметь достаточно высокую емкость – от десятков до сотен микрофарад. Электролитические конденсаторы не годятся для этих целей, поскольку для них требуется однополярное подключение. То есть, специально для этих устройств потребуется создание выпрямителя с диодами и сопротивлениями.
Постепенно в таких конденсаторах происходит высыхание электролита, что приводит к потере емкости. Кроме того, в процессе эксплуатации данные элементы иногда взрываются. Если все же решено использовать электролитические устройства, нужно обязательно учитывать эти особенности.
Классическим примеров служат элементы, представленные на рисунке. Слева изображен рабочий конденсатор, а справа – пусковой.
Подбор конденсатора для трехфазного двигателя выполняется опытным путем. Емкость рабочего устройства выбирается из расчета 7 мкФ на 100 Вт мощности. Следовательно, 600 Вт будет соответствовать 42 мкФ. Пусковой конденсатор как минимум в 2 раза превышает емкость рабочего. Таким образом 2 х 45 = 90 мкФ будет наиболее подходящим показателем.
Выбор осуществляется постепенно, исходя из работы двигателя, поскольку его реальная мощность напрямую зависит от емкости используемых конденсаторов. Кроме того, это можно сделать по специальной таблице. При недостатке емкости двигатель будет терять свою мощность, а при ее избытке наступит перегрев от чрезмерного тока.
Если конденсатор выбран правильно, то двигатель будет работать нормально, без рывков и посторонних шумов. Более точно подбираем устройство путем расчетов, выполняемых по специальным формулам.
Расчет емкости
Емкость конденсатора для электродвигателя рассчитывается исходя из схемы соединения обмоток – звездой или треугольником.
В обоих случаях применяется общая расчетная формула: Сраб = к х Iф/Uсети, к которой все параметры имеют следующие обозначения:
- к – является специальным коэффициентом. Его значение составляет 2800 для схемы «звезда» и 4800 для схемы «треугольник».
- Iф – номинальный ток статора, указанный на информационной табличке. При невозможности прочтения, выполняются измерения с помощью специальных измерительных клещей.
- Uсети – напряжение питающей сети, величиной в 220 вольт.
Подставив все необходимые значения, можно легко рассчитать, какая емкость будет у рабочего конденсатора (мкФ).
Во время расчетов необходимо учитывать ток, поступающий к фазной обмотке статора. Он не должен превышать номинальное значение, точно так же, как нагрузка двигателя с конденсатором должна быть не выше 60-80% номинальной мощности, обозначенной на информационной табличке.
Как подключить пусковой и рабочий конденсаторы
На рисунке указана простейшая схема подключения пускового и рабочего элементов. Первый из них устанавливается сверху, а второй – снизу. Одновременно к двигателю подключается кнопка включения и выключения. Самое главное – внимательно разобраться с проводами, чтобы не перепутать концы.
Данная схема позволяет выполнить предварительную проверку с неточной прикидкой. Она же используется и после окончательного выбора наиболее оптимального значения.
Такой подбор осуществляется экспериментальным путем с использованием нескольких конденсаторов разной емкости. При параллельном подключении их суммарная мощность будет увеличиваться. В это время нужно контролировать работу двигателя.
Если работа устойчивая и ровная, в этом случае можно покупать конденсатор с емкостью, равной сумме емкостей проверочных элементов.
{SOURCE}
Стартер трехфазного двигателя | Ручные пускатели двигателей
У нас есть 3-фазный пускатель двигателя, необходимый для правильной работы.
Рекомендуемый продукт
Ручной пускатель электродвигателя, размер NEMA M-0, кнопка оператора, класс защиты NEMA 1, количество требуемых термальных элементов 3, ток 18 А переменного тока, количество полюсов 3, описание/особенности Надежная защита от перегрузки, макс. Напряжение 600 В переменного тока, л.с., 3 фазы — 240 В, 3 л.с., л.с., 3 фазы — 480 В, 5 л.с., высота 8,63 дюйма, ширина 5,0 дюйма, глубина 3,91 дюйм, л.с., 3 фазы — 460-575 В 5 л.с., л.с., 3 фазы — 575 В, 5 л.с., стандарты CSA, UL, контрольная лампа нет
Посмотреть полную информацию о продукте
$332,25
Ручной пускатель электродвигателя, размер NEMA M-0, кнопка оператора, класс защиты NEMA 1, количество требуемых термальных элементов 3, ток 18 А переменного тока, количество полюсов 3, описание/особенности Надежная защита от перегрузки, макс.
Напряжение 600 В переменного тока, л.с., 3 фазы — 240 В, 3 л.с., л.с., 3 фазы — 480 В, 5 л.с., высота 8,63 дюйма, ширина 5,0 дюйма, глубина 3,91 дюйм, л.с., 3 фазы — 460-575 В 5 л.с., л.с., 3 фазы — 575 В, 5 л.с., стандарты CSA, UL, контрольная лампа нет
Посмотреть полную информацию о продукте
Купить 3-фазный пускатель двигателя
Магнитный пускатель двигателя NEMA, настройка тока реле перегрузки от 0,33 до 1,65 А, напряжение катушки 480 В перем. тока, корпус NEMA Rating 4X, форма вспомогательного контакта 1НЗ/1НО, 3-фазный л.с. — 240 В 1 1/2 л.с., 3-фазный л.с. — 480 В 2 л.с., тип пускателя NEMA, действие нереверсивное, Гц 50/60, количество полюсов 3, ампер переменного тока 9, NEMA Size 00, ширина 9,84 дюйма, оснащен твердотельным реле перегрузки, HP при 1 фазе — 120 В 1/3 л.с., включает твердотельное реле перегрузки, HP при 1 фазе — 230 В 1 л.с., HP при 3 фазах — 575 В 3 л.
с.
Посмотреть полную информацию о продукте
$808,98
Магнитный пускатель двигателя NEMA, настройка тока реле перегрузки от 0,33 до 1,65 А, напряжение катушки 480 В перем. тока, корпус NEMA Rating 4X, форма вспомогательного контакта 1НЗ/1НО, 3-фазный л.с. — 240 В 1 1/2 л.с., 3-фазный л.с. — 480 В 2 л.с., тип пускателя NEMA, действие нереверсивное, Гц 50/60, количество полюсов 3, ампер переменного тока 9, NEMA Size 00, ширина 9,84 дюйма, оснащен твердотельным реле перегрузки, HP при 1 фазе — 120 В 1/3 л.с., включает твердотельное реле перегрузки, HP при 1 фазе — 230 В 1 л.с., HP при 3 фазах — 575 В 3 л.с.
Посмотреть полную информацию о продукте
Магнитный пускатель двигателя, размер NEMA 2, ампер 45 А переменного тока, напряжение катушки 24 В переменного тока, класс защиты NEMA без корпуса, л.
с. при 3 фазах — 240 В 15 л.с., л.с. при 3 фазах — 480 В 25 л.с., действие нереверсивное, количество полюсов 3, HP при 3 фазах — 208 В 10 л.с., HP при 3 фазах — 575 В 25 л.с., высота 7,81 дюйма, ширина 4,31 дюйма, глубина 4,94 дюйма, внесен в список стандартов UL/сертифицирован CSA
Посмотреть полную информацию о продукте
1 194,90 долл. США
Магнитный пускатель двигателя, размер NEMA 2, ампер 45 А переменного тока, напряжение катушки 24 В переменного тока, класс защиты NEMA без корпуса, л.с. при 3 фазах — 240 В 15 л.с., л.с. при 3 фазах — 480 В 25 л.с., действие нереверсивное, количество полюсов 3, HP, 3 фазы — 208 В, 10 л.с., HP, 3 фазы — 575 В, 25 л.с., высота 7,81 дюйма, ширина 4,31 дюйма, глубина 4,94 дюйма, стандарты Внесены в список UL/сертифицированы CSA
Посмотреть полную информацию о продукте
Корпус пускателя двигателя, пластиковый, тип корпуса NEMA 12, для использования с контакторами Dayton IEC на 25 А
Посмотреть полную информацию о продукте
33,19 $
Корпус пускателя двигателя, пластиковый, тип корпуса NEMA 12, для использования с контакторами Dayton IEC на 25 А
Посмотреть полную информацию о продукте
Магнитный пускатель двигателя, размер NEMA 00, ампер 9 А переменного тока, напряжение катушки 120 В переменного тока, корпус Рейтинг NEMA Без корпуса, л.
с., 3 фазы — 240 В, 1 1/2 л.с., л.с., 3 фазы — 480 В, 2 л.с., действие нереверсивное, количество Полюсов 3, HP, 3 фазы — 208 В, 1 1/2 л.с., HP, 3 фазы — 575 В, 2 л.с., высота 6,77 дюйма, ширина 3,5 дюйма, глубина 4,22 дюйма, стандарты Внесены в список UL/сертифицированы CSA
Посмотреть полную информацию о продукте
330,32 $
Магнитный пускатель двигателя, размер NEMA 00, 9 ампер переменного токаA, напряжение катушки 120 В перем. тока, корпус Рейтинг NEMA Без корпуса, л.с., 3 фазы — 240 В, 1 1/2 л.с., л.с., 3 фазы — 480 В, 2 л.с., действие нереверсивное, количество полюсов 3, л.с., 3 фазы — 208 В 1 1 /2 л.с., 3 фазы л.с., 575 В 2 л.с., высота 6,77 дюйма, ширина 3,5 дюйма, глубина 4,22 дюйма, стандарты Внесены в список UL/сертифицированы CSA
Посмотреть полную информацию о продукте
Магнитный пускатель двигателя NEMA, настройка тока реле перегрузки от 1 до 16 А, напряжение катушки от 12 до 120 В переменного/постоянного тока, класс защиты корпуса NEMA 1, форма вспомогательного контакта 1НЗ/1НО, тип пускателя NEMA, действие нереверсивное, Гц 50/60, количество полюсов 1, 16 ампер переменного тока, размер NEMA 1, ширина 2,81 дюйма, функции ручной/выкл.
/автоматический режим, статус, запираемое отключение, регулируемая перегрузка в широком диапазоне, возможность монтажа на поверхности или заподлицо, HP @ 1 фаза — 120 В от 0,1 до 1 л.с., HP @ 1 фаза — 230В от 0,1 до 1 л.с., высота 4,98 дюймов, глубина 2,147 дюйма
Посмотреть полную информацию о продукте
280,80 $
Магнитный пускатель двигателя NEMA, настройка тока реле перегрузки от 1 до 16 А, напряжение катушки от 12 до 120 В переменного/постоянного тока, класс защиты корпуса NEMA 1, форма вспомогательного контакта 1НЗ/1НО, тип пускателя NEMA, действие нереверсивное, Гц 50/60, количество полюсов 1, 16 ампер переменного тока, размер NEMA 1, ширина 2,81 дюйма, функции ручной/выкл./автоматический режим, статус, запираемое отключение, регулируемая перегрузка в широком диапазоне, возможность монтажа на поверхности или заподлицо, HP @ 1 фаза — 120 В от 0,1 до 1 л.с., HP @ 1 фаза — 230В от 0,1 до 1 л.
с., высота 4,98 дюймов, глубина 2,147 дюйма
Посмотреть полную информацию о продукте
Ручной пускатель электродвигателя, размер NEMA M-1, кнопка оператора, класс защиты корпуса NEMA 1, количество необходимых термопар 3, ток 30 А переменного тока, количество полюсов 3, описание/особенности Надежная защита от перегрузки, макс. Напряжение 600 В переменного тока, л.с., 3 фазы — 240 В, 7 1/2 л.с., л.с., 3 фазы — 480 В, 10 л.с., высота 8,63 дюйма, ширина 5,0 дюйма, глубина 3,91 дюйма, л.с., 3 фазы — 460–575 В, 10 л.с., л.с. 3 фазы — 575 В, 10 л.с., стандарты CSA, UL, сигнальная лампа Нет
Посмотреть полную информацию о продукте
$368,57
Ручной пускатель электродвигателя, размер NEMA M-1, кнопка оператора, класс защиты корпуса NEMA 1, количество необходимых термопар 3, ток 30 А переменного тока, количество полюсов 3, описание/особенности Надежная защита от перегрузки, макс.
Напряжение 600 В переменного тока, л.с., 3 фазы — 240 В, 7 1/2 л.с., л.с., 3 фазы — 480 В, 10 л.с., высота 8,63 дюйма, ширина 5,0 дюйма, глубина 3,91 дюйма, л.с., 3 фазы — 460–575 В, 10 л.с., л.с. 3 фазы — 575 В, 10 л.с., стандарты CSA, UL, сигнальная лампа Нет
Посмотреть полную информацию о продукте
Магнитный пускатель двигателя, размер NEMA 0, ампер 18 А переменного тока, напряжение катушки 120 В переменного тока, корпус Рейтинг NEMA Без корпуса, л.с. при 3 фазах — 240 В 3 л.с., л.с. при 3 фазах — 480 В 5 л.с., действие нереверсивное, количество полюсов 3, HP, 3 фазы — 208 В, 3 л.с., HP, 3 фазы — 575 В, 5 л.с., высота 6,77 дюйма, ширина 4,53 дюйма, глубина 4,22 дюйма, стандарты Внесены в список UL/сертифицированы CSA
Посмотреть полную информацию о продукте
$514,81
Магнитный пускатель двигателя, размер NEMA 0, ампер 18 А переменного тока, напряжение катушки 120 В переменного тока, корпус Рейтинг NEMA Без корпуса, л.
с. при 3 фазах — 240 В 3 л.с., л.с. при 3 фазах — 480 В 5 л.с., действие нереверсивное, количество полюсов 3, HP, 3 фазы — 208 В, 3 л.с., HP, 3 фазы — 575 В, 5 л.с., высота 6,77 дюйма, ширина 4,53 дюйма, глубина 4,22 дюйма, стандарты Внесены в список UL/сертифицированы CSA
Посмотреть полную информацию о продукте
Магнитный пускатель двигателя, размер 2 NEMA, 45 А переменного тока, напряжение катушки 120 В переменного тока, класс защиты NEMA без корпуса, л.с., 3 фазы — 240 В, 15 л.с., л.с., 3 фазы — 480 В, 25 л.с., действие нереверсивное, количество полюсов 3, HP при 3 фазах — 208 В 10 л.с., HP при 3 фазах — 575 В 25 л.с., высота 7,81 дюйма, ширина 4,31 дюйма, глубина 4,94 дюйма, внесен в список стандартов UL/сертифицирован CSA
Посмотреть полную информацию о продукте
1097,12 долл.
США
Магнитный пускатель двигателя, размер NEMA 2, ампер 45 А переменного тока, напряжение катушки 120 В переменного тока, класс защиты NEMA без корпуса, л.с. при 3 фазах — 240 В 15 л.с., л.с. при 3 фазах — 480 В 25 л.с., действие нереверсивное, количество полюсов 3, HP, 3 фазы — 208 В, 10 л.с., HP, 3 фазы — 575 В, 25 л.с., высота 7,81 дюйма, ширина 4,31 дюйма, глубина 4,94 дюйма, стандарты Внесены в список UL/сертифицированы CSA
Посмотреть полную информацию о продукте
Змеевик, 110–120/220–240 В, подходит для марки Furnas, включает змеевик
Посмотреть полную информацию о продукте
190,64 $
Змеевик, 110–120/220–240 В, подходит для марки Furnas, включает змеевик
Посмотреть полную информацию о продукте
Ручной пускатель электродвигателя, размер NEMA M-0, кнопка оператора, класс защиты NEMA 1, количество требуемых термальных элементов 1, ток 18 А переменного тока, количество полюсов 2, описание/особенности Надежная защита от перегрузки, макс.
Напряжение 600 В переменного тока, высота 8,63 дюйма, ширина 5,0 дюйма, глубина 3,9 дюйма.5 дюймов, HP при 1 фазе — 120 В 1 л.с., HP при 1 фазе — 230 В 2 л.с., стандарты CSA, UL, сигнальная лампа Да
Посмотреть полную информацию о продукте
248,32 $
Ручной пускатель электродвигателя, размер NEMA M-0, кнопка оператора, класс защиты NEMA 1, количество требуемых термальных элементов 1, ток 18 А переменного тока, количество полюсов 2, описание/особенности Надежная защита от перегрузки, макс. Напряжение 600 В переменного тока, высота 8,63 дюйма, ширина 5,0 дюйма, глубина 3,9 дюйма.5 дюймов, HP при 1 фазе — 120 В 1 л.с., HP при 1 фазе — 230 В 2 л.с., стандарты CSA, UL, сигнальная лампа Да
Посмотреть полную информацию о продукте
Контактор, 120 В, 3 полюса, подходит для марки Furnas Siemens
Посмотреть полную информацию о продукте
$349,22
Контактор, 120 В, 3 полюса, подходит для марки Furnas Siemens
Посмотреть полную информацию о продукте
Еще из этой коллекции
Еще из этой коллекции
Узнайте больше
Таблица размеров пускателя для одно- и трехфазных двигателей
Таблица размеров пускателя для одно- и трехфазных двигателей
| Таблица размеров стартера двигателя — Для однофазных и трехфазных двигателей |
Пускатели двигателей |
СВЯЖИТЕСЬ С НАМИ ДЛЯ ПОМОЩИ ВАШЕМУ СТАРТЕРУ ДВИГАТЕЛЯ
МАКСИМАЛЬНАЯ МОЩНОСТЬ ОДНОФАЗНЫЕ ДВИГАТЕЛИ | ||
| РАЗМЕР NEMA | 115 Вольт | 230 Вольт |
00 | 1/3 | 1 |
0 | 1 | 2 |
1 | 2 | 3 |
1 1/2 | 3 | 5 |
2 | 7 | |
3 | 7 1/2 | |
15 | ||
Максимальная мощность в л. 3-ФАЗНЫЕ ДВИГАТЕЛИ | ||||||||||||
Полное напряжение Начиная с | Автотрансформатор Начиная с | Часть обмотки Начиная с | ЗВЕЗДА — Дельта Начиная с | |||||||||
НЭМА РАЗМЕР | 200 В | 230 В | 460В 575В | 200 В | 230 В | 460В 575В | 200 В | 230 В | 460В 575В | 200 В | 230 В | 460В 575В |
| 00 | 1,5 | 1,5 | 2 | — | — | — | — | — | — | — | — | — |
| 0 | 3 | 3 | 5 | — | — | — | — | — | — | — | — | — |
| 1 | 7,5 | 7,5 | 10 | 7,5 | 7,5 | 10 | 10 | 10 | 15 | 10 | 10 | 15 |
| 2 | 10 | 15 | 25 | 10 | 15 | 25 | 20 | 25 | 40 | 20 | 25 | 40 |
| 3 | 25 | 30 | 50 | 25 | 30 | 50 | 40 | 50 | 75 | 40 | 50 | 75 |
| 4 | 40 | 50 | 100 | 40 | 50 | 100 | 75 | 75 | 150 | 60 | 75 | 150 |
| 5 | 75 | 100 | 200 | 75 | 100 | 120 | 150 | 150 | 350 | 150 | 150 | 300 |
| 6 | 150 | 200 | 400 | 150 | 200 | 400 | — | 300 | 600 | 300 | 350 | 700 |
[Посетите наш сайт электронной коммерции: www.
SouthlandElectrical.com]
[Дом]
[Поиск] [Карта] [Контакты]
[Отказ от ответственности]
404 ОШИБКА WOODWEB
404 ОШИБКА ВУДВЕБ
| Поиск по всему сайту Поиск в каталоге продуктов Поиск в базе знаний Поиск по всем форумам Поиск по биржевому оборудованию Поиск биржи пиломатериалов Поиск вакансий Поиск объявлений Новости отрасли Поиск Аукционы, распродажи и специальные предложения Календарь событий поиска ———————— Поиск отдельных форумов Клеи Архитектурная мастерская Бизнес Изготовление шкафов САПР ЧПУ Пыль/Безопасность/Завод Отделка Лесное хозяйство Мебель Монтаж Ламинат/твердая поверхность Распиловка и сушка Обработка массивной древесины Добавленная стоимость Древесина Прод. Шпон ВУДнетВорк |
| Главная || Новые посетители | Карта сайта |
Извините. Скорее всего, вы ввели неверный адрес (URL) Список ссылок для навигации по сайту Все комментарии направляйте по адресу: Тип ошибки: 404 Меня интересует ………. Ресурсы Главная Видео – Знак Книжный магазин Пиломатериалы/древесина/разное Калькуляторы О WOODWEB Связаться с WOODWEB Пользовательское соглашение и условия Ссылка на Стать Каталог продукции Каталог продукции Работа Ламинирование и наплавка Пиломатериалы Машины -ЧПУ -Дверь -Оборудование -Производство дюбелей -Разное Молдинги Электроинструменты Планы и публикации Завод Распиловка Поставщики Инструменты Шпон Токарная обработка дерева Галереи Проект Форумы Последние сообщения со всех форумов |
66
95
6
54
1
е. 220 вольт.
с.
.. введенный вами адрес недоступен.