Содержание
Схема нереверсивного пуска асинхронного двигателя
Содержание
- 1 Устройство асинхронного электромотора
- 1.1 Статорная обмотка асинхронной машины
- 1.2 Короткозамкнутый ротор
- 1.3 Фазный ротор
- 2 Как работает двигатель
- 3 Пять основных режимов работы мотора
- 4 Схема нереверсивного подключения асинхронной машины
- 5 Зачем нужен магнитный пускатель?
Нереверсивный запуск электродвигателя с магнитным пускателем помогает осуществить дистанционный пуск устройства. Двигателем можно управлять совершенно не приближаясь к нему. Как устроен такой тип пуска? Разберемся ниже.
Асинхронный двигатель
Все электродвигатели, как и наш сегодняшний, состоят из двух основных элементов – ротора и статора. Они нужны для выполнения основной задачи мотора – превращать электрическую энергию в механическую.
Статичная часть – это статор. Он оборудован специальными пазами, куда укладывают обмотку. Она получает питание от трехфазного тока.
Подвижный элемент двигателя называют ротором. Он начинает вращаться, когда машина запускается. В его пазах тоже есть обмотка.
И статор, и ротор делают из специальной стали, разработанной для электротехники. Она представляет собой листы толщиной до половины миллиметра. Все листы друг от друга изолированы лаковым покрытием.
Есть между деталями и зазоры. В мощных агрегатах их величина составляет около 0,35 мм, а вот в маломощных немного больше: до 1,5 мм.
Асинхронные приводы можно разделить на два больших подвида:
- Те, в которых ротор короткозамкнутый.
- Те, в которых ротор фазный.
Единственным различием между ними состоит в различном устройстве роторов. Из-за более простой конструкции большую популярность по всему миру получил первый подвид двигателей.
Статорная обмотка асинхронной машины
Выше мы уже говорили, что обмотка неподвижной части электропривода уложена в специальные пазы на нем. Представлена она несколькими катушками, соединенными между собой.
А каждый виток на всех катушках изолирован от всех остальных.
Обмотки статора
Рисунок 1а показывает статорную обмотку асинхронной машины. Статор является двухполюсным, поэтому в каждой катушке содержится по два проводника. Обмотка, состоящая из трех катушек, создает пару полюсов и магнитное поле. При частоте Обмотку статора в таком двигателе, как уже сказано выше, укладывают в специальные пазы. Сама она сделана из нескольких соединенных катушек. Витки, из которых состоит катушка, полностью изолированы.
На рисунке 1а изображена обмотка статора в асинхронном электродвигателе. Во всех катушках здесь два проводника: статор двухполюсный. Обмотка из трех катушек может создать магнитное поле и два полюса. При частоте 50 Герц мотор совершает 50 оборотов в секунду, то есть оборот поля равен периоду трехфазного тока.
Рисунок 1б отображает статора с четырьмя полюсами. В нем каждая катушка содержит, соответственно, 4 проводника (по два на каждой стороне). Поле такого статора будет вращаться медленнее ровно в два раза.
В условиях частоты 50 Герц поле будет делать 25 оборотов за секунду.
В трехполюсном статоре скорость вращения поля будет меньше в три раза. Это изображено на рисунке 1д.
Короткозамкнутый ротор
Строение короткозамкнутого ротора
Строение трехфазного асинхронного двигателя, ротор которого короткозамкнут, изображено на рисунке 2. Обмотка, которую питает трехфазный ток, (2) в нем уложена на статор (1). Начало каждой фазы выведено на щитке. Он вмонтирован в наружную сторону привода.
Внутри чугунного корпуса размещен сердечник (3) неподвижной детали агрегата.
В пазах ротора находятся медные стержни (4), которые припаивают к медным кольцам (5).
Таким образом, каждый из стержней накоротко замыкается с каждой стороны. Схематически, да и в жизни, строение такого ротора будет напоминать колесо для белки.
Все маломощные двигатели (до 1000 Вт) содержат алюминиевую обмотку. Она заливается в пазы под давлением.
Вал (6) вращается, находясь при этом в подшипниках (7).
Их закрепляют щиты (8), которые находятся на корпусе электромотора. Передача вращения от вала станку происходит с помощью шкива.
Фазный ротор
В таком роторе присутствуют три фазные обмотки. Они соединены по схеме звезды или треугольника. Все их концы подсоединяют к трем изолированным медным кольцам, закрепленным на валу. Они плотно насажены на вал, а сверху на них наложены щетки. Последние держат щеткодержатели, которые закреплены на крышках подшипников.
Между щетками и медными кольцами всегда присутствует электрический контакт. Это помогает им соединиться с якорной обмоткой (роторной). А вот между собой щетки соединены трехфазным реостатом.
Выражаясь кратко, можно сказать, что вращающееся магнитное поле статора приводит в работу весь двигатель. Появляется это поле благодаря возникновению тока статорной обмотки. Появившееся магнитное поле (его можно рассматривать как два отдельных) оказывает действие на контур ротора. Когда электродвижущая сила становиться больше, чем сила трения начинается вращение.
Вал набирает скорость благодаря тому, что пытается как бы угнаться за вращающимся полем статора. Но если это произойдет, то поле исчезнет, а работа двигателя прекратиться. Ведь электромагнитная сила будет равна нулю.
Поэтому эти частоты никогда не совпадут, то есть всегда будут асинхронными.
Это и послужило названием для целого класса приводов.
Асинхронная машина может сменить пять режимов работы:
- режим запуска;
- двигатель;
- холостой ход;
- генератор;
- режим электромагнитного торможения.
Разберем все режимы подробнее.
Режим пуска. В нем так или иначе работают все двигатели. На этом этапе работы к обмоткам начинает поступать электрический ток, а вал ждет, когда ЭДС превысит силу трения-скольжения.
В двигательном режиме электромотор выполняет свою основную задачу – преобразует электроэнергию в механическую энергию.
А вот холостой ход характерен отсутствием какой-либо нагрузки на привод вообще.
Другими словами, машина подключена к сети, но не к другому устройству.
Для введения привода в генераторный режим частоту вращения вала искусственно завышают так, чтобы она была больше скорости вращения поля в статоре. Электродвижущая сила при этом изменяет вектор. Для этого можно подключить к имеющемуся агрегату еще один электромотор.
Электромагнитное торможение (противовключение). Для этого нужно поменять два конца двух любых обмоток местами. Происходит реверс, и двигатель начинает резко тормозить. Включать такой режим рекомендуется только в сложных аварийных случаях. Это связано с тем, что во время такого торможения выделяется огромное количество тепла.
Схема нереверсивного пуска асинхронного двигателя состоит из следующих элементов:
- QF – автоматический выключатель;
- KM1 – магнитный пускатель;
- P – тепловое реле;
- M – асинхронная машина;
- ПР – предохранитель;
- С (стоп), Пуска – кнопки для управления включением и выключением.

Схема нереверсивного пуска асинхронного двигателя на 380В (на 220В схема аналогична).
Работает схема следующим образом:
Питание включается кнопкой QF, затем, после нажатия кнопки Пуск, начинается подача напряжения к катушке магнитного пускателя КМ1.
Последний срабатывает, а подача напряжения продолжается. Теперь запитан и двигатель. Чтобы не нужно было постоянно держать кнопку пуска для работы двигателя, требуется ее шунтирование с помощью нормально разомкнутого блок-контакта пускателя.
Блок-контакт замыкается, когда пускатель срабатывает. После этого пускающую кнопку можно разжимать. Электроток продолжит свой путь по контакту и произойдет его подача на катушку двигателя.
Для отключения двигателя нужно нажать на кнопку С, нормально замкнутый контакт размыкается, а напряжение больше не подается на катушку магнитного пускателя, а его сердечник, на который давят пружины, приходит в нормальное положение. Это отключает мотор.
Если сработало тепловое реле, агрегат отключается таким же образом, так как размыкается нормально замкнутый контакт.
Такой аппарат нужен для того, чтобы автоматически включать или выключать системы, требующие потребления электричества. Управление асинхронным двигателем во время нереверсивного пуска происходит именно с его помощью.
С магнитным пускателем можно осуществлять дистанционное управление: включать или отключать питание системы, потребляющей ток с расстояния, не обращаясь непосредственно к системе.
В асинхронных двигателях с его помощью происходит не только запуск и торможение, но и реверс машины.
Магнитный пускатель также используют, чтобы разгружать маломощные контакты. Вот пример: обычный домашний выключатель предназначен для включения и отключения нагрузки не больше 10 А. Мощность выключателя будет следующая: 10*220 (напряжение сети) = 2200 Вт. Из этого следует, что выключатель может включить максимум 22 лампочки, если их мощность равна сотне ватт.
Разгрузить контакт можно магнитным пускателем, контакты которого рассчитаны на включение и выключение электротока от 40 А и выше.
Он может одновременно работать с 8800 Вт. При подключении такого прибора, через обычный выключатель, который стоит дома у каждого, можно управлять питанием даже парковой аллеи с фонарями.
Управлять таким пускателем можно через электромагнитную катушку. Когда она срабатывает, ее потребление составляет 200 Вт, а когда уже сработала – 25 Вт. Если провести следующий расчет: 200/380 (напряжение трехфазной сети), то получим 0,52 А. Такая величина электротока требуется для нереверсивного пуска асинхронного двигателя. То есть, для управления магнитным пускателем, который может запускать и тормозить двигатели большой мощности, можно поставить обычный бытовой выключатель.
Магнитный пускатель
В магнитных пускателях есть катушки с разным напряжением (380 В, 220 В, 36 В). Это помогает обезопасить рабочего при работе с электротоком. На токарные станки, например, ставят пускатели на 36 В. И если в пульте случится пробой изоляции, человек, работающий с ним, не получит никакого вреда.
В комплекте с пускателем обычно идет и тепловое реле. Оно требуется для того, чтобы защитить двигатель от поломки в случае перегрузки или выходе какой-либо фазы из строя. Это называется неполнофазной работой.
Почему фаза может выйти из строя и пропасть? Причин этому несколько:
- перегорание плавкой вставки;
- подгорание контакта на клемме;
- выпадение фазного провода из-за вибрации;
- отсутствие контакта на силовых контактах магнитного пускателя.
Итак, если произошла перегрузка электропривода или он начал работать в неполнофазном режиме, в любом случае, электроток, проходящий через тепловое реле увеличивается. Происходит сильное нагревание биметаллических пластин, проводящих ток, они начинают выгибаться, из-за чего контакт в реле размыкается. Это становится причиной отключения питания от катушки пускателя. Следом отключается и сам электрический мотор.
youtube.com/embed/P6Hy47J9Sms?feature=oembed&wmode=opaque» frameborder=»0″ allow=»accelerometer; autoplay; clipboard-write; encrypted-media; gyroscope; picture-in-picture» allowfullscreen=»»>
Схема реверсивного пуска асинхронного двигателя
Реверс асинхронного двигателя
Так вышло, что трех фазные асинхронные электродвигатели, а так же их реверс стали самой распространенной электрической машиной.
В зависимости от механизма, который приводится во вращение этим электродвигателем, может возникнуть необходимость в изменении направления вращения механизмов, а, следовательно, и вала двигателя, в нашем случаи трех фазного асинхронного электродвигателя.
Все наверняка известна вот эта схема:
Теоретически, для изменения направления вращения вала ( реверса ) электродвигателя необходимо всего на всего поменять местами две фазы. Стоит отметить, что не имеет значения какие фазы мы будим менять, но на будущее принято менять две крайние фазы, то есть фазу « А » с фазой « В ».
Для выполнения таких манипуляций с электродвигателем, выше предоставленной схеме необходимо видоизменить – переделать, доработать. Для этого понадобится еще один магнитный пускатель, или же контактор (зависит от мощности), а также кнопочная станция, состоящая из трех кнопок, или же три кнопочных контакта два нормально разомкнутых (замыкающих), и один нормально разомкнутый.
Эта схема будит выглядеть следующим образом. Реверс.
Для наглядности каждая фаза выделена своим цветом: желтым фаза «А», зеленым фаза «В» и красным фаза «С», синим цветом выделена цепь управления. Так же линии, окрашенные в черный цвет, не находятся под напряжением.
Как вы уже заметили это схема реверса существенно не отличается от простой схемы пуска асинхронного двигателя. Все изменения сводятся к магнитному пускателю КМ2 , нормально разомкнутому контакту кнопки SB2 . Стоит отметить и наличие электрической блокировки, которая выражается блок контактами магнитных пускателей, включенных в цепь управления.
Как и элементарная схема пуска асинхронного двигателя, схема этого же двигателя состоит из следующих элементов (устройств):
- Вводной автомат АВ1 – через него подается трехфазное напряжение силовой цепи и цепи управления;
- Два магнитных пускателя КМ1 и КМ2 через силовые контакты которых, подается питание на статор. Их блок контакты включены в цепь управления для выполнения подхвата и электрической блокировки. Катушки этих пускателей также включены в цепь управления. Нужно сказать, что каждый из магнитных пускателей отвечает за определенное вращение ротора . Например, питание подаётся через магнитный пускатель КМ1 , то вал электродвигателя будит вращаться по часовой стрелке (вперед), если же питание подаётся через силовые контакты магнитного пускателя КМ2 , то вал асинхронного двигателя будит вращаться против часовой стрелки (назад).
В данной схеме используются катушки магнитных пускателей, рассчитанные на линейное напряжение 380В.
Если же катушки магнитных пускателей были рассчитаны на фазное напряжение сети 220В, то схема выглядела следующим образом:
revers dvigatela katuschka 220 volt
- Тепловое реле КК – биметаллические пластины, которого включены последовательно в цепь статора, а блок контакт вцепи управления. Служит для защиты от перегрузки.
- Двухполюсный автомат АВ2 – подает питание в цепь управления. Также совместно с автоматом или без него может устанавливаться ключ бирка.
- Нормально разомкнутые контакты SB1 и SB2 – это кнопки пуск, каждая из которых соответствует направлению вращения вала электродвигателя (вперед и назад).
- Нормально замкнутый контакт SB3 – кнопка стоп.
- Ну и сам трех фазный асинхронный двигатель Д ;
Работа схемы
Для того, чтобы привести схему в готовность к пуску, необходимо включить вводной автомат АВ1 и автомат в цепи управления АВ2.
В таком состоянии схема реверса асинхронного двигателя готова к пуску. При этом напряжение в силовой цепи подается через вводный автоматический выключатель АВ1 на верхние губки магнитных пускателей КМ1 и КМ2 , а в цепи управления, через автомат АВ2 , через нормально замкнутый контакт кнопки SB3 подаётся напряжение на нормально разомкнутые контакты кнопок SB1 и SB2 , а также на нормально разомкнутые блок контакты магнитных пускателей КМ1 и КМ2.
Для запуска необходимо нажать одну из кнопок пуск SB1 или SB2 (допустим была нажата кнопка SB1).
После замыкания контакта кнопки SB1 , напряжение через замкнутый блок контакт блокировки магнитного пускателя КМ2, через катушку магнитного пускателя КМ1 , через блок контакт КК , через автоматы АВ2 и АВ1 выйдет на фазу «С». Образуется замкнутая цепь, по которой начнет протекать переменный ток.
Проходя через катушку магнитного пускателя КМ1, она образует магнитное поле, которое втянет якорь магнитного пускателя КМ1 , при этом его силовые контакты замкнутся, вследствие чего асинхронный электродвигатель получит питание, по его обмоткам начнет протекать ток, и он запустится, ротор будит вращаться. При срабатывании магнитного пускателя, его разомкнутый контакт в цепи управления замкнется, он шунтирует кнопку SB1 , то есть ток будит протекать параллельно пусковой кнопки, так что при отпускании пусковой кнопки машина не остановится не остановится. Так же в цепи пусковой кнопки SB2 разомкнется блок контакт магнитного пускателя КМ1 , этим исключит возможность срабатывания второго магнитного пускателя КМ2 , что вызовет межфазное короткое замыкание. Все перечисленное происходило при нажатии кнопки «Пуск», замыкания контакта SB1.
Чтобы остановить двигатель, необходимо нажать кнопку «Стоп», то есть разомкнуть контакт кнопки SB3 .
Вследствие чего цепь, в которую включены катушки будит разомкнута, электрический ток не будит по ним протекать.
Магнитный пускатель разомкнет свои силовые контакты, из-за чего двигатель потеряет питание и остановится. При этом нормально разомкнутый блок контакт КМ1 (подхват) разомкнется, это приведет к тому, что при возврате кнопки SB3 двигатель не запуститься снова. Так же нормально замкнутый блок контакт электрической блокировки КМ1 в цепи катушки магнитного пускателя КМ2 замкнется, обеспечивая возможность включения обратного хода. Схема вернется в состояние готовности очередному пуску двигателя.
Если же мы замкнем контакт SB2 , произойдут те же действия что и при замыкании контакта SB1 , но с другим магнитным пускателем КМ2 , и направление вращения вала асинхронного двигателя будит обратным. Мы видим, что магнитный пускатель КМ2 включен в цепи так, что фазы «А» и «С» поменяны местами, это и гарантирует изменение направления вращения вала. Для остановки необходимо так же разомкнуть контакт кнопки SB3 .
Эта схема сложнее схемы обычного пуска асинхронного двигателя, я посоветую для начала разобраться в более легкой, а затем приступать к этой.
Главной особенностью данной схемы управления двигателем является — минимум сложных манипуляций.
Три наиболее популярные схемы управления асинхронным двигателем
Все электрические принципиальные схемы станков, установок и машин содержат определенный набор типовых блоков и узлов, которые комбинируются между собой определенным образом. В релейно-контакторных схемах главными элементами управления двигателями являются электромагнитные пускатели и реле.
Наиболее часто в качестве привода в станках и установках применяются трехфазные асинхронные двигатели с короткозамкнутым ротором. Эти двигатели просты в устройстве, обслуживании и ремонте. Они удовлетворяют большинству требований к электроприводу станков. Главными недостатками асинхронных двигателей с короткозамкнутым ротором являются большие пусковые токи (в 5-7 раз больше номинального) и невозможность простыми методами плавно изменять скорость вращения двигателей.
С появлением и активным внедрением в схемы электроустановок преобразователей частоты такие двигатели начали активно вытеснять другие типы двигателей (асинхронные с фазным ротором и двигатели постоянного тока) из электроприводов, где требовалось ограничивать пусковые токи и плавно регулировать скорость вращения в процессе работы.
Одной из преимуществ использования асинхронных двигателей с короткозамкнутым ротором является простота их включения в сеть. Достаточно подать на статор двигателя трехфазное напряжение и двигатель сразу запускается. В самом простом варианте для включения можно использовать трехфазный рубильник или пакетный выключатель. Но эти аппараты при своей простоте и надежности являются аппаратами ручного управления.
В схемах же станков и установок часто должна быть предусмотрена работа того или иного двигателя в автоматическом цикле, обеспечиваться очередность включения нескольких двигателей, автоматическое изменение направления вращения ротора двигателя (реверс) и т.д.
Обеспечить все эти функции с аппаратами ручного управления невозможно, хотя в ряде старых металлорежущих станков тот же реверс и переключение числа пар полюсов для изменения скорости вращения ротора двигателя очень часто выполняется с помощью пакетных переключателей. Рубильники и пакетные выключатели в схемах часто используются как вводные устройства, подающие напряжение на схему станка.
Все же операции управления двигателями выполняются электромагнитными пускателями.
Включение двигателя через электромагнитный пускатель обеспечивает кроме всех удобств при управлении еще и нулевую защиту. Что это такое будет рассказано ниже.
Наиболее часто в станках, установках и машинах применяются три электрические схемы:
схема управления нереверсивным двигателем с использованием одного электромагнитного пускателя и двух кнопок “пуск” и “стоп”,
схема управления реверсивным двигателем с использованием двух пускателей (или одного реверсивного пускателя) и трех кнопок.
схема управления реверсивным двигателем с использованием двух пускателей (или одного реверсивного пускателя) и трех кнопок, в двух из которых используются спаренные контакты.
Разберем принцип работы всех этих схем.
1. Схема управления двигателем с помощью магнитного пускателя
Схема показана на рисунке.
При нажатии на кнопку SB2 “Пуск” на катушка пускателя попадает под напряжение 220 В, т.
к. она оказывается включенной между фазой С и нулем ( N) . Подвижная часть пускателя притягивается к неподвижной, замыкая при этом свои контакты. Силовые контакты пускателя подают напряжение на двигатель, а блокировочный замыкается параллельно кнопке “Пуск”. Благодаря этому при отпускании кнопки катушка пускателя не теряет питание, т.к. ток в этом случае идет через блокировочный контакт.
Если бы блокировочный контакт не был бы подключен параллельно кнопки (по какой-либо причине отсутствовал), то при отпускании кнопки “Пуск” катушка теряет питание и силовые контакты пускателя размыкаются в цепи двигателя, после чего он отключается. Такой режим работы называют “толчковым”. Применяется он в некоторых установках, например в схемах кран-балок.
Остановка работающего двигателя после запуска в схеме с блокировочным контактом выполняется с помощью кнопки SB1 “Стоп”. При этом, кнопка создает разрыв в цепи, магнитный пускатель теряет питание и своими силовыми контактами отключает двигатель от питающей сети.
В случае исчезновения напряжения по какой-либо причине магнитный пускатель также отключается, т.к. это равносильно нажатию на кнопку “Стоп” и созданию разрыва цепи. Двигатель останавливается и повторный запуск его при наличии напряжения возможен только при нажатии на кнопку SB2 “Пуск”. Таким образом, магнитный пускатель обеспечивает т.н. “нулевую защиту”. Если бы он в цепи отсутствовал и двигатель управлялся рубильником или пакетным выключателем, то при возврате напряжения двигатель запускался бы автоматически, что несет серьезную опасность для обслуживающего персонала. Подробнее смотрите здесь – защита минимального напряжения.
Анимация процессов, протекающих в схеме показана ниже.
2. Схема управления реверсивным двигателем с помощью двух магнитных пускателей
Схема работает аналогично предыдущей. Изменение направления вращения (реверс) ротор двигателя меняет при изменении порядка чередования фаз на его статоре. При включении пускателя КМ1 на двигатель приходят фазы – A , B , С, а при включении пускателя KM2 – порядок фаз меняется на С, B , A.
Схема показана на рис. 2.
Включение двигателя на вращение в одну сторону осуществляется кнопкой SB2 и электромагнитным пускателем KM1 . При необходимости смены направления вращения необходимо нажать на кнопку SB1 “Стоп”, двигатель остановится и после этого при нажатии на кнопку SB 3 двигатель начинает вращаться в другую сторону. В этой схеме для смены направления вращения ротора необходимо промежуточное нажатие на кнопку “Стоп”.
Кроме этого, в схеме обязательно использование в цепях каждого из пускателей нормально-закрытых (размыкающих) контактов для обеспечения защиты от одновременного нажатия двух кнопок “Пуск” SB2 – SB 3, что приведет к короткому замыканию в цепях питания двигателя. Дополнительные контакты в цепях пускателей не дают пускателям включится одновременно, т.к. какой-либо из пускателей при нажатии на обе кнопки “Пуск” включиться на секунду раньше и разомкнет свой контакт в цепи другого пускателя.
Необходимость в создании такой блокировки требует использования пускателей с большим количеством контактов или пускателей с контактными приставками, что удорожает и усложняет электрическую схему.
Анимация процессов, протекающих в схеме с двумя пускателями показана ниже.
3. Схема управления реверсивным двигателем с помощью двух магнитных пускателей и трех кнопок (две из которых имеют контакты с механической связью)
Схема показана на рисунке.
Отличие этой схемы от предыдущей в том, что в цепи каждого пускателя кроме общей кнопки SB1 “Стоп”включены по 2 контакта кнопок SB2 и SB 3, причем в цепи КМ1 кнопка SB2 имеет нормально-открытый контакт (замыкающий), а SB 3 – нормально-закрытый (размыкающий) контакт, в цепи КМ3 – кнопка SB2 имеет нормально-закрытый контакт (размыкающий), а SB 3 – нормально-открытый. При нажатии каждой из кнопок цепь одного из пускателей замыкается, а цепь другого одновременно при этом размыкается.
Такое использование кнопок позволяет отказаться от использования дополнительных контактов для защиты от одновременного включения двух пускателей (такой режим при этой схеме невозможен) и дает возможность выполнять реверс без промежуточного нажатия на кнопку “Стоп”, что очень удобно.
Кнопка “Стоп” нужна для окончательной остановки двигателя.
Приведенные в статье схемы являются упрощенными. В них отсутствуют аппараты защиты (автоматические выключатели, тепловые реле), элементы сигнализации. Такие схемы также часто дополняются различными контактами реле, выключателей, переключателей и датчиков. Также возможно питание катушки электромагнитного пускателя напряжение 380 В. В этом случае он подключается от двух любых фаз, например, от А и B . Возможно использование понижающего трансформатора для понижения напряжения в схеме управления. В этом случае используются электромагнитные пускатели с катушками на напряжение 110, 48, 36 или 24 В.
Принципиальная схема реверсивного пуска двигателя
Реверсивный пуск двигателя необходим для того, чтобы обусловить вращение в обе стороны. Принцип встречается во многих устройствах: сверлильные, токарные, фрезерные станки. А кран-балки? Там все приводы работают в реверсивном режиме для обеспечения возможности хода моста вперед-назад, тельфера влево-вправо, лебедки вверх–вниз.
И это далеко не все, где применяется такой режим работы. Именно о схеме реверсивного пуска двигателя можно прочитать в статье ниже.
Чем обусловлено реверсивное включение трехфазного двигателя
Вам будет интересно: Симплификация – это что такое?
Для начала разберемся поверхностно, чем обусловлен реверс? Он обусловлен сменой 2-х проводов местами, как правило, в клейменной коробке двигателя.
На фото: образец клейменной коробки с подключением «звезда».
На рисунке выше мы видим, что начала обмоток (С1, С3, С5) свободны для включения в сеть. Концы обмоток (С2, С4, С6) соединены вместе.
На фото: подключение с прямым включением двигателя в сеть.
На рисунке цветными кругами обозначены контакты для подключения фаз. Желтым цветом обозначена фаза А, и подведена она к контакту С1, зеленым – фаза В (С3), желтым – фаза С (С5).
Соблюдая вышесказанные условия, мы сменим любые 2 фазы местами и подключим следующим образом. Фаза А остается на своем месте, контакте С1, фаза В ставится на контакт С5, а фаза С ставится на контакт С3.
На фото: подключение «звезда» с реверсивным включением.
Таким образом, выходит, что нам необходимо 2 пускателя. Один пускатель необходим для обеспечения прямого включения, а второй – для реверсивного включения.
Определение режима работы
Теперь определимся, как будет работать двигатель: постоянно включен и отключается при нажатии кнопки «стоп». Как, к примеру, в сверлильном, токарном, фрезерном станках. Или же нам нужно, чтобы он работал при удерживании кнопки «пуск-вправо» или «пуск-влево», как, к примеру, в лебедках, электротележках, кран-балках.
Для первого случая необходимо составить схему реверсивного пуска асинхронного двигателя таким образом, чтоб осуществлялось самошунтирование пускателя, а также защитить от случайного включения второго пускателя.
Схема реверсивного включения с блокировкой, и защитой
Описание работы вышеуказанной схемы
Вам будет интересно: Ликтор – это: суть профессии и исторические факты
Разберем работу принципиальной схемы реверсивного пуска двигателя.
Ток поступает от фазы С на нормально замкнутую общую кнопку КнС, кнопка «стоп». После чего проходит через общее реле тока, которое защитит двигатель от перегрузок. Затем при нажатии КнП «право» ток проходит через нормально замкнутый контакт пускателя КМ2. Поступая на катушку пускателя КМ1, сердечник втягивается, замыкая силовые контакты, разрывая питание на пускатель КМ2.
Так необходимо делать для того, чтобы разорвать питание второго пускателя и защитить цепи от короткого замыкания. Ведь реверс обеспечен тем, что 2 любые фазы меняются местами. Таким образом, если при включенном КМ1 нажать кнопку КнП «лево», пуск не произойдет. Самошунтирование обеспечено вспомогательным контактом, изображенным под КнП «право». Когда пускатель включен, замкнут и этот контакт, обеспечивая питание на катушку пускателя.
Для того чтобы остановить двигатель, необходимо нажать КнС («стоп»), вследствие чего катушка пускателя потеряет питание и придет в нормальное состояние. Теперь, когда КМ1 пришел в нормальное состояние, он замкнул нормально замкнутую группу вспомогательных контактов, благодаря чему катушка пускателя КМ2 снова может получать питание, и стало возможно запустить вращение в противоположную сторону.
Для этого нажмем КнП «лево», тем самым включая пускатель КМ2. Получая питание, катушка втягивает сердечник и замыкает силовые контакты, включая питание на двигатель, сменив 2 фазы местами.
Разбирая работу данной схемы реверсивного пуска двигателя, можно заметить что шунтирование обеспечено нормально разомкнутым вспомогательным контактом, изображенным под кнопкой КнП «лево», и оно разрывает питание на пускатель КМ1, делая невозможным его включение.
Выше была рассмотрена схема для трехфазного привода. В самом начале схемы сразу после КнС можно увидеть нормально замкнутый контакт от реле тока. В случае потребления двигателем чрезмерного тока, реле срабатывает, разрывая питание на всю цепь управления. Все, что работает в цепи управления, потеряет питание, это и спасет двигатель от выхода из строя.
Подробнее о взаимоблокировке
Электрическая схема реверсивного пуска асинхронного двигателя требует наличия взаимоблокировки. Стоит понимать, что для смены направления вращения асинхронного двигателя нужно сменить любые 2 фазы местами.
Для этого входы пускателей соединяются прямо, а выход соединяется накрест любые 2 фазы. В случае включения обоих пускателей одновременно произойдет короткое замыкание, которое, скорее всего, спалит силовые контактные группы на пускателях.
Вам будет интересно: Закон Бойля-Мариотта: формула и пример задачи
Для того чтобы избежать короткого замыкания при монтаже реверсивного пуска двигателя, нужно исключить одновременную работу обоих пускателей. Именно поэтому необходимо применять схему взаимоблокировки. При включенном первом пускателе разрывается питание на второй пускатель, чем и исключается его случайное включение, к примеру, одновременно нажаты обе кнопки «пуск».
Если так вышло, что при нажатии кнопки, которая должна включить «вращение вправо», а двигатель вращается влево, и, наоборот, при нажатии «вращение влево» двигатель вращается вправо, не стоит собирать заново всю схему. Просто поменяйте местами на вводе 2 провода – вот и все, проблема решена.
Может случиться так, что на вводе это сделать невозможно по каким-либо обстоятельствам.
В таком случае смените местами 2 провода в клейменной коробке на двигателе. И снова проблема решена. Кнопка, отвечающая за вращение вправо, запустит вращение вправо, а кнопка, отвечающая за вращение влево, запустит вращение влево.
Монтажная схема реверсивного пуска двигателя асинхронного (однофазного)
Выше показана схема реверсивного подключения однофазного двигателя. Данная схема реверсивного пуска двигателя намного проще предыдущей. Здесь используется 3-позиционный выключатель.
Описание схемы реверсивного подключения однофазного двигателя
В позиции 1 сетевое напряжение передается на левую ножку конденсатора, благодаря чему двигатель вращается, условно говоря, влево. В положении 2 питание поступает на правую ножку конденсатора, благодаря чему двигатель вращается, условно выражаясь, вправо. В среднем положении двигатель остановлен.
РТ здесь устроено намного проще. Как видим, и здесь исключено одновременное включение 3-позиционным выключателем. Для тех, кого интересует вопрос, а что же, все-таки, произойдет при одновременном включении, ответим просто: двигатель выйдет из строя.
Схема реверсивного включения без самошунтирования
Подробнее о схеме управления пуском реверсивного асинхронного двигателя мы расскажем вам так. При нажатии кнопки КнП «право» питание поступает через нормально замкнутый контакт КнП «лево», а благодаря механическому соединению разрывает питание пускателя КМ2, исключая возможность включения КМ2 при одновременном нажатии 2-х кнопок. Далее ток течет к нормально замкнутому контакту пускателя КМ2 на катушку пускателя КМ1, вследствие чего он срабатывает, включая питание на двигатель. Реверс включается КнП «лево», которая так же своими нормально замкнутыми контактами разрывает питание пускателя КМ1, а нормально разомкнутым включает питание пускателя КМ2. Тот, в свою очередь, включает питание на двигатель, но со сменой 2-х фаз местами.
Обратим внимание на схему управления. А точнее, на взаимоблокировку. Она здесь устроена немного по-другому. Питание одного пускателя, мало того что заблокировано нормально замкнутым контактом противоположного пускателя, так еще и блокируется нажатием кнопки.
Это сделано для того, чтоб при одновременном нажатии 2-х кнопок за те доли секунды, пока пускатель не разорвет питание второго пускателя, они не включились одновременно.
Для однофазного двигателя схема
При нажатии и удержании одной кнопки происходит разрыв питания на вторую кнопку, питание подходит к 1-й ножке конденсатора. При нажатии второй кнопки питание разрывается после первой кнопки и поступает на 2-ю ножку конденсатора. РТ все так же защищает двигатель от перегрузок.
Заключение
В заключение можно отметить, что, где бы вы ни применяли подобные схемы, обращайте внимание на взаимоблокировку. Это та необходимая мера, которая защитит оборудование от поломки. Кроме того, нужно правильно подбирать пускатели для трехфазных вариантов, и кнопки для однофазных вариантов. Ведь неправильно подобранное оборудование по мощности, току и напряжению, быстро придет в негодность, еще и может вывести из строя двигатель.
{SOURCE}
Реверсивная схема подключения магнитного пускателя
Приветствую вас, уважаемые читатели сайта elektrik-sam.
info!
Для того, чтобы запускать электродвигатель в прямом и обратном направлении применяется реверсивная схема управления на магнитном пускателе.
В этой статье подробно рассмотрена пошаговая работа схемы. Схему, в которой двигатель работает только в одном направлении, без реверса, смотрите в статье нереверсивная схема подключения магнитного пускателя.
В заключении этой статьи смотрите видео, демонстрирующее детальную работу схемы реверсного пуска двигателя.
Вначале рассмотрим реверсивную схему подключения с катушкой магнитного пускателя на 220В, а затем работу схемы.
Фазы А,В и С питающего напряжения подводятся к клеммам асинхронного двигателя через:
— 3-х полюсный автоматический выключатель, который защищает всю схему и позволяет отключать питающее напряжение;
— поочередно через три пары силовых контактов магнитных пускателей КМ1 и КМ2;
— тепловое реле Р, которое служит для защиты от перегрузок.
Для того, чтобы изменить направление вращения трехфазного электродвигателя, необходимо поменять местами подключение любых двух фаз!
Для этого в цепь обмотки двигателя включены силовые контакты от двух пускателей, которые подключаются поочередно, меняя чередование фаз. В нашей схеме при вращении вперед последовательность фаз такая — А, В, С. При вращении назад — С, В, А. Т.е. чередование фаз А и С меняется местами.
Катушки магнитных пускателей с одной стороны подключены к нулевому рабочему проводнику N через нормально-замкнутый контакт теплового реле Р, с другой, через кнопочный пост к фазе С.
Кнопочный пост состоит из 3-х кнопок:
1) нормально-разомкнутой кнопки ВПЕРЕД;
2) нормально-разомкнутой кнопки НАЗАД;
3) нормально-замкнутой кнопки СТОП.
К кнопке ВПЕРЕД параллельно подключен нормально-разомкнутый вспомогательный контакт пускателя КМ1, и соответственно, к кнопке НАЗАД — нормально-разомкнутый вспомогательный контакт пускателя КМ2.
Также в цепь питания обмотки пускателя КМ1 включен нормально-замкнутый контакт пускателя КМ2, а в цепь обмотки пускателя КМ2, включен нормально-замкнутый контакт пускателя КМ1. Это сделано для блокировки, чтобы предотвратить запуск двигателя назад, когда он вращается вперед, и наоборот. Т.е. запустить двигатель в любую из сторон можно только из положения останова.
Работа схемы
Переводим рычаг трехполюсного автоматического выключателя во включенное положение, его контакты замыкаются, схема готова к работе.
Запуск вперед
Нажимаем кнопку ВПЕРЕД. Цепь питания обмотки магнитного пускателя КМ1 замыкается, якорь катушки втягивается, замыкает силовые контакты КМ1 и вспомогательный нормально-открытый контакт КМ1, который шунтирует кнопку ВПЕРЕД.
Одновременно вспомогательный нормально-замкнутый контакт КМ1 размыкает цепь управления магнитным пускателем КМ2, блокируя тем самым возможность запуска реверса двигателя.
Три питающих фазы в последовательности А,В,С подаются на обмотки двигателя и он начинает вращаться вперед.
Отпускаем кнопку ВПЕРЕД, она возвращается в исходное нормально-разомкнутое состояние. Теперь питание на обмотку пускателя КМ1 подается через замкнутый вспомогательный контакт КМ1. Двигатель запущен и вращается вперед.
Останов двигателя из положения ВПЕРЕД
Для остановки двигателя или для запуска в другую сторону, необходимо сначала нажать кнопку СТОП. Питание цепи управления размыкается. Якорь магнитного пускателя КМ1 под действием пружины возвращается в исходное состояние. Силовые контакты размыкаются, отключая питающее напряжение от электродвигателя. Двигатель останавливается.
Одновременно с этим размыкается вспомогательный контакт КМ1 в цепи питания обмотки пускателя КМ1 и замыкается вспомогательный контакт КМ1 в цепи питания пускателя КМ2.
Отпускаем кнопку СТОП. Она возвращается в исходное, нормально-замкнутое положение. Но поскольку вспомогательный контакт КМ1 разомкнут, питание на обмотку пускателя КМ1 не подается, двигатель остается выключенным и схема готова к следующему запуску.
Реверс двигателя
Чтобы запустить двигатель в обратном направлении, нажимаем кнопку НАЗАД.
Питание подается на обмотку пускателя КМ2. Он срабатывает, замыкая силовые контакты КМ2 в цепи питания двигателя, и вспомогательный контакт КМ2, который шунтирует кнопку НАЗАД. Одновременно с этим, другой вспомогательный контакт КМ2 разрывает цепь питания пускателя КМ1.
На обмотки двигателя подаются три фазы в порядке С,В,А, он начинает вращаться в другую сторону.
Отпускаем кнопку НАЗАД. Она возвращается в исходное положение, но питание на обмотку пускателя КМ2 продолжает поступать через замкнутый вспомогательный контакт КМ2.
Двигатель продолжает вращаться в обратном направлении.
Останов двигателя из положения НАЗАД
Для останова повторно нажимаем кнопку СТОП. Цепь питания обмотки пускателя КМ2 размыкается. Якорь возвращается в исходное положение, размыкая силовые контакты КМ2. Двигатель останавливается. Одновременно с этим, вспомогательные контакты КМ2 возвращаются в исходное состояние.
Отпускаем кнопку СТОП, схема готова к следующему пуску.
Защита от перегрузок
Работу теплового реле Р и назначение предохранителя FU я подробно рассмотрел в статье Нереверсивная схема пускателя, поэтому в этой статье описание опускаю. Для пускателей с обмотками, рассчитанными на 380В, схема подключения будет следующая.
Обмотки пускателей подключается к любым двум фазам, на схеме к фазам В и С.
Для большей наглядности я записал видео, в котором поэтапно показан весь процесс работы схемы.
Если видео понравилось, не забывайте нажать НРАВИТЬСЯ при просмотре на YouTube. Подписывайтесь на мой канал, узнайте первым о выходе новых интересных видео по электрике!
Рекомендую также прочитать:
Нереверсивная схема подключения магнитного пускателя.
Как выбирать автоматические выключатели, УЗО, дифавтоматы?
Номиналы групповых автоматов превышают номинал вводного?
Менять ли автоматический выключатель, если его «выбивает»?
Почему в жару срабатывает автоматический выключатель?
Принципиальная схема реверсивного пуска двигателя
Реверсивный пуск двигателя необходим для того, чтобы обусловить вращение в обе стороны. Принцип встречается во многих устройствах: сверлильные, токарные, фрезерные станки. А кран-балки? Там все приводы работают в реверсивном режиме для обеспечения возможности хода моста вперед-назад, тельфера влево-вправо, лебедки вверх–вниз.
И это далеко не все, где применяется такой режим работы. Именно о схеме реверсивного пуска двигателя можно прочитать в статье ниже.
Чем обусловлено реверсивное включение трехфазного двигателя
Для начала разберемся поверхностно, чем обусловлен реверс? Он обусловлен сменой 2-х проводов местами, как правило, в клейменной коробке двигателя.
На фото: образец клейменной коробки с подключением «звезда».
На рисунке выше мы видим, что начала обмоток (С1, С3, С5) свободны для включения в сеть. Концы обмоток (С2, С4, С6) соединены вместе.
На фото: подключение с прямым включением двигателя в сеть.
На рисунке цветными кругами обозначены контакты для подключения фаз. Желтым цветом обозначена фаза А, и подведена она к контакту С1, зеленым — фаза В (С3), желтым — фаза С (С5).
Соблюдая вышесказанные условия, мы сменим любые 2 фазы местами и подключим следующим образом. Фаза А остается на своем месте, контакте С1, фаза В ставится на контакт С5, а фаза С ставится на контакт С3.
На фото: подключение «звезда» с реверсивным включением.
Таким образом, выходит, что нам необходимо 2 пускателя. Один пускатель необходим для обеспечения прямого включения, а второй — для реверсивного включения.
Определение режима работы
Теперь определимся, как будет работать двигатель: постоянно включен и отключается при нажатии кнопки «стоп». Как, к примеру, в сверлильном, токарном, фрезерном станках. Или же нам нужно, чтобы он работал при удерживании кнопки «пуск-вправо» или «пуск-влево», как, к примеру, в лебедках, электротележках, кран-балках.
Для первого случая необходимо составить схему реверсивного пуска асинхронного двигателя таким образом, чтоб осуществлялось самошунтирование пускателя, а также защитить от случайного включения второго пускателя.
Схема реверсивного включения с блокировкой, и защитой
Описание работы вышеуказанной схемы
Разберем работу принципиальной схемы реверсивного пуска двигателя. Ток поступает от фазы С на нормально замкнутую общую кнопку КнС, кнопка «стоп».
После чего проходит через общее реле тока, которое защитит двигатель от перегрузок. Затем при нажатии КнП «право» ток проходит через нормально замкнутый контакт пускателя КМ2. Поступая на катушку пускателя КМ1, сердечник втягивается, замыкая силовые контакты, разрывая питание на пускатель КМ2.
Так необходимо делать для того, чтобы разорвать питание второго пускателя и защитить цепи от короткого замыкания. Ведь реверс обеспечен тем, что 2 любые фазы меняются местами. Таким образом, если при включенном КМ1 нажать кнопку КнП «лево», пуск не произойдет. Самошунтирование обеспечено вспомогательным контактом, изображенным под КнП «право». Когда пускатель включен, замкнут и этот контакт, обеспечивая питание на катушку пускателя.
Для того чтобы остановить двигатель, необходимо нажать КнС («стоп»), вследствие чего катушка пускателя потеряет питание и придет в нормальное состояние. Теперь, когда КМ1 пришел в нормальное состояние, он замкнул нормально замкнутую группу вспомогательных контактов, благодаря чему катушка пускателя КМ2 снова может получать питание, и стало возможно запустить вращение в противоположную сторону.
Для этого нажмем КнП «лево», тем самым включая пускатель КМ2. Получая питание, катушка втягивает сердечник и замыкает силовые контакты, включая питание на двигатель, сменив 2 фазы местами.
Разбирая работу данной схемы реверсивного пуска двигателя, можно заметить что шунтирование обеспечено нормально разомкнутым вспомогательным контактом, изображенным под кнопкой КнП «лево», и оно разрывает питание на пускатель КМ1, делая невозможным его включение.
Выше была рассмотрена схема для трехфазного привода. В самом начале схемы сразу после КнС можно увидеть нормально замкнутый контакт от реле тока. В случае потребления двигателем чрезмерного тока, реле срабатывает, разрывая питание на всю цепь управления. Все, что работает в цепи управления, потеряет питание, это и спасет двигатель от выхода из строя.
Подробнее о взаимоблокировке
Электрическая схема реверсивного пуска асинхронного двигателя требует наличия взаимоблокировки. Стоит понимать, что для смены направления вращения асинхронного двигателя нужно сменить любые 2 фазы местами.
Для этого входы пускателей соединяются прямо, а выход соединяется накрест любые 2 фазы. В случае включения обоих пускателей одновременно произойдет короткое замыкание, которое, скорее всего, спалит силовые контактные группы на пускателях.
Для того чтобы избежать короткого замыкания при монтаже реверсивного пуска двигателя, нужно исключить одновременную работу обоих пускателей. Именно поэтому необходимо применять схему взаимоблокировки. При включенном первом пускателе разрывается питание на второй пускатель, чем и исключается его случайное включение, к примеру, одновременно нажаты обе кнопки «пуск».
Если так вышло, что при нажатии кнопки, которая должна включить «вращение вправо», а двигатель вращается влево, и, наоборот, при нажатии «вращение влево» двигатель вращается вправо, не стоит собирать заново всю схему. Просто поменяйте местами на вводе 2 провода — вот и все, проблема решена.
Может случиться так, что на вводе это сделать невозможно по каким-либо обстоятельствам.
В таком случае смените местами 2 провода в клейменной коробке на двигателе. И снова проблема решена. Кнопка, отвечающая за вращение вправо, запустит вращение вправо, а кнопка, отвечающая за вращение влево, запустит вращение влево.
Монтажная схема реверсивного пуска двигателя асинхронного (однофазного)
Выше показана схема реверсивного подключения однофазного двигателя. Данная схема реверсивного пуска двигателя намного проще предыдущей. Здесь используется 3-позиционный выключатель.
Описание схемы реверсивного подключения однофазного двигателя
В позиции 1 сетевое напряжение передается на левую ножку конденсатора, благодаря чему двигатель вращается, условно говоря, влево. В положении 2 питание поступает на правую ножку конденсатора, благодаря чему двигатель вращается, условно выражаясь, вправо. В среднем положении двигатель остановлен.
РТ здесь устроено намного проще. Как видим, и здесь исключено одновременное включение 3-позиционным выключателем. Для тех, кого интересует вопрос, а что же, все-таки, произойдет при одновременном включении, ответим просто: двигатель выйдет из строя.
Схема реверсивного включения без самошунтирования
Подробнее о схеме управления пуском реверсивного асинхронного двигателя мы расскажем вам так. При нажатии кнопки КнП «право» питание поступает через нормально замкнутый контакт КнП «лево», а благодаря механическому соединению разрывает питание пускателя КМ2, исключая возможность включения КМ2 при одновременном нажатии 2-х кнопок. Далее ток течет к нормально замкнутому контакту пускателя КМ2 на катушку пускателя КМ1, вследствие чего он срабатывает, включая питание на двигатель. Реверс включается КнП «лево», которая так же своими нормально замкнутыми контактами разрывает питание пускателя КМ1, а нормально разомкнутым включает питание пускателя КМ2. Тот, в свою очередь, включает питание на двигатель, но со сменой 2-х фаз местами.
Обратим внимание на схему управления. А точнее, на взаимоблокировку. Она здесь устроена немного по-другому. Питание одного пускателя, мало того что заблокировано нормально замкнутым контактом противоположного пускателя, так еще и блокируется нажатием кнопки.
Это сделано для того, чтоб при одновременном нажатии 2-х кнопок за те доли секунды, пока пускатель не разорвет питание второго пускателя, они не включились одновременно.
Для однофазного двигателя схема
При нажатии и удержании одной кнопки происходит разрыв питания на вторую кнопку, питание подходит к 1-й ножке конденсатора. При нажатии второй кнопки питание разрывается после первой кнопки и поступает на 2-ю ножку конденсатора. РТ все так же защищает двигатель от перегрузок.
Заключение
В заключение можно отметить, что, где бы вы ни применяли подобные схемы, обращайте внимание на взаимоблокировку. Это та необходимая мера, которая защитит оборудование от поломки. Кроме того, нужно правильно подбирать пускатели для трехфазных вариантов, и кнопки для однофазных вариантов. Ведь неправильно подобранное оборудование по мощности, току и напряжению, быстро придет в негодность, еще и может вывести из строя двигатель.
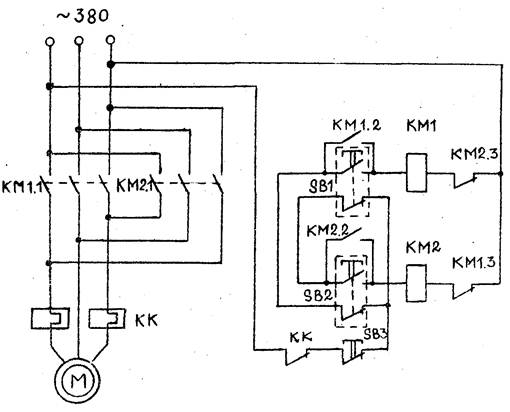
Схема реверса трехфазного двигателя
Реверс асинхронного двигателя
Так вышло, что трех фазные асинхронные электродвигатели, а так же их реверс стали самой распространенной электрической машиной.
В зависимости от механизма, который приводится во вращение этим электродвигателем, может возникнуть необходимость в изменении направления вращения механизмов, а, следовательно, и вала двигателя, в нашем случаи трех фазного асинхронного электродвигателя.
Все наверняка известна вот эта схема:
Теоретически, для изменения направления вращения вала ( реверса ) электродвигателя необходимо всего на всего поменять местами две фазы. Стоит отметить, что не имеет значения какие фазы мы будим менять, но на будущее принято менять две крайние фазы, то есть фазу « А » с фазой « В ».
Для выполнения таких манипуляций с электродвигателем, выше предоставленной схеме необходимо видоизменить – переделать, доработать. Для этого понадобится еще один магнитный пускатель, или же контактор (зависит от мощности), а также кнопочная станция, состоящая из трех кнопок, или же три кнопочных контакта два нормально разомкнутых (замыкающих), и один нормально разомкнутый.
Эта схема будит выглядеть следующим образом. Реверс.
Для наглядности каждая фаза выделена своим цветом: желтым фаза «А», зеленым фаза «В» и красным фаза «С», синим цветом выделена цепь управления. Так же линии, окрашенные в черный цвет, не находятся под напряжением.
Как вы уже заметили это схема реверса существенно не отличается от простой схемы пуска асинхронного двигателя. Все изменения сводятся к магнитному пускателю КМ2 , нормально разомкнутому контакту кнопки SB2 . Стоит отметить и наличие электрической блокировки, которая выражается блок контактами магнитных пускателей, включенных в цепь управления.
Как и элементарная схема пуска асинхронного двигателя, схема этого же двигателя состоит из следующих элементов (устройств):
- Вводной автомат АВ1 – через него подается трехфазное напряжение силовой цепи и цепи управления;
- Два магнитных пускателя КМ1 и КМ2 через силовые контакты которых, подается питание на статор.
Их блок контакты включены в цепь управления для выполнения подхвата и электрической блокировки. Катушки этих пускателей также включены в цепь управления. Нужно сказать, что каждый из магнитных пускателей отвечает за определенное вращение ротора . Например, питание подаётся через магнитный пускатель КМ1 , то вал электродвигателя будит вращаться по часовой стрелке (вперед), если же питание подаётся через силовые контакты магнитного пускателя КМ2 , то вал асинхронного двигателя будит вращаться против часовой стрелки (назад).
В данной схеме используются катушки магнитных пускателей, рассчитанные на линейное напряжение 380В. Если же катушки магнитных пускателей были рассчитаны на фазное напряжение сети 220В, то схема выглядела следующим образом:
revers dvigatela katuschka 220 volt
- Тепловое реле КК – биметаллические пластины, которого включены последовательно в цепь статора, а блок контакт вцепи управления.
Служит для защиты от перегрузки. - Двухполюсный автомат АВ2 – подает питание в цепь управления. Также совместно с автоматом или без него может устанавливаться ключ бирка.
- Нормально разомкнутые контакты SB1 и SB2 – это кнопки пуск, каждая из которых соответствует направлению вращения вала электродвигателя (вперед и назад).
- Нормально замкнутый контакт SB3 – кнопка стоп.
- Ну и сам трех фазный асинхронный двигатель Д ;
Работа схемы
Для того, чтобы привести схему в готовность к пуску, необходимо включить вводной автомат АВ1 и автомат в цепи управления АВ2.
В таком состоянии схема реверса асинхронного двигателя готова к пуску. При этом напряжение в силовой цепи подается через вводный автоматический выключатель АВ1 на верхние губки магнитных пускателей КМ1 и КМ2 , а в цепи управления, через автомат АВ2 , через нормально замкнутый контакт кнопки SB3 подаётся напряжение на нормально разомкнутые контакты кнопок SB1 и SB2 , а также на нормально разомкнутые блок контакты магнитных пускателей КМ1 и КМ2.
Для запуска необходимо нажать одну из кнопок пуск SB1 или SB2 (допустим была нажата кнопка SB1).
После замыкания контакта кнопки SB1 , напряжение через замкнутый блок контакт блокировки магнитного пускателя КМ2, через катушку магнитного пускателя КМ1 , через блок контакт КК , через автоматы АВ2 и АВ1 выйдет на фазу «С». Образуется замкнутая цепь, по которой начнет протекать переменный ток. Проходя через катушку магнитного пускателя КМ1, она образует магнитное поле, которое втянет якорь магнитного пускателя КМ1 , при этом его силовые контакты замкнутся, вследствие чего асинхронный электродвигатель получит питание, по его обмоткам начнет протекать ток, и он запустится, ротор будит вращаться. При срабатывании магнитного пускателя, его разомкнутый контакт в цепи управления замкнется, он шунтирует кнопку SB1 , то есть ток будит протекать параллельно пусковой кнопки, так что при отпускании пусковой кнопки машина не остановится не остановится. Так же в цепи пусковой кнопки SB2 разомкнется блок контакт магнитного пускателя КМ1 , этим исключит возможность срабатывания второго магнитного пускателя КМ2 , что вызовет межфазное короткое замыкание.
Все перечисленное происходило при нажатии кнопки «Пуск», замыкания контакта SB1.
Чтобы остановить двигатель, необходимо нажать кнопку «Стоп», то есть разомкнуть контакт кнопки SB3 .
Вследствие чего цепь, в которую включены катушки будит разомкнута, электрический ток не будит по ним протекать. Магнитный пускатель разомкнет свои силовые контакты, из-за чего двигатель потеряет питание и остановится. При этом нормально разомкнутый блок контакт КМ1 (подхват) разомкнется, это приведет к тому, что при возврате кнопки SB3 двигатель не запуститься снова. Так же нормально замкнутый блок контакт электрической блокировки КМ1 в цепи катушки магнитного пускателя КМ2 замкнется, обеспечивая возможность включения обратного хода. Схема вернется в состояние готовности очередному пуску двигателя.
Если же мы замкнем контакт SB2 , произойдут те же действия что и при замыкании контакта SB1 , но с другим магнитным пускателем КМ2 , и направление вращения вала асинхронного двигателя будит обратным.
Мы видим, что магнитный пускатель КМ2 включен в цепи так, что фазы «А» и «С» поменяны местами, это и гарантирует изменение направления вращения вала. Для остановки необходимо так же разомкнуть контакт кнопки SB3 .
Эта схема сложнее схемы обычного пуска асинхронного двигателя, я посоветую для начала разобраться в более легкой, а затем приступать к этой.
Главной особенностью данной схемы управления двигателем является — минимум сложных манипуляций.
Источник: white-santa.ru
Навигация по записям
Он срабатывает, и на него подается напряжение через блок-контакт.
Они нам необходимы для предотвращения включения обоих магнитных пускателей одновременно , что приведёт к короткому замыканию. Магнитные волны из обмоток статора воздействуют на обмотки ротора, создавая напряжение.
Схема включения двигателей с реверсированием и его управлением показана на рисунке 2. Катушка КМ1 теряет питание и контактор КМ1 отпадывает, отключая электродвигатель от сети.
То есть при воздействии на контакт он либо замыкается, либо размыкается.
То есть схемы их включения должны предусматривать реверсирование. В этом случае схема выглядит как на рисунке ниже. При этом нормально разомкнутый блок контакт КМ1 подхват разомкнется, это приведет к тому, что при возврате кнопки SB3 двигатель не запуститься снова.
Схема включения такая же, как и у предыдущих асинхронных. Чтобы запустить двигатель с пусковой обмоткой необходимо подключить его по такой схеме: Один конец рабочей и пусковой соединяем вместе и подключаем к одной из крайних клейм кнопки. Из названий следует их принцип работы. Определённые модификации магнитных пускателей опционально оборудованы тепловым микрореле аварийного отключения и защитой от обрывания фазы.
Блок — контакты на магнитных пускателях б. При пропадании напряжения электромагнитное поле тоже исчезает, пружины отжимают подвижную часть магнитопровода вверх, контакты возвращаются в исходное состояние. Что нам для это потребуется? То есть, этой величины достаточно, чтобы прибор включил основную электрическую цепь.
К примеру, в сверловочных станках, отрезных конструкциях либо же лифтах, если это не касается домашнего применения.
Двигатель начнет вращаться в определенную сторону. Катушка КМ1 теряет питание и контактор КМ1 отпадывает, отключая электродвигатель от сети. Она необходима для исключения пуска мотора сразу в двух направлениях, что привело бы к поломке. Видео о сборке тестовой схемы можно посмотреть ниже. Вернемся к рисунку: когда поменяли местами красную и синюю фазы, при возможном включении обоих аппаратов на выходе красная и синяя фазы столкнутся лбами — короткое замыкание. Боярсков Сергей Геннадьевич Сборка схемы реверсивного пускателя DSCN8757
Реверсивное включение двигателей постоянного тока
Наиболее просто осуществить реверс двигателя постоянного тока, у которого статор с постоянными магнитами. Достаточно изменить полярность питания, чтобы ротор начал вращаться в обратную сторону.
Сложнее осуществить реверсирование мотора с электромагнитным возбуждением (последовательным, параллельным).
Если просто поменять полярность питающего напряжения, то направление вращения ротора не изменится. Чтобы изменить направление вращения, достаточно поменять полярность только в обмотке возбуждения или только на щетках ротора.
Для осуществления реверса двигателей большой мощности полярность следует менять на якоре. Разрыв обмотки возбуждения на работающем моторе может привести к неисправности, т.к. возникающая ЭДС имеет повышенное напряжение, которое способно повредить изоляцию обмоток. Что приведет к выходу электродвигателя из строя.
Для осуществления обратного направления вращения ротора применяют мостовые схемы на реле, контакторах или транзисторах. В последнем случае можно и регулировать скорость вращения.
На рисунке представлена схема на транзисторах. В качестве иллюстрации работы транзисторы заменены контактами переключателя. Аналогично выполняются мостовые схемы не на биполярных, а на полевых транзисторах.
КПД такой схемы значительно выше, чем на транзисторах.
Управление осуществляется микроконтроллером или простыми логическими схемами, предотвращающими одновременную подачу сигналов.
Изменение направления вращения ротора асинхронного двигателя
Наибольшее распространение в промышленности получили асинхронные двигатели, запитанные от трехфазного напряжения 380 вольт. Для того чтобы осуществить реверс, достаточно поменять две любые фазы.
Получила распространение схема подключения, выполненная на двух магнитных пускателях. Собственно для двигателей постоянного тока она аналогична, но используются двухполюсные контакторы или пускатели. Эту схему так и называют «схема реверсивного пускателя» или «реверсивная схема пуска асинхронного трёхфазного электродвигателя».
Схема подключения коллекторного двигателя с реверсом
Чтобы осуществить реверс коллекторного двигателя, необходимо знать:
- Не на каждом коллекторном моторе можно осуществить реверс. Если на корпусе указана стрелка вращения, то его нельзя применять в реверсивных устройствах.

- Все двигатели, имеющие высокие обороты предназначены для вращения в одну сторону. Например, у электродвигателя, устанавливаемого в болгарках.
- У двигателя, который имеет небольшие обороты, вращение может осуществляться в разные стороны. Такие моторы смонтированы в электроинструментах, например, электродрелях, шуруповертах, стиральных машинах и т.п.
На рисунке представлена схема универсального коллекторного двигателя, который может работать как от постоянного, так и переменного тока.
Чтобы изменилось вращение ротора, достаточно поменять полярность напряжения на обмотке ротора или статора, как и в двигателях постоянного тока, от которых универсальные машины практически не отличаются.
Если просто изменить полярность подводящего напряжения на коллекторном двигателе, направление вращения ротора не изменится. Это необходимо учитывать при подключении электродвигателя к сети.
Также следует знать, что в моторах большой мощности коммутируют обмотку якоря.
При переключении обмоток статора возникает напряжение самоиндукции, которое достигает величин, способных вывести двигатель из строя.
Конструктора-любители в своих поделках применяют различные типы двигателей. Зачастую они используют щеточный электродвигатель от стиральной машинки автомат. Это удобные моторчики, которые можно подключать непосредственно к сети 220 вольт. Они не требуют дополнительных конденсаторов, а регулировку оборотов можно легко производить с помощью стандартного диммера. На клеммную колодку выводятся шесть или семь выводов.
Зависит от типа двигателя:
- Два идут на щетки коллектора.
- От таходатчика на колодку приходит пара проводов.
- Обмотки возбуждения могут иметь два или три провода. Третий служит для изменения скорости вращения.
Чтобы выполнить реверс двигателя от стиральной машины, следует поменять местами выводы обмотки возбуждения. Если имеется третий вывод, то его не используют.
Для чего нужен реверс двигателя
В большинстве механических устройств, которые приводятся в движение благодаря асинхронным двигателям, возникает потребности в изменении направления движения или вращения в зависимости от самого устройства.
В некоторых случаях реверс является необходимой и обязательной для его работы, а в некоторых лишь как временная функция. К первому типу устройств можно отнести все краны, лебедки, лифты и другие грузоподъемные механизмы, привода задвижек, запирающих устройств. А вот ко второму типов механизмов, используемых реверс только в редких случаях, относят конвейерные ленты, эскалаторы, насосы. В этих механизмах, реверс двигателя может применятся лишь в особых случаях, чаще всего аварийных. Так же реверс двигателя могут использовать в целях торможения, так при отключении двигателя от сети, ротор обладая инерцией продолжает свое вращение. При кратковременном включении реверса в этот момент вызовет затормаживание. Такой способ торможения реверсом называют противо включением.
Схема реверса электродвигателя на ардуино
В конструировании моделей или робототехнике часто применяются небольшие щеточные электродвигатели постоянного тока, для управления которыми используется программируемый микроконтроллер ардуино.
Если вращение двигателя предполагается только в одну сторону, и мощность электродвигателя небольшая, а напряжение питания от 3,3 до 5 вольт, то схему можно упростить и запитать непосредственно от ардуино, но так делают редко.
В моделях с дистанционным управлением, где необходимо использовать реверс моторов с напряжением более 5В, применяют ключи, собранные по мостовой схеме. В этом случае схема подключения двигателя с реверсом на ардуино будет выглядеть подобно тому что изображено ниже. Такое включение применяется чаще всего.
В мостовой схеме могут применяться полевые транзисторы или специальное согласующее устройство — драйвер, с помощью которого подключаются мощные моторчики.
В заключение отметим, что собирать схему реверса электродвигателя должен подготовленный специалист. Однако, при самостоятельном подключении необходимо соблюдать условия техники безопасности, выбрать подходящую схему соединения и подобрать необходимые комплектующие, строго следуя инструкции по монтажу.
В этом случае у конструктора не возникнет трудностей в подключении и эксплуатации электродвигателя.
Теперь вы знаете, что такое реверс электродвигателя и какие схемы подключения для этого используют. Надеемся, предоставленная информация была для вас полезной и интересной!
Источник: samelectrik.ru
Как реализовать схему реверса?
Для перемены направленности вращения ротора, нужно поменять местами 2 из 3 фазы его обмотки. Тогда электромагнитное поле статора меняет свою направленность движения, при этом ротор в первоначальный период времени, двигаясь по инерции, станет притормаживаться, пока окончательно не остановится. И только потом он будет крутиться в другом направлении.
Замену полярности электро-пусковой обмотки возможно сделать с управляющим тумблером по схеме. Его можно подобрать с 2 или 3 зафиксированными положениями и 6 выходами. Выбирать такое устройство нужно по токовой нагрузке и разрешенному напряжению.
Пропускать ток на тумблер предпочтительнее от вспомогательной обмотки, которая работает непродолжительно.
Перечисленное, даст возможность значительно увеличить рабочий ресурс контактной группы.
Реверс асинхронного двигателя с конденсаторным запуском лучше выполнять по следующей схеме:
- При тяжелом пуске параллельно к главному конденсатору, используя средний контакт с самовозвратом ПНВ, подсоединяют добавочный конденсатор.
- В таком примере переключают тумблер реверса только при заторможенном роторе, и никак не при его вращении.
- Случайная перемена направленности работы мотора под напряжением, сопряжена с огромными скачками тока, что истощает его мото-ресурс. По этой причине посадочное место тумблера реверса на оборудовании нужно подбирать таким образом, чтобы сделать невозможным случайное включение его во время работы. Лучше установить его в каком-то углубленном месте конструкции.
Реверсивная схема подключения магнитного пускателя
Для того, чтобы запускать электродвигатель в прямом и обратном направлении применяется реверсивная схема управления на магнитном пускателе.
В этой статье подробно рассмотрена пошаговая работа схемы. Схему, в которой двигатель работает только в одном направлении, без реверса, смотрите в статье нереверсивная схема подключения магнитного пускателя.
В заключении этой статьи смотрите видео, демонстрирующее детальную работу схемы реверсного пуска двигателя.
Вначале рассмотрим реверсивную схему подключения с катушкой магнитного пускателя на 220В, а затем работу схемы.
Фазы А,В и С питающего напряжения подводятся к клеммам асинхронного двигателя через:
— 3-х полюсный автоматический выключатель, который защищает всю схему и позволяет отключать питающее напряжение;
— поочередно через три пары силовых контактов магнитных пускателей КМ1 и КМ2;
— тепловое реле Р, которое служит для защиты от перегрузок.
Для того, чтобы изменить направление вращения трехфазного электродвигателя, необходимо поменять местами подключение любых двух фаз!
Для этого в цепь обмотки двигателя включены силовые контакты от двух пускателей, которые подключаются поочередно, меняя чередование фаз.
В нашей схеме при вращении вперед последовательность фаз такая — А, В, С. При вращении назад — С, В, А. Т.е. чередование фаз А и С меняется местами.
Катушки магнитных пускателей с одной стороны подключены к нулевому рабочему проводнику N через нормально-замкнутый контакт теплового реле Р, с другой, через кнопочный пост к фазе С.
Кнопочный пост состоит из 3-х кнопок:
1) нормально-разомкнутой кнопки ВПЕРЕД ;
2) нормально-разомкнутой кнопки НАЗАД ;
3) нормально-замкнутой кнопки СТОП .
К кнопке ВПЕРЕД параллельно подключен нормально-разомкнутый вспомогательный контакт пускателя КМ1, и соответственно, к кнопке НАЗАД — нормально-разомкнутый вспомогательный контакт пускателя КМ2.
Также в цепь питания обмотки пускателя КМ1 включен нормально-замкнутый контакт пускателя КМ2, а в цепь обмотки пускателя КМ2, включен нормально-замкнутый контакт пускателя КМ1.
Это сделано для блокировки, чтобы предотвратить запуск двигателя назад, когда он вращается вперед, и наоборот. Т.е. запустить двигатель в любую из сторон можно только из положения останова.
Работа схемы
Переводим рычаг трехполюсного автоматического выключателя во включенное положение , его контакты замыкаются, схема готова к работе.
Запуск вперед
Нажимаем кнопку ВПЕРЕД . Цепь питания обмотки магнитного пускателя КМ1 замыкается, якорь катушки втягивается, замыкает силовые контакты КМ1 и вспомогательный нормально-открытый контакт КМ1, который шунтирует кнопку ВПЕРЕД .
Одновременно вспомогательный нормально-замкнутый контакт КМ1 размыкает цепь управления магнитным пускателем КМ2, блокируя тем самым возможность запуска реверса двигателя.
Три питающих фазы в последовательности А,В,С подаются на обмотки двигателя и он начинает вращаться вперед.
Отпускаем кнопку ВПЕРЕД , она возвращается в исходное нормально-разомкнутое состояние. Теперь питание на обмотку пускателя КМ1 подается через замкнутый вспомогательный контакт КМ1. Двигатель запущен и вращается вперед.
Схема реверса трехфазного двигателя и кнопочного поста
В каждой системе, обеспечивающей реверс трехфазного электродвигателя, имеются специфические кнопочные контакты, объединенные в общий кнопочный пост. Работа этой системы тесно связана с функционированием остальных элементов схемы.
Всем известно, что включение контактора магнитного пускателя осуществляется с помощью управляющего импульса, поступающего после нажатия на пусковую кнопку. Данная кнопка в первую очередь обеспечивает подачу напряжения на катушку управления.
Включенное состояние контактора удерживается и сохраняется, благодаря принципу самоподхвата. Он заключается в параллельном подключении (шунтировании) к пусковой кнопке вспомогательного контакта, обеспечивающего подачу напряжения на катушку.
В связи с этим уже нет необходимости удерживать кнопку ПУСК в нажатом состоянии. Таким образом, магнитный пускатель может отключиться только после разрыва цепи катушки управления, поэтому в схеме необходима кнопка с размыкающим контактом. В связи этим, кнопки управления, объединенные в кнопочный пост, оборудуются двумя парами контактов – нормально открытыми (NO) и нормально закрытыми (NC).
Все кнопки выполнены в универсальном варианте для того, чтобы обеспечить моментальный реверс двигателя, если в этом возникнет срочная необходимость. Отключающая кнопка, в соответствии с общепринятыми нормами, имеет название СТОП и маркируется красным цветом. Кнопка включения известна как стартовая или пусковая, поэтому она именуется по-разному с помощью слов ПУСК, ВПЕРЕД или НАЗАД.
В некоторых случаях кнопочный пост может использоваться в нереверсивной схеме работы электродвигателя, когда его вал вращается лишь в одном направлении. Запуск производится кнопкой пуск, а остановка произойдет через определенный промежуток времени после нажатия кнопки СТОП, когда вал преодолеет инерцию.
Подключение такой схемы может быть выполнено в двух вариантах, с помощью катушек управления на 220 и 380 вольт.
Как устроен и для чего нужен пускатель?
Как можно логически определить из названия, это устройство предназначено для пуска электродвигателей различных приводных механизмов и техники. Это специфическое оборудование, которое необходимо для коммутации силовых целей с большими нагрузками, как на постоянном, так и на переменном токе. Пускатель обладает более широким функционалом, нежели базовый контактор и кроме обеспечения частых пусков и остановок, может выступать в роли защитного барьера при перегрузках. Кроме этого, реверсивный и нереверсивный пускатели, например, серии ПМЛ, нашел свое применение при организации дистанционных схем управления, пуска насосных, вентиляционных, крановых агрегатов, кондиционеров и т.д.
Любой магнитный пускатель состоит из следующих основных частей:
- Электромагнитная часть. Она состоит из катушки и разъединенных магнитопроводов – неподвижного сердечника и подвижного якоря,
- Блок главных контактов.
Они нужны для замыкания/размыкания силовых мощных нагрузок. С учетом параметров пускателя, он может иметь до 5 пар контактов. Одна их половина расположена на траверсе якоря, а другая – на верхней части корпуса, - Блокирующие контакты. Они используются при коммутации управляющих цепей схемы, например, когда включение/остановка происходит пусковыми кнопками. Происходит блокировка основных контактов, а значит, устраняется необходимость удерживания кнопки управления,
- Возвратный механизм. По сути, это просто пружина, которая при размыкании контактов возвращает якорь в исходное положение, обеспечивая необходимый зазор между парами.
Нереверсивное подключение электродвигателя
Некоторые пускатели обладают функцией реверсирования двигателя, однако обо всем по порядку. При подаче напряжения реле времени обозначены КТ1 и КТ2 в цепи управления срабатывают, размыкая свои контакты. Но более компактный, нежели контактор в обычном понятии: легче по весу и рассчитан непосредственно для работы с двигателями.
После него фазный кабель уходит на разрыв, на кнопку стоп, а уже от нее делается подключение к контакторам.
Изменение поворотного движения Изменение режимов через остановку предотвращает быструю подачу напряжения на другие обмотки электродвигателя. Силовые непосредственно коммутируют цепь мощной нагрузки, в то время как блокировочные необходимы для управления работой силовых контактов. Контакт нормально замкнутый ТР включается в цепь катушки управления КМ. Если скорость ротора меньше скорости вращения магнитного поля, то силовые линии вращающегося магнитного поля будут пересекать проводники обмотки ротора и индуктировать в них ЭДС.
В электромагните КМ1 создаётся магнитное поле. Это специфическое оборудование, которое необходимо для коммутации силовых целей с большими нагрузками, как на постоянном, так и на переменном токе. Двигатель 1,5кВт, ток по каждой фазе 3А, ток теплового реле — 3,5 А. Их отличает высокая надежность, они очень просты в эксплуатации и техническом обслуживании, могут работать в прямом подключении к сетям переменного тока.
В этом случае фаза заводится на контакт L1, а ноль можно взять, подключившись к соответствующему разъему выхода катушки на фото выше это A2.
Пускатель выполняет коммутационную функцию силовыми контактами и подачу напряжения на двигатель. Как правильно собрать реверсивный пускатель.
Разница между прямым и реверсивным пускателями
Главное отличие нереверсивного и реверсивного пусковых устройств, состоит в схеме подключения. Также меняется комплектация. Контактор прямого типа является одиночным, тогда как реверсивный – блочным, состоящим из двух прямых, объединенных в одном корпусе. Визуальные отличия этих двух реле можно видеть на сравнении моделей ПМЛ-1100 (слева) и ПМЛ-1500 (справа):
При этом, должно соблюдаться одно крайне важное условие: реверсивное соединение пускателей должно полностью исключать возможность их одновременного срабатывания. Это неизбежно приведет к возникновению явления короткого замыкания.
Схема подключения реверсивного магнитного пускателя электродвигателей делится на два основных вида:
- Подключение к сети с напряжением 220 В,
- Запуск контактора на 380 В.

Далее рассмотрим подробнее каждый из вариантов, опираясь на уже упомянутые модели контакторов ПМЛ серии 1500.
Схема реверса с описанием подключения
В схеме подключения реверсивного магнитного пускателя с тепловым реле Рис. В работе остаётся только рабочая обмотка.
Концы второй обмотки подключают к клеммам W2 и V2. Он необходим для электробезопасности и аварийного отключения электромотора.
Корпус реверсивного пускателя состоит из таких следующих частей: Контактор. Второй выключатель должен иметь три положения.
Все изменения сводятся к магнитному пускателю КМ2, нормально разомкнутому контакту кнопки SB2. Заменой двух фаз и занимается второй пускатель в схеме.
Сами магнитные пускатели должны быть с блоками-контактов. Все зависит от того, как первоначально подключить концы обмоток. Электрические транспортные средства построены на основе последовательного возбуждения обмоток. Все совершается благодаря размыканию первой фазы.
Чтобы получить схему реверса, нужно отсоединить конец пусковой обмотки от контакта и туда подключить другой конец той же обмотки.
Происходит включение катушки 2 пускателя К1. Принципиальным различием трехфазной схемы от одинарной считается наличие дополнительной цепочки управления и несколько модифицированной энергосиловой части. В упрощенном варианте схемы подключения мотора В подают на рабочую обмотку, один конец пусковой обмотки на фазу или ноль сети без разницы.
Вид и функционирование реверсивной схемы на 220 В
На этой монтажной схеме можно видеть следующие основные элементы (обозначены цифрами):
- Блокирующие или блок-контакты,
- Катушки магнитных пускателей, рассчитанные на напряжение питания 220 В,
- Контакты тепловой или токовой защиты (релейные элементы),
- Силовые контакты пускателей.
Вид реверсивной схемы на 220 В
Кроме этого, буквенно-числовыми обозначениями выделяются:
- МП-1, МП-2 – магнитные пускатели. Их границы на схеме выделены штриховыми линиями,
- Стоп, Пуск – органы управления (сам блок выделен штриховой линией).
Отдельно выделена лишь кнопка Стоп. Пусковые кнопки (прямой ход и реверс) обозначены, как две пары контактов, связанных с пускателями МП-1 и МП-2, - М – электродвигатель.
Принцип функционирования
Как можно видеть, на силовые контакты пускателей подводятся три разноименные фазы от сети 380 В. На приведенной схеме обозначения нет никакого, но в других случаях можно встретить символы А, В, С или L1, L2, L3. Организовывается блочная связка путем прямой перемычки центральных фаз реле, а также диагональных перемычек боковых фаз (условно 1 фаза МП-1 соединяется с 3 фазой МП-2 и т.д).
После этого провода идут на электродвигатель М. На этом промежутке, в разрыв цепи подключается тепловое реле. Оно осуществляет контроль двух из трех фаз, чтобы при перегрузке отключить питание двигателя.
Блок управления с пусковыми кнопками подключается от одной из центральных фаз в разрыв теплового реле, и нулевого провода (заземления) от катушек пускателей ПМЛ. Защита от одновременного включения пускателей организовывается путем перекрестного соединения контактов кнопок пуска/реверса с блокирующими контактами противоположного контактора.
При включении с блока управления прямого хода, замыкаются контакты на первый пускатель, который запускает двигатель. Одновременно, контакты второго пускателя размыкаются, а на катушку не поступает должное напряжение.
Включение реверса происходит после остановки двигателя кнопкой Стоп с последующим нажатием обратного хода. Таким образом, мы имеем на катушках измененные местами боковые фазы, что приводит к вращению двигателя в обратную сторону. Блокирование первого пускателя происходит по аналогичному принципу.
Вид и функционирование реверсивной схемы на 380 В
Здесь мы имеем, фактически, все те же элементы, что используются для ПМЛ на 220 В, но катушки пускателей рассчитаны на более высокое напряжение (имеют больше витков). Кроме того, отличием от предыдущей схемы является подключение блока управления не через одну, а через две фазы, не используя общий ноль.
Вид реверсивной схемы на 380 В
Способы и схемы подключения
В зависимости от типа используемой нагрузки для электродвигателя, его конструктивных особенностей и характеристик, желаемого результата могут использоваться различные схемы подключения.
Чаще всего, чтобы подключить трехфазный агрегат в качестве бытовой однофазной нагрузки используются конденсаторы, но их количество и способ введения в работу зависят от многих параметров. Поэтому далее мы рассмотрим различные варианты схем подключения электродвигателей.
Без конденсаторов
Чтобы подключить асинхронный электродвигатель к сети 220В вовсе не обязательно использовать емкостной элемент. Благодаря развитию полупроводниковых ключей и схем с их использованием вы можете избежать ненужных потерь мощности. Для этого применяется транзисторный или динисторный ключ.
Схема бесконденсаторного пуска треугольник
Приведенная выше схема предназначена для пуска электродвигателей с малыми оборотами до 1500 об/мин и относительно небольшой мощностью.
Работа схемы производится следующим образом:
- при подаче напряжения на ввод провода подключаются к двум точкам мотора;
- напряжение на третью точку треугольника подается через времязадающую R-C цепочку;
- магазин сопротивлений R1 и R2 регулирует интервал сдвига за счет перемещения бегунка;
- после насыщения конденсатора в цепочке динистор VS1 пропускает сигнал на открытие симистора VS2.

Где еще используются реверсивные пускатели?
Область применения двойных пусковых реле довольно широка. Она не ограничивается одними только электродвигателями. Необходимость изменения направления вращения или перемещения приводных механизмов может возникнуть также в других случаях.
К примеру, каждый человек имеет дома систему водоснабжения, отопления, где всегда есть место различной запорной арматуре. Для промышленных масштабов, при больших расходах, диаметрах трубопроводов, большой точности контроля расхода, обычными кранами не обойтись. Здесь используются задвижки электрической, а также механической системой управления рабочим органом. Вращение диска или перемещение задвижки происходит в разных направлениях, а значит, применение реверсивных схем пуска обосновано.
Как сделать реверс на трехфазном двигателе — Станки, сварка, металлообработка
- Общая схема реверса электродвигателей
- Схема реверса трехфазного двигателя и кнопочного поста
- Схема реверса трехфазного двигателя в однофазной сети
Трехфазные электродвигатели широко используются на многих объектах.
В силу специфических условий эксплуатации, довольно часто возникает необходимость изменения направления вращения вала того или иного агрегата.
Для этих целей лучше всего подходит стандартная схема реверса трехфазного двигателя, применяемая для открытия и закрытия гаражных ворот, обеспечения работы лифтов, погрузчиков, кран-балок и другого оборудования.
Реверсивная схема подключения электродвигателя — фазировка
Эта схема довольно часто используется для подключения трехфазного электродвигателя там, где необходимо оперативное управление направлением вращения вала двигателя – например, в гаражных воротах, насосах, различных погрузчиках, кран-балках и т. д.
Реверсирование двигателя реализуется изменением фазировки его питающего напряжения. Например, если порядок подключения фаз к клеммам трехфазного электродвигателя условно взять как L1,L2 ,L3. то направление вращения вала будет определенным, противоположным, чем при подключении, скажем, с фазировкой L3,L2,L1 .
Схема подключения реверсивного магнитного пускателя.
08 Апр 2014г | Раздел: Электрика
Здравствуйте, уважаемые читатели сайта sesaga.ru. Продолжаем разбираться с магнитным пускателем и сегодня мы рассмотрим еще одну классическую схему подключения магнитного пускателя, которая обеспечивает реверс вращения эл. двигателя.
Такая схема используется в основном, где нужно обеспечить вращение эл. двигателя в обе стороны, например, сверлильный станок, подъемный кран, лифт и т.д.
На первый взгляд может показаться, что эта схема намного сложнее, чем схема с одним пускателем, но это только на первый взгляд.
В схему добавилась еще одна цепь управления, состоящая из кнопки SB3
, магнитного пускателя
КМ2
, и немного видоизменилась
силовая часть
подачи питания на эл. двигатель. Названия кнопок SB2 и SB3 даны условно.
Для защиты от короткого замыкания в силовой цепи, перед катушками пускателей добавились два нормально-замкнутых контакта КМ1.
2
и
КМ2.2
, взятые от контактных приставок, установленных на магнитных пускателях
КМ1
и
КМ2
.
Для удобства понимания схемы, цепи управления и силовые контакты пускателей раскрашены в разные цвета. А чтобы визуально не усложнять схему, цифробуквенные обозначения пар силовых контактов пускателей не указываются. Ну а если возникнут вопросы или сомнения, про
Электрическая Схема Реверсивного
Произойдёт короткое замыкание между фазами L1 и L3.
Следует учитывать особенности решения разных практических задач. Устройство и принцип работы Чтобы лучше понимать схемы подключения магнитного пускателя, необходимо разобраться в его устройстве и принципе работы. Магнитопровод состоит из двух частей — подвижной и неподвижной. Схема подключения проходного выключателя — переключателя. В этом случае схема выглядит как на рисунке ниже. Двигатель останавливается.
При этом в нем возникают электромагнитные волны.
Разница между прямым и реверсивным пускателями Главное отличие нереверсивного и реверсивного пусковых устройств, состоит в схеме подключения. Напряжение от источника питания подается на фиксированные обмотки статора.
Пускатели марки ПМЛ широко применяются в схемах реверса трехфазного двигателя для реализации дистанционного пуска в насосных станциях, в башенных кранах и вентиляционных системах, в других механизмах.
Это и эксплуатационное управление трёхфазными асинхронными моторами разных станков и насосов, и управление системой вентиляции, арматурой, вплоть до замков и вентилей отопительной системы. Разница между прямым и реверсивным пускателями Главное отличие нереверсивного и реверсивного пусковых устройств, состоит в схеме подключения.
Схема реверсивного включения эл. двигателя(с 380В на 220В) без пускателя.
Исходное состояние схемы.
При включении автоматического выключателя QF1
фазы «А», «В», «С» поступают на верхние силовые контакты магнитных пускателей
КМ1
и
КМ2
и там остаются дежурить.
Фаза «А», питающая цепи управления, через автомат защиты цепей управления SF1
и кнопку
SB1
«Стоп» поступает на контакт
№3
кнопок
SB2
и
SB3
, вспомогательный контакт
13НО
пускателей
КМ1
и
КМ2
, и остается дежурить на этих контактах. Схема готова к работе.
На рисунке ниже показана часть реверсивной схемы, а именно, монтажная схема цепей управления с реальными элементами.
Работа цепей управления при вращении двигателя влево.
При нажатии на кнопку SB2
фаза «А» через нормально-замкнутый контакт
КМ2.2
поступает на катушку магнитного пускателя
КМ1
, пускатель срабатывает и его нормально-разомкнутые контакты
замыкаются
, а нормально-замкнутые
размыкаются
.
При замыкании контакта КМ1.1
пускатель встает на
самоподхват
, а при замыкании силовых контактов
КМ1
фазы «А», «В», «С» поступают на соответствующие контакты обмоток эл.
двигателя и двигатель начинает вращение, например, в левую сторону.
Здесь же, нормально-замкнутый контакт КМ1.2
, расположенный в цепи питания катушки пускателя
КМ2
, размыкается и не дает включиться магнитному пускателю
КМ2
пока в работе пускатель
КМ1
. Это так называемая «защита от дурака», и о ней чуть ниже.
На следующем рисунке показана часть схемы управления, отвечающая за команду «Влево». Схема показана с использованием реальных элементов.
Работа цепей управления при вращении двигателя вправо.
Чтобы задать двигателю вращение в противоположную сторону достаточно поменять местами любые две питающие фазы, например, «В» и «С». Вот этим, как раз, и занимается пускатель КМ2
.
Но прежде чем нажать кнопку «Вправо
» и задать двигателю вращение в обратную сторону, нужно кнопкой «
Стоп
» остановить прежнее вращение.
При этом разорвется цепь и управляющая фаза «А» перестанет поступать на катушку пускателя КМ1
, возвратная пружина вернет сердечник с контактами в исходное положение, силовые контакты разомкнутся и отключат двигатель
М
от трехфазного питающего напряжения.
Схема вернется в начальное состояние или ждущий режим:
Нажимаем кнопку SB3
и фаза «А» через нормально-замкнутый контакт
КМ1.2
поступает на катушку магнитного пускателя
КМ2
, пускатель срабатывает и через свой контакт
КМ2.1
встает на самоподхват.
Своими силовыми контактами КМ2
пускатель перебросит фазы «В» и «С» местами и двигатель
М
станет вращаться в другую сторону. При этом контакт
КМ2.2
, расположенный в цепи питания пускателя
КМ1
, разомкнется и не даст пускателю
КМ1
включиться пока в работе пускатель
КМ2
.
Схемы подключения трехфазных электродвигателей
ВАЖНО! Перед подключением электродвигателя необходимо убедится в правильности схемы соединения обмоток электродвигателя в соответствии с его паспортными данными.
Условные обозначения на схемах
Магнитный пускатель (далее — пускатель) — коммутационный аппарат предназначенный для пуска и остановки двигателя.
Управление пускателем осуществляется через электрическую катушку, которая выступает в качестве электромагнита, при подаче на катушку напряжения она воздействует электромагнитным полем на подвижные контакты пускателя которые замыкаются и включают электрическую цепь, и наоборот, при снятии напряжения с катушки пускателя — электромагнитное поле пропадает и контакты пускателя под действием пружины возвращаются в исходное положение размыкая цепь.
Силовые цепи.
А теперь посмотрим на работу силовой части схемы, которая и отвечает за переброс питающих фаз для осуществления реверса вращения эл. двигателя.
Обвязка силовых контактов пускателя КМ1
выполнена так, что при их срабатывании фаза «А» поступает на обмотку
№1
, фаза «В» на обмотку
№2
, и фаза «С» на обмотку
№3
. Двигатель, как мы определились, получает вращение влево. Здесь переброс фаз не осуществляется.
Обвязка силовых контактов пускателя КМ2
выполнена таким-образом, что при его срабатывании фазы «В» и «С» меняются местами: фаза «В» через
средний
контакт подается на обмотку
№3
, а фаза «С» через крайний
левый
подается на обмотку
№2
.
Фаза «А» остается без изменений.
А теперь рассмотрим нижний рисунок, где показан монтаж всей силовой части на реальных элементах.
Фаза «А» белым проводом заходит на вход левого
контакта пускателя
КМ1
и перемычкой заводится на вход
левого
контакта пускателя
КМ2
. Выхода обоих контактов пускателей также соединены перемычкой, и уже от пускателя
КМ1
фаза «А» поступает на обмотку
№1
двигателя
М
— здесь переброса фазы нет.
Фаза «В» красным проводом заходит на вход среднего
контакта пускателя
КМ1
и перемычкой заводится на
правый
вход пускателя
КМ2
. С правого выхода
КМ2
фаза перемычкой заводится на правый выход
КМ1
, и тем самым, встает на место фазы «С». И теперь на обмотку
№3
, при включении пускателя
КМ2
будет подаваться фаза «В».
Фаза «С» синим проводом заходит на вход правого
контакта пускателя
КМ1
и перемычкой заводится на
средний
вход пускателя
КМ2
.
С выхода
среднего
контакта
КМ2
фаза перемычкой заводится на
средний
выход
КМ1
, и тем самым, встает на место фазы «В». Теперь на обмотку
№2
, при включении пускателя
КМ2
будет подаваться фаза «С». Двигатель будет вращаться в правую сторону.
Защита силовых цепей от короткого замыкания или «защита от дурака».
Как мы уже знаем, что прежде чем изменить вращение двигателя, его нужно остановить. Но не всегда так получается, так как никто не застрахован от ошибок. И вот представьте ситуацию, когда нет защиты.
Двигатель вращается в левую сторону, пускатель КМ1
в работе и с его выхода все три фазы поступают на обмотки, каждая на свою. Теперь не отключая пускатель
КМ1
мы включаем пускатель
КМ2
. Фазы «В» и «С», которые мы поменяли местами для реверса, встретятся на выходе пускателя
КМ1
. Произойдет
межфазное замыкание
между фазами «В» и «С».
А чтобы этого не случилось, в схеме используют нормально-замкнутые
контакты пускателей, которые устанавливают перед катушками этих же пускателей, и таким-образом исключается возможность включения одного магнитного пускателя пока не обесточится другой.
подключение и запуск, настройка реверса
Содержание
- Чем отличается схема магнитного реверсивного пускателя: правила комплектации
- Изменение вращательного движения
- Технические характеристики
- Схемы подключения магнитного пускателя.
- Возможности пускателей
- Подробнее о взаимоблокировке
- Описание работы вышеуказанной схемы
- Общая схема реверса электродвигателей
- Принцип работы реверсивного магнитного пускателя
- Устройство магнитного пускателя для реверсного пуска
- Защита силовых цепей от короткого замыкания или «защита от дурака».
- Как подключить реверсивный магнитный пускатель: схема, описание
- Работа цепей управления при вращении двигателя влево.

- РАЗНОВИДНОСТИ УСТРОЙСТВ
- Особенности реверсивных пускателей
- Устройство магнитного пускателя для реверсного пуска
Чем отличается схема магнитного реверсивного пускателя: правила комплектации
Представим, что появилась необходимость разобраться в особенностях устройства, в котором электрический двигатель способен работать в двух направления – прямом и обратном, то есть реверсивном. И если такая особенность очевидна, значит, в схеме агрегата предусмотрено наличиемагнитного реверсивного пускателя. Его использование не такое и простое, необходимо продумать режим работы, чтобы не допустить опасное замыкание фаз.
В схеме обязательно можно найти обозначение дополнительной цепи управления и кнопки запуска реверса. В виду такой продуманности, созданная схема отличается надежностью, так как защищена от короткого замыкания.
А за счет чего проходит реверс? Это легко объяснимо. – За счет переворачивания местами двух имеющихся в системе фаз: когда одна прекращает работу, а другая, наоборот, запускается.
Для более надежной защиты, обязательно в схеме продумана блокировка, отвечающая за точную и своевременную остановку одного из пускателей, первого или второго. Все зависит от поставленных задач. Напомним, что в случае срабатывания двух пускателей мгновенно произойдет короткое замыкание на силовых контактах агрегата.
Отметим, что реверсивное движение запускается не мгновенно, так как требуется срабатывание нескольких важных пунктов. Во-первых, обязательно рекомендуется остановить работу двигателя, нажать кнопку «Стоп»
Во-вторых, надо обратить внимание на состояние катушки, снять с нее напряжение, иначе процесс реверсивного запуска даст сбой. Если все сделано правильно, то пускатель вернется в исходное положение под действием пружины
Все, агрегат готов к реверсу. Нажимаем кнопку «Пуск», соответственно, подается нужное напряжение на катушку, значит, процесс запущен. С панели управления устройства можно считать информацию замыкании электрической цепи. А это значит, что в систему поступил ток, и он постепенно подается в катушку.
Одновременно выполняется блокирование всех не вступивших в работу контактов. Этого требует безопасность.
Отметим, что в случае срабатывания теплового реле, произойдет остановка агрегата во избежание аварийной ситуации.
Таким образом, магнитный пускатель играет важную роль в работе двигателей. Свое место назначения также достойно занимаем и реверсивный пускатель, обеспечивая бесперебойную работу станков, тэнов, лифтов и другого электрического оборудования. Пускатели относятся в надежным и безопасным образцам, особенно если они дополнительно оснащены блокировочными системными механизмами. Они находятся внутри кожуха и не допускают срабатывание одновременно двух катушек, не доводя до замыкания фаз.
{SOURCE}
Изменение вращательного движения
Теперь для придания обратного направления движения, вам необходимо изменить положение силовых фаз, что удобно сделать при помощи переключателя КМ2.
Все происходит благодаря размыканию первой фазы. При этом все контакты возвращаются в исходно положение, обесточив обмотку двигателя.
Данная фаза является ждущим режимом.
Задействование кнопки SB3 приводит в действие магнитный пускатель с аббревиатурой КМ2, который, в свою очередь, меняет положение второй и третьей фазы. Это действие заставляет двигатель вращаться в обратном направлении. Теперь КМ2 является ведущим и пока не произойдет его размыкание КМ1 будет не задействован.
Технические характеристики
Не будем здесь рассматривать все параметры прибора, потому что выбор всегда делается по величине пускателя, которая характеризуется номинальным током нагрузки, действующей на контакты прибора. Существует семь величин пускателя, каждой из которых соответствует допустимая токовая нагрузка. На фотографии ниже обозначены эти самые величины, и в каких областях такие магнитные пускатели применяются.
Необходимо отметить, что небольшие погрешности в параметрах допустимы. Но в некоторых случаях надо учитывать, в каком диапазоне срабатывает тепловое реле. Если величины пускателей имеют завышенную нагрузку, а реле заниженный минимальный показатель теплового отключения, то может быть несоответствие заданной мощности электрической цепочки или потребителя.
{SOURCE}
Схемы подключения магнитного пускателя.
Первая, классическая схема, предназначена для обычного пуска электродвигателя: кнопку «Пуск» нажали – двигатель включился, кнопку «Стоп» нажали – двигатель отключился. Причем вместо двигателя Вы можете подключать любую нагрузку, например, мощный ТЭН.
Для удобства понимания схема разделена на две части: силовая часть и цепи управления.
Силовая часть запитывается от трехфазного переменного напряжения 380В с фазами «А» «В» «С». В силовую часть входит: трехполюсный автоматический выключатель QF1, три пары силовых контактов магнитного пускателя 1L1-2T1, 3L2-4T2, 5L3-6T3 и трехфазный асинхронный эл. двигатель М.
Цепь управления получает питание от фазы «А».
В схему цепи управления входят кнопка SB1 «Стоп», кнопка SB2 «Пуск», катушка магнитного пускателя КМ1 и его вспомогательный контакт 13НО-14НО, включенный параллельно кнопке «Пуск».
При включении автомата QF1 фазы «А», «В», «С» поступают на верхние контакты магнитного пускателя 1L1, 3L2, 5L3 и там дежурят. Фаза «А», питающая цепи управления, через кнопку «Стоп» приходит на контакт №3 кнопки «Пуск», вспомогательный контакт пускателя 13НО и так же остается дежурить на этих двух контактах. Схема готова к работе.
При нажатии на кнопку «Пуск» фаза «А» попадает на катушку пускателя КМ1, пускатель срабатывает и все его контакты замыкаются. Напряжение появляется на нижних силовых контактах 2Т1, 4Т2, 6Т3 и уже от них поступает на эл. двигатель. Двигатель начинает вращаться.
Вы можете отпустить кнопку «Пуск» и двигатель не отключится, так как с использованием вспомогательного контакта пускателя 13НО-14НО, подключенного параллельно кнопке «Пуск», реализован самоподхват.
Получается так, что после отпускания кнопки «Пуск» фаза продолжает поступать на катушку магнитного пускателя, но уже через свою пару 13НО-14НО.
На нижнем рисунке стрелкой показано движение фазы «А».
А если не будет самоподхвата, придется все время держать нажатой кнопку «Пуск» пока будет работать эл. двигатель или любая другая нагрузка, питающаяся от магнитного пускателя.
Чтобы отключить эл. двигатель достаточно нажать кнопку «Стоп»: цепь разорвется, управляющее напряжение перестанет поступать на катушку пускателя, возвратная пружина вернет сердечник с силовыми контактами в исходное положение, силовые контакты разомкнутся и отключат двигатель от трехфазного питающего напряжения.
А теперь рассмотрим монтажную схему цепи управления пускателем.
Здесь все практически так же, как и на принципиальной схеме, за небольшим исключением реализации самоподхвата.
Чтобы не тянуть лишний провод на кнопку «Пуск», ставится перемычка между выводом катушки и одним из ближних вспомогательных контактов: в данном случае это «А2» и «14НО». А уже с противоположного вспомогательного контакта провод тянется непосредственно на контакт №3 кнопки «Пуск».
Ну вот, мы с Вами и разобрали простую классическую схему подключения магнитного пускателя. Также на одном пускателе можно собрать схему автоматического ввода резерва (АВР), которая предназначена для обеспечения бесперебойного электроснабжения потребителей электроэнергией.
Ну а если остались вопросы или сомнения по работе пускателя, то посмотрите видеоролик, из которого Вы дополнительно подчерпнете нужную информацию.
Следующая схема будет немного сложнее этой, так как в ней будут задействованы два магнитных пускателя и три кнопки и называется эта схема реверсивной. При помощи такой схемы можно будет, например, вращать двигатель влево – вправо, поднимать и опускать лебедку.
А пока досвидания.
Удачи!
Возможности пускателей
Для лимитирования пускового тока трёхфазного двигателя его обмотки могут связываться «звездой», затем, если мотор вышел на номинальные обороты, перейти в «треугольник». При этом магнитные пускатели могут быть: раскрытыми и в корпусе, реверсивными и нереверсивными, с защитой от перегрузок и без защиты от нагрузки.
Каждый электромагнитный пускатель имеет блокировочные и силовые контакты. Силовые коммутируют нагрузки. Блокировочные контакты нужны для управления работой контактов. Блокировочные и силовые контакты бывают естественно-незамкнутыми либо нормально-закрытыми. В принципиальных схемах контакты изображают в их нормальном состоянии.
Удобство использования реверсивных пускателей невозможно пересмотреть. Это и эксплуатационное управление трёхфазными асинхронными моторами разных станков и насосов, и управление системой вентиляции, арматурой, вплоть до замков и вентилей отопительной системы. Особенно примечательна вероятность удалённого управления пускателями, если электрический источник дистанционного управления коммутирует катушки пускателей аналогично реле, а последние безопасно связывают силовые цепи.
Подробнее о взаимоблокировке
Электрическая схема реверсивного пуска асинхронного двигателя требует наличия взаимоблокировки. Стоит понимать, что для смены направления вращения асинхронного двигателя нужно сменить любые 2 фазы местами.
Для этого входы пускателей соединяются прямо, а выход соединяется накрест любые 2 фазы. В случае включения обоих пускателей одновременно произойдет короткое замыкание, которое, скорее всего, спалит силовые контактные группы на пускателях.
Вам будет интересно: Закон Бойля-Мариотта: формула и пример задачи
Для того чтобы избежать короткого замыкания при монтаже реверсивного пуска двигателя, нужно исключить одновременную работу обоих пускателей. Именно поэтому необходимо применять схему взаимоблокировки. При включенном первом пускателе разрывается питание на второй пускатель, чем и исключается его случайное включение, к примеру, одновременно нажаты обе кнопки «пуск».
Если так вышло, что при нажатии кнопки, которая должна включить «вращение вправо», а двигатель вращается влево, и, наоборот, при нажатии «вращение влево» двигатель вращается вправо, не стоит собирать заново всю схему. Просто поменяйте местами на вводе 2 провода – вот и все, проблема решена.
Может случиться так, что на вводе это сделать невозможно по каким-либо обстоятельствам.
В таком случае смените местами 2 провода в клейменной коробке на двигателе. И снова проблема решена. Кнопка, отвечающая за вращение вправо, запустит вращение вправо, а кнопка, отвечающая за вращение влево, запустит вращение влево.
Описание работы вышеуказанной схемы
Вам будет интересно: Ликтор – это: суть профессии и исторические факты
Разберем работу принципиальной схемы реверсивного пуска двигателя. Ток поступает от фазы С на нормально замкнутую общую кнопку КнС, кнопка «стоп». После чего проходит через общее реле тока, которое защитит двигатель от перегрузок. Затем при нажатии КнП «право» ток проходит через нормально замкнутый контакт пускателя КМ2. Поступая на катушку пускателя КМ1, сердечник втягивается, замыкая силовые контакты, разрывая питание на пускатель КМ2.
Так необходимо делать для того, чтобы разорвать питание второго пускателя и защитить цепи от короткого замыкания. Ведь реверс обеспечен тем, что 2 любые фазы меняются местами. Таким образом, если при включенном КМ1 нажать кнопку КнП «лево», пуск не произойдет.
Самошунтирование обеспечено вспомогательным контактом, изображенным под КнП «право». Когда пускатель включен, замкнут и этот контакт, обеспечивая питание на катушку пускателя.
Для того чтобы остановить двигатель, необходимо нажать КнС («стоп»), вследствие чего катушка пускателя потеряет питание и придет в нормальное состояние. Теперь, когда КМ1 пришел в нормальное состояние, он замкнул нормально замкнутую группу вспомогательных контактов, благодаря чему катушка пускателя КМ2 снова может получать питание, и стало возможно запустить вращение в противоположную сторону. Для этого нажмем КнП «лево», тем самым включая пускатель КМ2. Получая питание, катушка втягивает сердечник и замыкает силовые контакты, включая питание на двигатель, сменив 2 фазы местами.
Разбирая работу данной схемы реверсивного пуска двигателя, можно заметить что шунтирование обеспечено нормально разомкнутым вспомогательным контактом, изображенным под кнопкой КнП «лево», и оно разрывает питание на пускатель КМ1, делая невозможным его включение.
Выше была рассмотрена схема для трехфазного привода. В самом начале схемы сразу после КнС можно увидеть нормально замкнутый контакт от реле тока. В случае потребления двигателем чрезмерного тока, реле срабатывает, разрывая питание на всю цепь управления. Все, что работает в цепи управления, потеряет питание, это и спасет двигатель от выхода из строя.
Общая схема реверса электродвигателей
В промышленности и сельском хозяйстве нашли широкое применение различные типы трехфазных асинхронных электродвигателей. Они устанавливаются в электроприводах оборудования, служат составной частью автоматических устройств. Трехфазные агрегаты завоевали популярность, благодаря высокой надежности, простому обслуживанию и ремонту, возможности работы напрямую от сети переменного тока.
Специфика работы устройств, работающих с электродвигателями, предполагает необходимость изменения направления вращения вала, называемого реверсом. Для таких ситуаций разработаны специальные схемы, в состав которых включены дополнительные электрические приборы.
Прежде всего, это вводный автомат, имеющий соответствующие параметры, контакторы (2 шт.), тепловое реле и элементы управления в виде трех кнопок, объединенных в общий кнопочный пост.
Для того чтобы вал начал вращаться в противоположную сторону, необходимо изменить расположение фаз подаваемого напряжения. Необходим постоянный контроль над значением напряжения, поступающего на электродвигатель и катушки контакторов. Непосредственное выполнение реверса в трехфазном двигателе осуществляется контакторами (КМ) № 1 и № 2. При срабатывании контактора № 1, фазы поступающего напряжения будут располагаться иначе, нежели при срабатывании контактора № 2.
Для управления катушками обоих контакторов предусмотрены три кнопки – ВПЕРЕД, НАЗАД и СТОП. Они обеспечивают питание катушек в зависимости от расположения фаз. Порядок включения контакторов влияет на замыкание электрической цепи таким образом, что вращение вала двигателя в каждом случае происходит строго в определенную сторону. Кнопку НАЗАД необходимо только нажать, но не удерживать, так как она сама оказывается в нужном положении под действием самоподхвата.
На всех трех кнопках установлена блокировка, предотвращающая их одновременное включение. Несоблюдение этого условия может привести к возникновению в электрической цепи короткого замыкания и выходу из строя оборудования. Для блокировки кнопок используется специальный блок-контакт, расположенный в соответствующем контакторе.
Принцип работы реверсивного магнитного пускателя
Подключение реверсивного магнитного пускателя и его работа происходит следующим образом. После осуществления команды “пуск” на панели управления устройства электрическая цепь замыкается, вследствие чего ток подаётся на катушку. В это время механическая блокирующая система срабатывает, подобным образом блокируются незадействованные контакты. Так как контакты кнопки тоже оказываются заблокированными, подобное действие позволяет не удерживать кнопку, а спокойно отпустить её. Вторая кнопка реверсивного магнитного пускателя, параллельно с запуском устройства, размыкает цепь, таким образом, её активация не даст никакого результата.
Для осуществления реверса необходимо активировать кнопку “стоп”, нажатие которой обесточит обе катушки реверсивного магнитного пускателя, тем самым остановив функциональные операции оборудования. При таком действии все блокирующие устройства займут изначальное положение. Подобная последовательность позволяет активировать реверсивный магнитный пускатель вновь, без каких либо дополнительных действий. При выборе команды “пуск” произойдут вышеописанные действия, однако при этом будет использована вторая катушка, а первая окажется заблокированной.
Наиболее совершенный и безопасный реверсивный магнитный пускатель оснащен дополнительными блокировочными системными механизмами. Размещаются данные приспособления для блокирования рабочего момента, как правило, внутри кожуха (непосредственно под панелью управления) и предназначены для того чтобы не допустить срабатывания сразу обеих катушек. Согласно схеме реверсивного магнитного пускателя, если он снабжен электрической блокирующей системой, то использование механических блокировок вовсе необязательно.
Осуществление реверса происходит через полную остановку двигателя. Другими словами, при срабатывании реверсивного магнитного пускателя двигатель замедляется, после чего следует полная остановка, а затем осуществляется вращение в другую сторону. Однако при этом необходимо совпадение мощностей двигателя и реверсивного магнитного пускателя. Только при осуществлении данного процесса, реверс будет осуществлён правильно.
Если же остановка и реверс двигателя производится противовключением, то мощность оборудования должна быть значительно ниже максимально допустимой мощности реверсивного магнитного пускателя. Наиболее часто двигатель уступает по мощности пускателю в 1,5-2 раза. Во многом разница мощностей зависит от качества контактов магнитного пускателя, а точнее их износостойкости при работе в данных условиях.
Данный режим должен проходить без применения механических систем блокировки. Однако безопасность работы реверсивного магнитного пускателя в обязательном порядке должна обеспечиваться применением электрических систем блокировки.
В целом же реверсивные магнитные пускатели являются технологичным и безопасным методом удалённого управления асинхронными электродвигателями.
Устройство магнитного пускателя для реверсного пуска
Стандартный пускатель состоит из следующих компонентов:
- сердечник с закрепленной на нем катушкой индукции;
- якорь с механизмом перемещения контактных групп;
- корпус, обеспечивающий целостность конструкции вместе с защитой от внешних воздействий.
При подаче (отключении) тока питания движением якоря замыкаются (отсоединяются) соответствующие контакты силовых цепей. Реверсивные модификации создают из двух обычных пускателей, установленных на одной монтажной панели. Дополнительными проводниками обеспечивается блокировка, препятствующая одновременному включению двух изделий.
Реверсивный пускатель
В этом варианте используют отдельные клавиши, которые инициируют вращение ротора в прямом и обратном направлении. Первый рабочий режим сопровождается шунтированием контактной группой «КМ1» соответствующей цепи.
Если нажать после этого клавишу «Назад», ничего не произойдет.
Для активизации обратного вращения следует сначала остановить двигатель, чтобы исключить поломку. Нажатием «Стоп» (С – на рисунке ниже) отключают питающее напряжение 380 V. После можно подать ток в нужные обмотки через силовые контактные группы «КМ2».
Схема подключения
Защита силовых цепей от короткого замыкания или «защита от дурака».
Как мы уже знаем, что прежде чем изменить вращение двигателя, его нужно остановить. Но не всегда так получается, так как никто не застрахован от ошибок. И вот представьте ситуацию, когда нет защиты.
Двигатель вращается в левую сторону, пускатель КМ1 в работе и с его выхода все три фазы поступают на обмотки, каждая на свою. Теперь не отключая пускатель КМ1 мы включаем пускатель КМ2. Фазы «В» и «С», которые мы поменяли местами для реверса, встретятся на выходе пускателя КМ1. Произойдет межфазное замыкание между фазами «В» и «С».
А чтобы этого не случилось, в схеме используют нормально-замкнутые контакты пускателей, которые устанавливают перед катушками этих же пускателей, и таким-образом исключается возможность включения одного магнитного пускателя пока не обесточится другой.
Как подключить реверсивный магнитный пускатель: схема, описание
В каждой установке, в которой требуется запуск электродвигателя в прямом и обратном направлении обязательно присутствует магнитный пускатель реверсивной схемы. Подключение такого компонента не является столь сложной задачей как, кажется, на первый взгляд. К тому же востребованность таких задач появляется довольно часто. К примеру, в сверлильных станках, отрезных установках или же лифтах, если это касается не бытового использования.
Принципиальным отличием такой схемы от одинарной является наличие дополнительной цепи управления и немного измененной силовой части. Также для осуществления переключения такая установка оснащена кнопкой (SB3 на рисунке).
Такая система, как правило, защищена от короткого замыкания. Для этого перед катушками в силовой цепи предусмотрено наличие двух нормально — замкнутых контакта (КМ1.2 и КМ2.2) производные от контактных приставок, размещенных в позиции магнитных пускателей (КМ1 и КМ2).
Для того чтобы приведенная схема была читабельной, изображения цепи на ней и силовые контакты имеют различное цветовое оформление. Также для упрощения, здесь не были указаны пары силовых контактов, обычно имеющие цифробуквенные аббревиатуры. Впрочем, с данными вопросами можно ознакомиться в статьях, посвященных подключению стандартных магнитных пусковых систем.
Работа цепей управления при вращении двигателя влево.
При нажатии на кнопку SB2 фаза «А» через нормально-замкнутый контакт КМ2.2 поступает на катушку магнитного пускателя КМ1, пускатель срабатывает и его нормально-разомкнутые контакты замыкаются, а нормально-замкнутые размыкаются.
При замыкании контакта КМ1.
1 пускатель встает на самоподхват, а при замыкании силовых контактов КМ1 фазы «А», «В», «С» поступают на соответствующие контакты обмоток эл. двигателя и двигатель начинает вращение, например, в левую сторону.
Здесь же, нормально-замкнутый контакт КМ1.2, расположенный в цепи питания катушки пускателя КМ2, размыкается и не дает включиться магнитному пускателю КМ2 пока в работе пускатель КМ1. Это так называемая «защита от дурака», и о ней чуть ниже.
На следующем рисунке показана часть схемы управления, отвечающая за команду «Влево». Схема показана с использованием реальных элементов.
РАЗНОВИДНОСТИ УСТРОЙСТВ
Модели магнитных пускателей классифицируются по следующим параметрам:
- рабочий ток, коммутируемый основными контактами;
- рабочее напряжение нагрузки;
- напряжение и род тока катушки управления;
- категория применения.
Номинальные токи аппаратов составляют стандартизованный ряд значений от 6,3 А до 250 А.
Этот ряд соответствует устаревшей классификации этих коммутационных приборов по величине, согласно которой все МП подразделялись на величины от нулевой (0) до седьмой (7).
Каждому значению величины МП соответствовал определённый номинальный ток. Например, нулевой величине соответствует значение 6,3 ампера, первой – 10 ампер и так далее.
С появлением большого числа зарубежных МП, распространённость классификации по величинам стала угасать. Действительно, логику введения дополнительного понятия величины МП понять трудно. Типичная «бритва Оккама». При выборе аппарата в первую очередь нас интересует его номинальный ток, о нём и следует говорить.
МП относятся к низковольтным устройствам, рассчитанным на подключение в сетях напряжением до 1000 вольт.
В этом сегменте имеется два стандартных напряжения – 380 В и 660 В. На какое напряжение рассчитана конкретная модель указывается в техническом паспорте устройства, а также написано на корпусе.
Гораздо более разнообразен ряд напряжений, на подключение к которым рассчитана катушка управления.
Это объясняется тем, что МП работают в различных системах управления и автоматики.
В этом случае подключение напряжения к катушке управления производится не просто от одной или двух фаз питающей электросети. В системах автоматики сформированы специальные цепи оперативного тока, которые бывают различными по уровню напряжения и роду тока.
Катушки управления коммутационных аппаратов могут быть рассчитаны на подключение к переменному напряжению в диапазоне от 12 до 660 вольт или к постоянному от 12 до 440 вольт.
В соответствии с ГОСТ МП делятся на 12 категорий (от AC–1 до AC–8b), в зависимости от характера нагрузки переменного тока, подключение которой они производят. Наибольшее распространение имеют категории AC-3 и AC-4, предназначенные для подключения двигателей с короткозамкнутым ротором.
МП могут различаться также комплектацией, внешним оформлением. К распространённым вариантам относятся модели, размещённые в корпусе, снаружи которого расположены кнопки «Пуск» и «Стоп».
В комплект поставки магнитного пускателя может входить тепловое реле защиты.
2012-2020 г. Все права защищены.
Представленные на сайте материалы имеют информационный характер и не могут быть использованы в качестве руководящих и нормативных документов
Особенности реверсивных пускателей
Используются такие схемы подключения в конструкциях лифтов, подъемных кранов, сверлильных станков. Если сильно не вдаваться в детали, то может показаться, что схема включения мотора с использованием реверса сложнее. Но на деле оказывается, что сложного нет ничего – в конструкцию добавилась еще одна силовая часть и управление.
Стоимость таких устройств немного выше за счет использования большего количества элементов. По сути, это два электромагнитных пускателя, объединенных в один корпус. Принцип работы у схемы специфический, потребуется внимательно рассмотреть все нюансы.
Устройство магнитного пускателя для реверсного пуска
Запуск мотора схемой звезда-треугольник При прямом запуске мощных трехфазных электродвигателей, применяя схему управления реверсом, происходят просадки напряжения в сети
Если еще раз обратить внимание на схему, то можно заметить, что пускатель КМ1 имеет прямое подключение фаз к двигателю, а КМ2 обеспечивает некоторое смещение
Включение двигателя через электромагнитный пускатель обеспечивает кроме всех удобств при управлении еще и нулевую защиту.
Внутренняя схемотехника реверсивного устройства характерна тем, что невозможно запустить одновременно два режима — прямой и реверс. Теперь посмотрите на контакты КМ2.
Действие с определенной временной задержкой предотвращает механические повреждения, исключает сильные броски напряжения при подключении к источнику нагрузки с индуктивными характеристиками.
Как происходит защита двигателя при нереверсивном пуске Защита электрического двигателя реализуется при помощи биметаллических контактов ТР , они изгибаются при увеличении тока, и расцепитель воздействует на контакт в пусковой обмотке, прекращая подачу электрической энергии. Он убирает реактивную составляющую из сети, в результате чего снижается нагрузка и, как следствие, ток потребления.
Подобным образом, замыкая имеющийся контакт КМ1, совершается эффект самозахвата магнитного устройства. Это связано с большими пусковыми токами, протекающими в этот момент. В заключении этой статьи смотрите видео, демонстрирующее детальную работу схемы реверсного пуска двигателя.
Очень рекомендую ознакомиться, перед дальнейшим чтением.
На компонентах для подключения лучше не экономить, т. Это так называемый кнопочный пост. В пускателе за коммутирование силовых контактных отвечает непосредственно катушка в металлическом сердечнике, к которой прижимается якорь, давящий на контакты и замыкающий цепь. Простейшая схема управления двигателем представлена на рис.
Во всех схемах, приведённых в этой статье, электромагнитные пускатели имеют катушку на напряжение В. Когда требуется изменение направления вращения его вала, для пуска применяют реверсивный пускатель, схема подключения которого является объектом изучения профессионалов и простых обывателей. При применении двигателей малой мощности, не требующих ограничения пусковых токов, пуск осуществляется включением их на полное напряжение сети.
Силовые и блокировочные контакты бывают нормально-разомкнутыми или норамально-замкнутыми. Изменение направления вращения двигателя, связанных с ним исполнительных механизмов — довольно востребованная процедура.
Реверсивный пускатель состоит из двух обыкновенных пускателей собранных по специальной схеме.
Электрическая схема тельфера
Цепи управления прямым/обратным ходом — базовое управление двигателем
Цепи
Если трехфазный двигатель должен вращаться только в одном направлении, и при первоначальной подаче питания обнаруживается, что он вращается в направлении, противоположном желаемому, все, что необходимо, — это поменять местами любые два из трех проводов, питающих двигатель. . Это можно сделать на двигателе или на самом двигателе.
Вращение трехфазного двигателя
После переключения двух линий направление магнитных полей, создаваемых в двигателе, теперь заставит вал вращаться в противоположном направлении. Это известно как реверсирование файла .
Если двигатель должен вращаться в двух направлениях, то ему потребуется пускатель двигателя прямого/обратного хода, который имеет два трехполюсных контактора с номинальной мощностью, а не один, как в обычном пускателе.
Каждый из двух разных пускателей электродвигателя питает двигатель с разным чередованием фаз.
Когда на контактор прямого хода подается питание, силовые контакты соединяют линию L1 с T1, линию L2 с T2 и линию L3 с T3 на двигателе. Когда на контактор реверса подается питание, силовые контакты соединяют линию L1 с T3, линию L2 с T2 и линию L3 с T1 на двигателе.
Силовая цепь прямого/обратного хода
Поскольку два пускателя двигателя управляют только одним двигателем, необходимо использовать только один набор нагревателей реле перегрузки. Обратные пути для обеих катушек пускателя соединяются с цепью пускателя, так что при перегрузке в любом направлении катушки пускателя обесточиваются и двигатель останавливается.
Обратите внимание, что два контактора должны быть и таким образом, чтобы они не могли быть запитаны одновременно. Если на обе катушки стартера одновременно подается напряжение, произойдет короткое замыкание с потенциально опасными последствиями.
Пускатели прямого/обратного хода поставляются с двумя наборами нормально разомкнутых контактов, которые действуют как удерживающие контакты в каждом направлении.
Они также поставляются с двумя наборами нормально замкнутых вспомогательных контактов, которые действуют как электрические блокировки.
Пускатели прямого/обратного хода никогда не должны замыкать свои силовые контакты одновременно. Лучший способ обеспечить это — электрические блокировки, которые предотвращают подачу питания на одну катушку, если другая катушка задействована. Сбой в электрической блокировке может привести к одновременному включению обеих катушек.
. Если оба находятся под напряжением, требуется некоторая форма механической блокировки, чтобы предотвратить втягивание обоих. движение соседней катушки. Это означает, что даже если обе катушки находятся под напряжением, только один якорь сможет полностью втянуться. Катушка, которая не может втянуться, будет издавать ужасный дребезжащий звук, пытаясь замкнуть магнитную цепь.
На механические блокировки следует полагаться как на крайнюю меру защиты.
Электрическая блокировка достигается путем установки нормально замкнутого контакта катушки одного направления последовательно с катушкой противоположного направления и наоборот.
Это гарантирует, что когда передняя катушка находится под напряжением, нажатие на реверс не приведет к возбуждению обратной катушки. Такая же ситуация возникает при включении обратной катушки. В обоих случаях необходимо нажать кнопку останова, чтобы обесточить рабочую катушку и вернуть все ее вспомогательные контакты в исходное состояние. Затем можно включить катушку противоположного направления.
Цепь управления прямым/обратным ходом
При разработке схемы управления для цепей прямого/обратного хода мы начинаем со стандартного, добавляем вторую нормально разомкнутую кнопку и ветвь удерживающего контакта для второй катушки. Одной кнопки остановки достаточно, чтобы отключить двигатель в обоих направлениях.
Две катушки механически заблокированы, а нормально замкнутые контакты мгновенного действия обеспечивают электрическую блокировку.
Если нажата кнопка прямого хода, пока не задействована катушка реверса, ток найдет путь через нормально замкнутый контакт реверса и подаст питание на катушку прямого хода, в результате чего все, что связано с этой катушкой, изменит свое состояние.
Закроется, и нормально замкнутая электрическая блокировка разомкнется. Если нажать кнопку реверса при включенной катушке прямого хода, ток не сможет пройти через нормально замкнутый контакт прямого хода, и ничего не произойдет.
Чтобы запустить двигатель в обратном направлении, передняя катушка должна быть обесточена. Для этого необходимо нажать кнопку остановки, после чего кнопка реверса сможет подать питание на катушку реверса.
Независимо от направления вращения двигателя, эта схема будет работать как стандартная трехпроводная схема, обеспечивающая до тех пор, пока не будет нажата кнопка останова или не произойдет .
Блокировка кнопок прямого/обратного хода
Блокировка кнопок требует использования четырехконтактных кнопок мгновенного действия, каждая из которых имеет набор нормально разомкнутых и нормально замкнутых контактов.
Для блокировки кнопок просто соедините нормально замкнутые контакты одной кнопки последовательно с нормально разомкнутыми контактами другой кнопки, и удерживающие контакты будут соединены с нормально разомкнутыми контактами соответствующей кнопки.
Эта цепь по-прежнему требует установки электрических блокировок.
Кнопочная блокировка не требует отключения катушек двигателя перед изменением направления, поскольку нормально замкнутые передние контакты последовательно соединены с нормально разомкнутыми реверсивными контактами, и наоборот. Нажатие одной кнопки одновременно отключает одну катушку и запускает другую. Этот внезапный реверс () может быть тяжелым для двигателя, но если требуется быстрое реверсирование двигателя, эта схема может быть решением.
Реверсивные однофазные асинхронные двигатели
Реверсивные однофазные асинхронные двигатели
Начиная с моей статьи о двигателях переменного тока,
Меня часто спрашивают, как реверсировать асинхронный двигатель переменного тока.
Ранее я не рассказывал подробно о том, как запускаются асинхронные двигатели.
потому что это обширная тема сама по себе.
Ротор асинхронного двигателя представляет собой проницаемый железный сердечник.
с залитой алюминиевой обмоткой короткого замыкания. Ты можешь видеть
алюминий на обоих концах ротора. Алюминий тоже проходит.
продольные отверстия в роторе, чтобы сделать короткую «беличью клетку»
обмотка цепи. Вы можете едва видеть линии под небольшим углом на роторе
где проходят обмотки.
Обмотка короткого замыкания заставляет ротор сопротивляться быстрым изменениям магнитного поля.
полей, поэтому, если он подвергается воздействию вращающегося магнитного поля, он попытается
следовать ему. (подробнее об этом здесь)
В трехфазном двигателе три фазы на трех обмотках естественно
создать вращающееся магнитное поле. Но для однофазных двигателей переменного тока
магнитное поле только чередуется вперед и назад. Нужна какая-то хитрость
для создания вращающегося поля.
Реверс двигателя с расщепленной фазой
В этом двигателе с расщепленной фазой основная обмотка (обозначение «M»)
подключается напрямую к сети переменного тока 60 Гц, а
другая обмотка (обозначение «О») включена последовательно с
конденсатор (С).
Взаимодействие между индуктивностью двигателя
обмотки и емкость конденсатора делают эту обмотку около 90
градусов не совпадают по фазе с основной обмоткой.
С основной обмоткой, создающей переменное по вертикали магнитное поле,
а другая обмотка создает магнитное поле, чередующееся по горизонтали
но не в фазе, их сумма представляет собой вращающееся магнитное поле.
Ротор пытается следовать за ним, заставляя его вращаться.
Для реверсирования двигателя достаточно просто переместить разъем питания.
так что другая обмотка находится непосредственно на переменном токе. По существу, перемещение
одна сторона силового соединения от (А) до (В), вызывающая обмотку (О)
быть основной обмоткой, а обмотка (М) – фазосдвинутой.
В двигателях мощностью более 1/4 л.с. две обмотки обычно имеют разные
числа витков, поэтому этот метод реверсирования может быть неприменим.
Сначала проверьте, чтобы сопротивление обеих обмоток было одинаковым.
Если обмотки не одинакового сопротивления, можно еще поменять местами
изменением полярности одной из обмоток при условии, что
обмотки не связаны между собой внутри двигателя (например, более трех
провода, выходящие из обмоток).
Обмотки стартера на больших двигателях
Теперь, если мы заглянем внутрь более крупного двигателя, такого как этот двигатель мощностью 3/4 лошадиных силы,
обмотки выглядят
намного сложнее. Обмотки распределены по множеству пазов
в статоре двигателя (С). Туда, туда
менее резкий переход от одного полюса к другому. Этот
делает магнитное поле более гладким, что делает его более тихим и более
экономичный мотор.
Этот двигатель имеет толстую основную обмотку (М) и пусковую обмотку.
из более тонкой проволоки (S). Основная обмотка создает горизонтальную
магнитное поле, а обмотка стартера создает вертикальное.
Эта пусковая обмотка включена последовательно с конденсатором (С) и центробежным
переключатель (S). В этом двигателе установлен пусковой конденсатор
внутри основного корпуса. Как правило, пусковой конденсатор устанавливается
сверху корпуса под металлическим куполом.
Центробежный переключатель (S) установлен на задней панели
и активируется диском (P), который упирается в выступ на
переключатель (слева от S на фото).
Сняв ротор и посмотрев на диск, можно увидеть два металлических выступа.
Когда двигатель вращается, центробежная сила толкает их наружу, что
в свою очередь тянет диск обратно. Это освобождает пластиковый язычок на переключателе,
что приводит к размыканию переключателя и отключению обмотки стартера.
Диск отодвигается достаточно далеко, чтобы больше не соприкасаться
с вкладкой, сводя к минимуму трение и износ. Это умный способ
активировать переключатель на основе центробежной силы без необходимости
переключиться на отжим.
Расположение центробежного переключателя издает отчетливый «щелчок».
когда он сбрасывается после выключения двигателя. Щелчок переключателя
вовлечение, когда оно начинается, гораздо труднее различить.
Если обмотка стартера помогает пуску двигателя, то обязательно поможет
мотор тоже работает. Так почему бы просто не оставить стартер
обмотка подключена? Ну,
весь фазовый сдвиг не так элегантен. Размер конденсатора вы
потребность очень сильно зависит от нагрузки двигателя.
Для быстрого запуска двигателя
вам нужна большая емкость, чем для эффективного непрерывного
операция. Кроме того, конденсатор является электролитическим конденсатором, а не
рассчитан на постоянную нагрузку. А поскольку пусковая обмотка только
используется недолго, поэтому он сделан из более тонкой проволоки, чтобы сэкономить деньги, потому что
медь дорогая.
В некоторых двигателях для запуска используется большой конденсатор.
меньший конденсатор для непрерывной работы. Такие двигатели часто имеют
два внешних конденсатора (C), как видно на этом в моей настольной пиле.
Эти двигатели называются двигателями с пусковым конденсатором.
Двигатели с конденсаторным пуском обычно имеют более одного
Лошадиные силы. Это 1,75 лошадиных силы.
Двигатели можно удешевить, заменив конденсатор на
резистор. Хотя обычно отдельный резистор не добавляется. Вместо,
обмотка стартера сделана из более тонкого (более дешевого) медного провода, поэтому
у него больше сопротивление в самой обмотке.
Это приводит к гораздо меньшему
фазовый сдвиг, чем с конденсатором, но достаточный для запуска двигателя.
Обмотки двигателя по существу образуют индуктор, и когда
синусоидальная волна переменного тока (например, мощность переменного тока) подается на индуктор,
ток отстает от напряжения на 90 градусов. И магнитное поле
является строго функцией тока.
Для резистора ток совпадает по фазе с напряжением. Если бы у нас было большое
сопротивление и малая индуктивность последовательно, падение напряжения и ток
во многом определяется резистором. Итак, ток и магнитное
поле будет в значительной степени в фазе с приложенным напряжением. С
ток в основной обмотке отстает на 90 градусов, мы бы имели
Разница между ними составляет 90 градусов, но обмотка стартера
было бы крайне неэффективно.
На самом деле компромисс гораздо дешевле
фазового сдвига и большей мощности. Этого достаточно, чтобы запустить двигатель.
Несмотря на это, стартер на этих двигателях довольно неэффективен, но он
не имеет большого значения, когда двигатель работает.
Однако дополнительный ток
требуется, чтобы стартер мог перегореть автоматический выключатель, поэтому этот метод
обычно используется только для двигателей меньшего размера, от 1/4 до 1/2 л.с.
В двигателях мощностью 3/4 лошадиных силы и выше обычно используется пусковой конденсатор.
Если вы не знакомы с аналоговой электроникой, приведенное выше объяснение
вероятно, недостаточно, и вы можете прочитать больше об индукции
двигатели, если вы этого не понимаете.
В асинхронных двигателях изнашиваются только подшипники.
выключатель стартера и конденсатор. Без конденсатора есть один
меньше вещей, чтобы потерпеть неудачу.
Совсем недавно я случайно заклинил переключатель стартера на
Резистивный пусковой двигатель мощностью 1/4 л.с. от сушилки для белья
(тот, что на
этот вентилятор), и двигатель отключился всего за 15 секунд.
его схема тепловой защиты из-за перегрева обмотки стартера.
Реверс конденсаторного пускового двигателя
Итак, как мы реверсируем двигатель с конденсаторным пуском? Как только началось,
однофазная индукция
двигатель будет счастливо работать в любом направлении.
Чтобы обратить его, нам нужно
изменить направление вращающегося магнитного поля, создаваемого основным
и обмотки стартера. И это может быть достигнуто путем обращения
полярность пусковой обмотки. По сути, нам нужно поменять местами
соединения на обоих концах обмотки стартера. Иногда это
только обмотка, иногда обмотка, переключатель и конденсатор
перевернутый. Порядок переключателя и конденсатора не
имеет значение, если они подключены последовательно.
Вы также можете реверсировать двигатель, поменяв местами основную обмотку.
(тот же эффект).
Если бы вы поменяли местами основную и пусковую обмотки, как это делают
с двигателем с расщепленной фазой двигатель также будет работать в обратном направлении. Однако,
он не будет работать на полную мощность и, скорее всего, сгорит.
пусковая обмотка не пригодна для продолжительной работы.
На этикетке этого двигателя указано: «МОТОР НЕРЕВЕРСИВНЫЙ».
Если вы посмотрите на предыдущие фотографии этого двигателя, вы увидите, что есть
из обмоток выходит всего три провода (красный, желтый и синий).
Один конец основной и пусковой обмоток соединен вместе
прямо на обмотках.
Чтобы поменять местами обмотку стартера, мне пришлось бы разорвать это соединение.
внутри обмоток и вывести другой конец стартера
обмотка. Но я действительно не могу понять это из-за
как внутри мотора. пришлось бы прорезать дырку в
корпус, чтобы даже добраться до точки, где они связаны вместе. Это
не то, чтобы этот двигатель нельзя было реверсировать, просто для экономии средств
меры, они сделали обращение вспять более трудным, чем оно того стоит.
беда.
Но на реверсивных двигателях этикетка всегда
указывает на то, чтобы поменять местами два провода, чтобы изменить его.
Провода для реверса всегда являются проводами, ведущими к обмотке стартера.
Если у вас двигатель, на котором отсутствует этикетка, обмотка стартера
обычно имеет примерно в три раза электрическое сопротивление основного
обмотка и всегда включена последовательно с выключателем стартера и конденсатором
(если он есть).
Если вы можете изолировать оба конца этой обмотки
и поменять их местами, можно реверсировать двигатель. Однако, если есть только
из обмоток выходят три провода, затем основная и пусковая обмотки
имеют один конец, связанный вместе, и двигатель не реверсивный.
Для двигателя мощностью 1/2 л.с. на 120 вольт основная обмотка обычно имеет около
1,5 Ом, а обмотка стартера около 4 Ом. Для 240 вольт 1/2 л.с.
двигателей (только 240 вольт), вы должны ожидать около 6 Ом на основной обмотке и 16 Ом
на обмотке стартера. Рассчитать сопротивление обмоток
обратно пропорциональна лошадиным силам.
Многие двигатели имеют несколько дополнительных проводов, отходящих от обмоток.
Часто к обмоткам прикрепляют термовыключатель, и этот выключатель
может быть частично привязан к одной из обмоток. Также, если двигатель
можно перепаять на 120 и 240 вольт, основная обмотка будет состоять
из двух обмоток по 120 вольт, которые могут быть соединены последовательно или параллельно.
Так что от обмоток может отходить довольно много проводов.
Это может занять
немного времени и зондирование вокруг, чтобы понять это.
Для двигателей, которые могут быть подключены как к 120 В, так и к 240 В, стартер
обмотка — обмотка на 120 вольт. Когда эти двигатели подключены к 240 вольтам,
основная обмотка используется как автотрансформатор, чтобы сделать
120 вольт на обмотку стартера. В противном случае переделка двигателя
от 120 до 240 вольт было бы намного сложнее!
Назад к моему деревообрабатывающему веб-сайту
Различные типы электрических стартеров
Многие типы электрических стартеров
Магазин стартеров
Стартер — это устройство, которое управляет использованием электроэнергии для оборудования, обычно двигателя. Как следует из названия, стартеры «запускают» двигатели. Они также могут остановить их, обратить вспять и защитить. Пускатели состоят из двух строительных блоков: контакторов и защиты от перегрузки.
- Контакторы управляют подачей электрического тока на двигатель. Их функция состоит в многократном установлении и прерывании
электрическая силовая цепь. - Защита от перегрузки защищает двигатели от чрезмерного потребления тока, перегрева и буквального «выгорания».
Стартер включает или выключает электродвигатель или электрическое оборудование, управляемое двигателем, обеспечивая при этом защиту от перегрузки. Стартеры представляют собой еще одну эволюцию в приложениях управления двигателем. Двумя основными типами пускателей являются ручные пускатели и магнитные пускатели переменного тока, широко известные как пускатели двигателей.
Ручной пускатель
Ручной пускатель, подобный изображенному выше, имеет ключевое
переключающие элементы, требующие ручного управления. Обратите внимание на зеленый переключатель
на ручном пускателе выше.
Ручной стартер управляется вручную.
Управление ручным пускателем довольно простое и понятное: кнопка или тумблер (установленный непосредственно на пускателе) нажимаются для запуска или остановки подключенного электрооборудования. Механические связи от кнопок или тумблера заставляют контакты размыкаться и замыкаться, запуская и останавливая двигатель. Часто ручной пускатель является лучшим выбором для приложения, поскольку он предлагает:
- Компактный физический размер
- Корпуса на выбор
- Низкая начальная стоимость
- Защита двигателя от перегрузки
- Безопасная и экономичная эксплуатация
Защита от низкого напряжения (LVP), которая предотвращает автоматический перезапуск оборудования после сбоя питания, обычно невозможна при ручном пускателе. Это означает, что при отключении питания контакты питания остаются замкнутыми (тумблер или кнопка в положении ON). Когда питание восстанавливается, двигатель автоматически перезапускается. В зависимости от приложения это может создать опасную ситуацию.
Из-за этой особенности ручные пускатели обычно используются при небольших нагрузках, где не требуется защита от низкого напряжения.
Магнитный пускатель двигателя
Другим основным типом пускателя является магнитный пускатель двигателя переменного тока. Эти пускатели широко используются, и часто термин «стартер двигателя» используется в отношении магнитного пускателя двигателя переменного тока. Пускатели двигателей предлагают некоторые дополнительные возможности, недоступные в ручном пускателе, в первую очередь дистанционное и автоматическое управление. Другими словами, магнитный пускатель двигателя переменного тока удаляет оператора из непосредственной зоны. Как и магнитные контакторы, работа пускателя электродвигателя зависит от магнитов и магнетизма. Эти дополнительные возможности частично обусловлены электромагнитным управлением пускателей двигателей и схемой управления.
Магнитная схема пускателя двигателя
Пускатель двигателя имеет две цепи: цепь питания и цепь управления .
Цепь питания проходит от линии к двигателю. Электричество проходит через контакты пускателя, реле перегрузки и выходит на двигатель. Силовые (основные) контакты проводят ток двигателя.
Цепь управления управляет контактором (вкл./выкл.). Контакты, которые прерывают или пропускают основной ток к двигателю, управляются путем размыкания или замыкания контактов в цепи управления. Цепь управления подает питание на катушку, создавая электромагнитное поле, которое замыкает силовые контакты, тем самым подключая двигатель к сети. Схема управления делает возможным дистанционное управление.
Схема управления может получать питание одним из двух способов. Если цепь управления получает питание от того же источника, что и двигатель, это называется Common Control .
Другой тип — Отдельное управление . Это самая распространенная форма контроля. В этом случае схема управления получает питание от отдельного источника, напряжение которого обычно ниже, чем у источника питания двигателя.
Кроме того, есть два способа подключения цепи управления. Один распространенный метод подключения цепи управления известен как двухпроводная схема. В нем используется пилотное устройство с постоянным контактом, такое как термостат, поплавковый выключатель или датчик присутствия. Эта схема обеспечивает автоматическую работу (старт-стоп) нагрузки.
Другим распространенным методом подключения цепи управления является трехпроводное управление. Он использует пилотные устройства с мгновенным контактом и контакт цепи удержания. Контакт удерживающей цепи обычно является вспомогательным контактом на пускателе или контакторе. Если питание прерывается, цепь должна быть перезапущена оператором или другой логикой.
Магнитные пускатели двигателей, подобные изображенному выше,
способны работать без ручного
вмешательство. Таким образом, оператор по-прежнему способен
запуск двигателя, однако, из удаленного места.
Характеристики пускателя двигателя
Все пускатели двигателей имеют следующие общие функции управления мощностью:
- Номинальный ток (ампер) или мощность (лошадиные силы)
- Дистанционное управление ВКЛ/ВЫКЛ
- Защита двигателя от перегрузки
- Пуск и остановка (электрический ресурс)
- Включение и отключение (быстрый ток включения и отключения)
Разновидности пускателей двигателей
Четыре конкретных разновидности пускателей электродвигателей: кросс-линейный, реверсивный пускатель, многоскоростной пускатель и пускатель с пониженным напряжением.
- Межлинейный пускатель или Полновольтный нереверсивный (FVNR) — наиболее часто используемый пускатель общего назначения. Этот стартер подключает поступающую мощность непосредственно к двигателю. Его можно использовать в любом приложении, где двигатель работает только в одном направлении, только с одной скоростью, а пуск двигателя непосредственно через линию не создает «провалов» в электроснабжении.
- Реверсивный пускатель или Реверсивное устройство полного напряжения (FVR) реверсирует двигатель, меняя местами любые два провода к двигателю. Это достигается с помощью двух контакторов и одного реле перегрузки. Один контактор для прямого направления, а другой для обратного. Он имеет как механически, так и электрически сблокированные наборы контакторов.
- Многоскоростной стартер предназначен для работы при постоянной частоте и напряжении. Есть два способа изменить скорость двигателя переменного тока: изменить частоту тока, подаваемого на двигатель, или использовать двигатель с обмотками, которые могут быть пересоединены для формирования различного числа полюсов.
Многоскоростной стартер использует последний вариант для изменения скорости. - Пускатель пониженного напряжения (RVS) используется в приложениях, которые обычно включают двигатели большой мощности. Двумя основными причинами использования пускателя с пониженным напряжением являются снижение пускового тока и ограничение выходного крутящего момента и механического воздействия на нагрузку.
Энергетические компании часто не допустят такого внезапного роста спроса на электроэнергию. Пускатель с пониженным напряжением решает эту проблему пускового тока, позволяя двигателю набирать скорость меньшими шагами, потребляя меньшие приращения тока. Этот стартер не является регулятором скорости. Это уменьшает удар, передаваемый на нагрузку только при запуске.
На изображении выше представлена схема реверсивного стартера. Реверсивный магнитный пускатель двигателя включает в себя пускатель прямого и обратного хода как часть узла.
Начальный видео обзор
youtube.com/embed/WEQzD_OO2zU» allowfullscreen=»»>
(назад к стартерам)
Цепи управления двигателем | Ladder Logic
Блокировочные контакты, установленные в цепи управления двигателем предыдущей секции, работают нормально, но двигатель будет работать только до тех пор, пока удерживается нажатым каждый кнопочный переключатель.
Если бы мы хотели, чтобы двигатель работал даже после того, как оператор убирает руку с переключателя(ей) управления, мы могли бы изменить схему несколькими способами: мы могли бы заменить кнопочные выключатели на тумблеры, или мы могли бы добавить еще немного релейной логики, чтобы «зафиксировать» схему управления одним мгновенным срабатыванием любого переключателя.
Давайте посмотрим, как реализуется второй подход, так как он широко используется в промышленности:
При нажатии кнопки «Вперед» на M 1 подается напряжение, замыкая нормально разомкнутый вспомогательный контакт параллельно этому выключателю.
Когда кнопка отпущена, замкнутый вспомогательный контакт M 1 будет подавать ток на катушку M 1 , таким образом фиксируя цепь «Вперед» во включенном состоянии.
То же самое происходит при нажатии кнопки «Реверс». Эти параллельные вспомогательные контакты иногда обозначаются как 9.0283 пломба контакты, слово «пломба» означает практически то же самое, что и слово защелка .
Однако возникает новая проблема: как остановить двигатель! Поскольку схема существует прямо сейчас, двигатель будет вращаться вперед или назад после нажатия соответствующего кнопочного переключателя и будет продолжать работать до тех пор, пока есть питание.
Чтобы остановить любую цепь (вперед или назад), нам требуются некоторые средства, чтобы оператор отключил питание контакторов двигателя. Мы назовем этот новый переключатель, Стоп :
Теперь, если прямая или обратная цепи заблокированы, их можно «разблокировать» мгновенным нажатием кнопки «Стоп», которая размыкает прямую или обратную цепь, обесточивая включенный контактор и возврат пломбируемого контакта в его нормальное (разомкнутое) состояние.
Выключатель «Стоп», имеющий нормально замкнутые контакты, при отпускании подает питание на прямую или обратную цепи.
Пока все хорошо. Давайте рассмотрим еще один практический аспект нашей схемы управления двигателем, прежде чем мы перестанем ее добавлять.
Если бы наш гипотетический двигатель вращал механическую нагрузку с большим импульсом, например, большой вентилятор, двигатель мог бы продолжать работать выбегом в течение значительного времени после нажатия кнопки останова.
Это может быть проблематично, если оператор попытается изменить направление вращения двигателя, не дожидаясь остановки вращения вентилятора.
Если вентилятор все еще вращался вперед и была нажата кнопка «Реверс», двигатель с трудом преодолевал инерцию большого вентилятора, пытаясь начать вращаться в обратном направлении, потребляя чрезмерный ток и потенциально сокращая срок службы двигателя. , приводные механизмы и вентилятор.
Что бы нам хотелось, так это какую-то функцию задержки времени в этой системе управления двигателем, чтобы предотвратить такой преждевременный запуск.
Начнем с добавления пары катушек реле с выдержкой времени, по одной параллельно каждой катушке контактора двигателя.
Если мы используем контакты, которые задерживают возвращение в нормальное состояние, эти реле предоставят нам «память» о том, в каком направлении двигатель в последний раз вращался.
Мы хотим, чтобы каждый контакт с временной задержкой открывал ветвь пускового выключателя противоположной цепи вращения на несколько секунд, пока вентилятор останавливается выбегом.
Если двигатель работал в прямом направлении, оба M 1 и TD 1 будут под напряжением.
В этом случае нормально-замкнутый контакт TD 1 между проводами 8 и 5 немедленно разомкнется в момент подачи питания на TD 1 .
При нажатии кнопки останова контакт TD 1 выжидает указанное количество времени, прежде чем вернуться в нормально замкнутое состояние, удерживая, таким образом, цепь кнопки реверса разомкнутой на время так M 2 не может быть запитан.
Когда TD 1 истечет, контакт замкнется, и цепь позволит подать питание на M 2 , если нажать кнопку реверса.
Аналогичным образом, TD 2 предотвратит подачу питания на кнопку «Вперед» M 1 до истечения установленной временной задержки после отключения M 2 (и TD 2 ).
Внимательный наблюдатель заметит, что функции временной блокировки TD 1 и TD 2 заменяют блокирующие контакты M 1 и M 2 . Мы можем избавиться от вспомогательных контактов M 1 и M 2 для блокировок и просто использовать контакты TD 1 и TD 2 , так как они немедленно размыкаются при подаче питания на соответствующие катушки реле, таким образом «блокируя ” один контактор, если другой находится под напряжением.
Каждое реле задержки времени выполняет двойную функцию: предотвращает подачу питания на другой контактор во время работы двигателя и предотвращает подачу питания на тот же контактор в течение заданного времени после отключения двигателя.
Полученная схема имеет то преимущество, что она проще, чем в предыдущем примере:
ОБЗОР:
- Катушки контактора двигателя (или «пускателя») обычно обозначаются буквой «M» схемы лестничной логики.
- Непрерывная работа двигателя с пусковым выключателем мгновенного действия возможна, если нормально разомкнутый пломбируемый контакт контактора подключен параллельно пусковому выключателю, так что после подачи питания на контактор он сохраняет питание для себя и сам «зацепился».
- Реле задержки времени обычно используются в цепях управления большими двигателями для предотвращения запуска двигателя (или реверса) до тех пор, пока не пройдет определенное время с момента события.
СВЯЗАННЫЕ РАБОЧИЕ ТАБЛИЦЫ:
- Рабочий лист цепей управления двигателем переменного тока
- Схемы управления двигателем постоянного тока. Лист
- Рабочий лист логики электромеханического реле
- Электромеханические реле с выдержкой времени Рабочий лист
.
Как реконструировать печатную плату
Реверс-инжиниринг играет роль во многих отраслях промышленности и особенно популярен среди тех, кто использует в своей работе печатные платы (ПП).
Используя обратный инжиниринг печатных плат, вы можете получить важную информацию об их функциях и конструкции, что поможет вам выполнить ремонт, модернизировать старые печатные платы или создать более дешевую альтернативу конкуренту. Зная, как реконструировать печатные платы, вы можете получить полное представление о том, как работают ваши печатные платы, и воспользоваться многими преимуществами этого процесса.
Узнайте больше о том, что означает реверс-инжиниринг и каковы его преимущества для ваших печатных плат, изучив приведенную ниже информацию. Вы также узнаете, как реконструировать печатную плату.
Что означает обратный инжиниринг печатной платы?
Обратный инжиниринг печатных плат — это многоуровневый процесс, включающий целевое исследование печатных плат, обратный анализ и воспроизведение технологии проектирования печатных плат. Процесс также используется для определения и получения проекта функциональных и структурных характеристик продукта, а также потока обработки.
Обладая этой информацией, компания может производить продукты с аналогичными функциями и возможностями, хотя предприятия будут следить за тем, чтобы они не воспроизводили точную копию печатной платы, подвергнутой обратному проектированию.
Обратный инжиниринг в основном используется для определения и анализа принципов проектирования продукта. Это особенно полезно, когда компания не может легко найти информацию о дизайне конкретного продукта.
Наиболее распространенный метод обратного проектирования печатной платы включает в себя разборку образца печатной платы и последующий ее анализ. На основе этого анализа компания создаст документацию об образце печатной платы, которую могут просмотреть различные члены команды. Эта документация часто включает информацию о том, как устроен продукт и как он работает.
Затем компания может использовать информацию, полученную от образца печатной платы, для производства аналогичных печатных плат, которые могут работать лучше, чем предложения их конкурентов.
Наряду со способностью реверс-инжиниринга помогать компаниям анализировать и превосходить продукты конкурентов, он также может помочь предприятиям улучшить свои собственные предложения печатных плат. Например, обратный инжиниринг может помочь им улучшить функциональность своих плат, обнаружив устаревшие детали, проблемы с безопасностью или плохой дизайн.
Каковы преимущества обратного проектирования печатной платы?
Реверс-инжиниринг печатных плат имеет ряд преимуществ — многие компании используют эти устройства для различных целей. Например, вы можете захотеть перепроектировать печатную плату, на которую нет документации, или печатную плату, которая устарела, но по-прежнему имеет решающее значение для ваших процессов. Обратный инжиниринг также может помочь вам производить более эффективные или менее дорогостоящие версии печатных плат конкурентов.
Узнайте больше о преимуществах обратного проектирования печатных плат ниже:
- Обслуживание важных печатных плат: Иногда у вас может быть устаревшая печатная плата, которая выполняет необходимую функцию, например, питание механизма или электронного компонента.
Если печатная плата выходит из строя или ее необходимо заменить, возможно, вы не сможете найти замену или узнать, как ее отремонтировать. Обратное проектирование устаревшей печатной платы может помочь вам в обеих этих ситуациях, позволяя поддерживать важные печатные платы в течение длительного времени и потенциально клонировать их для замены, когда ремонт невозможен. - Получить информацию о печатных платах без документации: Большинство современных печатных плат поставляются с документацией или данными автоматизированного проектирования (САПР), которые люди могут просмотреть. Иногда у печатных плат нет доступной для них информации. В этом случае обратный инжиниринг имеет решающее значение для сбора необходимой информации о схеме и конструкции печатной платы. Обратный инжиниринг позволяет вам создавать собственную документацию по продукту, помогая вам понять, как его восстановить или воспроизвести.
- Уменьшите свою зависимость от экспертов: Один из первых шагов, который вы, вероятно, предпримете, если с вашей печатной платой возникнет проблема, — это обратиться к эксперту за помощью в устранении неполадок и ремонте.
Иногда нет профессионалов, у которых есть опыт работы с вашей печатной платой. Это отсутствие знаний о печатной плате может поставить вас в безвыходное положение. Обратный инжиниринг позволяет получить важную информацию о вашей печатной плате и областях, которые могут вызывать проблемы, без помощи профессионала. - Определите слабые места в разработках конкурентов: Если вы производите печатные платы, вы можете найти способы сделать свою продукцию более эффективной, чем предложения ваших конкурентов. Реверс-инжиниринг печатной платы конкурента позволяет выявить в ней слабые места. Обладая этой информацией, вы можете улучшить свои собственные печатные платы и продавать более эффективный продукт. Даже если вы не пытаетесь продать печатную плату, вы можете определить слабые места в конструкции печатной платы, чтобы создать более эффективные для ваших уникальных целей.
- Производство менее дорогостоящих печатных плат: Если у вас есть конкурент, продающий печатную плату по высокой цене, вы можете провести обратный инжиниринг, чтобы определить, сколько на самом деле стоит ее производство.
Компании часто продают печатные платы по более высокой цене из-за отсутствия конкуренции. Определив, сколько стоит изготовление печатной платы, вы сможете произвести аналогичную плату по более выгодной цене, что поможет вам привлечь новых клиентов, у которых раньше не было других вариантов.
Реконструкция печатной платы
Обратное проектирование печатных плат может быть долгим процессом, но оно того стоит. Есть несколько основных этапов обратного проектирования печатных плат, которым должен следовать каждый, кто пытается это сделать. Реверс-инжиниринг печатной платы включает в себя создание исходных чертежей, сканов или фотографий печатных плат, которые затем загружаются в соответствующее программное обеспечение и программы реверс-инжиниринга. После загрузки пользователи должны построить макет печатной платы и использовать этот макет для создания схем.
Выполнив эти основные шаги, вы будете точно знать, как работает печатная плата, что может помочь вам в достижении любой поставленной цели.
Если вы хотите узнать больше об этом процессе, ознакомьтесь с обзором реконструирования печатных плат ниже:
1. Начертите, отсканируйте или сфотографируйте печатную плату для подготовки изображения
Первым шагом в обратном проектировании печатной платы является рисование, сканирование или фотографирование печатной платы. Если вы фотографируете его, убедитесь, что вы фотографируете обе стороны печатной платы. Также важно сфотографировать его на темном фоне. Поскольку на печатных платах могут быть отверстия, вам не нужно, чтобы через эти отверстия был виден какой-либо фон, поскольку более светлый фон может выглядеть как медь. Темный фон предотвращает путаницу в конструкции печатной платы.
Другим необходимым шагом для правильного фотографирования печатных плат является использование высококачественной камеры, способной запечатлеть каждую деталь. Для этого шага обычно достаточно цифровых камер или смартфонов. Кроме того, вы должны убедиться, что печатная плата хорошо освещена.
После фотографирования или сканирования изображений потребуется длительный процесс, в ходе которого вам потребуется выполнить переключение цвета или редактирование изображения. Эти шаги часто требуются для сложных макетов, поскольку фотографии и сканы могут отображать более сложные макеты.
Для более простых печатных плат вы можете нарисовать макет на листе миллиметровой бумаги. Если вы рисуете печатную плату, убедитесь, что вы зафиксировали точный масштаб печатной платы и используете символы для каждого компонента. Хотя рисовать печатную плату вручную может быть сложно, это позволяет вам обойти переключение цветов и редактирование изображения и сразу приступить к подготовке схемы.
2. Загрузите изображение
После того, как вы сделали снимки, вы можете загрузить их в свою программу реверсивного проектирования. Перед загрузкой изображения вручную обрежьте изображение, чтобы на фотографии была видна только печатная плата. В Интернете доступно множество программ, которые помогут вам редактировать любые фотографии или сканы и управлять ключевыми функциями печатной платы.
Например, вы можете использовать GIMP или Inkscape — обе платформы являются бесплатными графическими редакторами с открытым исходным кодом. Inkscape — редактор векторной графики. Dia — еще одно бесплатное программное решение с открытым исходным кодом для построения диаграмм общего назначения. Вы также можете рассмотреть возможность использования AutoTrace, программы, которая преобразует растровые изображения в векторную графику.
Все эти программы могут быть полезны в процессах разработки схем и компоновки. После того, как вы завершите процессы разработки схемы и компоновки, вам может потребоваться программное обеспечение САПР для получения более подробных результатов.
3. Построение макета
После загрузки изображений в выбранную вами программу обратного проектирования печатных плат вам потребуется построить 3D-макет печатной платы. Компоновка печатной платы показывает, как устроено распределение электромагнитного поля системы и как ведут себя схемы. Он также представляет другие части печатной платы, которые не могут быть показаны на схеме, такие как компоненты, проводящие элементы, расположение дорожек и плоскости каждого слоя.
Если вы реконструируете простую печатную плату, вы часто можете просто отсканировать чертеж печатной платы и загрузить его в AutoTrace или подобную программу для построения топологии. Программа этого типа возьмет растровое изображение и преобразует его в векторную графику, помогая вам быстро получить схему печатной платы.
Для более сложной печатной платы вам придется подвергнуть свое изображение множеству шагов редактирования перед созданием схемы. Как правило, вы можете ожидать, что эти шаги потребуют некоторого опыта и потребуют много часов, пока вы пытаетесь построить макет.
Ниже приведены некоторые основные этапы редактирования, используемые на каждой стороне печатной платы для создания компоновки:
- «Покраска» отверстий и контактных площадок: Перед переносом печатной платы вам необходимо «покрасить» контактные площадки. и отверстия, чтобы не потерять их. Вы можете добиться этого, поменяв каналы местами, так как это может улучшить видимость отверстий.

- Удаление трекпадов печатных плат: Пользователям, которые запускают свои печатные платы с помощью AutoTrace, перед использованием программного обеспечения необходимо избавиться от всех трекпадов печатных плат. Эти трекпады на печатных платах могут преобразовываться в циклы в программе, поэтому вам следует удалить их, чтобы сохранить точность.
- Отметьте свободные отверстия: На многослойных платах часто есть отверстия или области, которые не соединяются ни с чем другим или не соединяются с внутренними слоями печатной платы. Вы должны пометить эти отверстия на этапе редактирования, чтобы вы могли их идентифицировать.
- Настройка насыщенности и слоев: Чтобы улучшить видимость на окрашенных печатных платах, отрегулируйте насыщенность и слои.
- Очистить дорожки: Перед преобразованием изображения платы в такой программе, как AutoTrace, очистите все дорожки. Если вы оставите дорожки беспорядочными, результирующая схема может быть нечеткой из-за плохого преобразования.
Вы также можете сгладить края изображения, чтобы обеспечить чистое преобразование изображения. - Обесцвечивание и инвертирование изображения: Чтобы обесцветить изображение, примените к нему оттенки серого. Как только вы закончите это, вы инвертируете изображение, чтобы линии печатной платы стали темными и отображались на белом фоне. Этот процесс обесцвечивания имеет решающее значение для получения более точной передачи AutoTrace, поскольку он очищает любые белые или серые цвета.
- Повторите процесс с другой стороны: Чтобы создать полную компоновку, вам необходимо выполнить описанные выше шаги редактирования на другой стороне печатной платы. Если вы не повторите процессы для другой стороны печатной платы, вы не сможете создать двустороннюю схему, необходимую для обратного проектирования печатной платы.
4. Создание схемы
Следующим шагом является создание схемы печатной платы. Когда вы создаете принципиальную схему печатной платы, вы можете видеть каждую схему и все компоненты платы.
Диаграмма обычно принимает форму чертежа сборки 2D CAD. Это двухмерное представление схемы помогает инженеру увидеть, как соединяются различные компоненты и каковы их функции. Вся эта информация имеет решающее значение, когда вы пытаетесь восстановить или воспроизвести печатную плату.
Для создания схемы вы можете использовать такую программу, как AutoTrace, или программу САПР для разводки печатных плат, например Target 3001!. Этот шаг часто относительно проще, чем этап компоновки, так как вы уже закончили все, что нужно для рисования или редактирования фотографий.
После создания схемы вам нужно будет объединить обе стороны печатной платы, расположить дорожки и пометить компоненты символами. Пометив и расположив дорожки, вам будет легче интерпретировать схему. Если вы реконструируете печатную плату, чтобы ее можно было отремонтировать, вы можете просмотреть схему и использовать ее для устранения неполадок печатной платы. Этот процесс устранения неполадок часто включает замену любых необходимых линий и проверку ключевых компонентов.
Имея на руках компоновку и схемы, вы должны иметь полное представление о том, как работает печатная плата.
Выберите Millenium Circuits Limited для разработки решений для ваших печатных плат
Учитывая все сложные требования, предъявляемые к обратному проектированию печатных плат, вы можете обратиться за помощью к специалистам по печатным платам. Если вы хотите улучшить старый дизайн печатной платы или создать что-то новое, Millenium Circuits Limited поможет вам.
В MCL мы занимаемся производством высококачественных печатных плат для компаний в различных отраслях. Мы можем предоставить вам практически любой тип печатной платы, о котором вы можете подумать, что помогает нам удовлетворить практически любые ваши потребности. Мы даже можем изготовить прототипы печатных плат для тех случаев, когда вам нужно уникальное решение для ваших производственных процессов. Прототипы печатных плат могут предложить широкий спектр преимуществ для бизнеса. Когда вам нужно что-то от скрытых печатных плат до двухсторонних печатных плат FR4, у нас есть ответы на ваши проблемы.
Если у вас есть какие-либо вопросы о обратном инжиниринге или вы хотите узнать больше о наших инженерных решениях, свяжитесь с нами. Один из наших представителей ответит вам как можно быстрее, чтобы оказать вам помощь, которую вы ищете.
Миллениум Цепи Лимитед | 7703 Derry St. Harrisburg, PA 17111-5205
Номер DUNS: 620140256 | КЛЕТКА: 8E6L6
- Карта сайта
- Политика конфиденциальности
- Copyright © 2022. Все права защищены
Электрическая система малого однодвигательного самолета
Легкие самолеты обычно имеют относительно простую электрическую систему, потому что простые самолеты обычно требуют меньшей избыточности и меньшей сложности, чем более крупные транспортные самолеты. На большинстве легких самолетов имеется только одна электрическая система, питаемая от генератора переменного тока или генератора с приводом от двигателя.
Аккумулятор самолета используется для аварийного питания и запуска двигателя. Электроэнергия обычно распределяется через одну или несколько общих точек, известных как электрическая шина (или шина).
Почти все электрические цепи должны быть защищены от сбоев, которые могут возникнуть в системе. Неисправности обычно известны как обрывы или короткие замыкания. Разомкнутая цепь — это электрическая неисправность, возникающая при отключении цепи. Короткое замыкание — это электрическая неисправность, возникающая, когда одна или несколько цепей создают нежелательное соединение. Наиболее опасное короткое замыкание возникает, когда положительный провод создает нежелательное соединение с отрицательным соединением или землей. Обычно это называется замыканием на землю.
| Рис. 1. Панель выключателя легкого самолета |
Существует два способа защиты электрических систем от неисправностей: механический и электрический.
Механически провода и компоненты защищены от истирания и чрезмерного износа за счет правильной установки и добавления защитных кожухов и экранов. Электрически провода можно защитить с помощью автоматических выключателей и предохранителей. Автоматические выключатели защищают каждую систему в случае короткого замыкания. Следует отметить, что вместо автоматических выключателей можно использовать плавкие предохранители. Предохранители обычно находятся на старых самолетах. Панель автоматического выключателя легкового самолета показана на рис. 1.
Цепь аккумуляторной батареи
Аккумуляторная батарея самолета и цепь аккумуляторной батареи используются для подачи питания для запуска двигателя и для обеспечения резервного источника питания в случае отказа генератора переменного тока (или генератора). Схема типичной цепи аккумулятора показана на рисунке 2. На этой схеме показано соотношение цепей стартера и внешнего питания. Жирные линии на схеме представляют большой провод (см.
провод, выходящий из положительного соединения батареи), который используется в цепи батареи из-за сильного тока, проходящего через эти провода. Поскольку батареи могут обеспечивать большие токи, батарея обычно подключается к системе через электрический соленоид. В начале/конце каждого полета аккумулятор подключается/отключается от электрической распределительной шины через контакты соленоида. Главный выключатель батареи на кабине экипажа используется для управления соленоидом. 9Рис. 2. Схема типовой цепи батареи Соленоид обычно используется для переключения сильноточных цепей, а реле используется для управления слаботочными цепями. Чтобы облегчить путаницу, термин «контактор» часто используется при описании переключателя с магнитным приводом. Для общих целей авиатехник может считать термины реле, соленоид и контактор синонимами. Каждый из этих трех терминов может использоваться на схемах и схемах для описания электрических переключателей, управляемых электромагнитом.
Здесь видно, что положительный провод аккумулятора подключен к электрической шине, когда главный выключатель аккумулятора активен.
Соленоид батареи показан на рис. 3. Выключатель батареи часто называют главным выключателем, поскольку он выключает или включает практически всю электроэнергию, управляя подключением батареи. Обратите внимание, как электрические соединения соленоида аккумулятора защищены от короткого замыкания резиновыми крышками на концах каждого провода.
| Рис. 3. Соленоид батареи |
Амперметр, показанный в цепи батареи, используется для контроля тока, протекающего от батареи к распределительной шине. Когда все системы работают правильно, ток батареи должен течь от главной шины к батарее, давая положительный результат на амперметре. В этом случае батарея заряжается. Если генератор переменного тока (или генератор) самолета выходит из строя, амперметр показывает отрицательное значение. Отрицательная индикация означает, что ток покидает батарею для питания любой электрической нагрузки, подключенной к шине.
Аккумулятор разряжается, и дрон может полностью потерять электроэнергию.
Цепь генератора
Цепи генератора используются для управления электроэнергией между генератором самолета и распределительной шиной. Как правило, эти цепи встречаются на старых самолетах, которые не были модернизированы до генератора переменного тока. Цепи генератора контролируют питание обмотки возбуждения и питание от генератора к электрической шине. Главный выключатель генератора обычно используется для включения генератора путем управления током возбуждения. Если генератор вращается и в цепь возбуждения подается ток, генератор вырабатывает электроэнергию. Выходная мощность генератора регулируется блоком управления генератором (или регулятором напряжения). Упрощенная схема управления генератором показана на рис. 4. Как видно на рис. 4, переключатель генератора управляет мощностью поля генератора (клемма F). Выходной ток генератора подается на шину самолета через цепь якоря (клемма А) генератора.
| Рисунок 4. Схема управления генератором генератора |
Схема генерации
ГЛАВНОГО ГРУБКА. Генератор управляется пилотом через главный выключатель генератора. Главный выключатель генератора, в свою очередь, управляет цепью в блоке управления генератором (или регулятором напряжения) и посылает ток на поле генератора. Если генератор переменного тока питается от двигателя самолета, генератор переменного тока производит электроэнергию для электрических нагрузок самолета. Цепь управления генератором содержит три основных компонента цепи генератора: генератор, регулятор напряжения и главный выключатель генератора. [Рисунок 5]
| Рис. 5. Цепь управления генератором |
Регулятор напряжения управляет током возбуждения генератора в соответствии с электрической нагрузкой самолета.
Если двигатель самолета работает и главный выключатель генератора переменного тока включен, регулятор напряжения регулирует ток на поле генератора по мере необходимости. Если на поле генератора поступает больше тока, выходная мощность генератора увеличивается и питает нагрузки самолета через распределительную шину.
Необходимо контролировать правильность выходной мощности всех генераторов. Большинство легких самолетов используют амперметр для контроля выходной мощности генератора. На рис. 6 показана типичная схема амперметра, используемая для контроля выходного сигнала генератора переменного тока. Амперметр, помещенный в цепь генератора переменного тока, представляет собой измеритель одной полярности, который показывает ток только в одном направлении. Этот поток идет от генератора к шине. Поскольку генератор переменного тока содержит диоды в цепи якоря, ток не может течь от шины к генератору в обратном направлении.
Рис. 6. Типовая схема амперметра, используемая для контроля выхода генератора |
Если система генератора не работает, амперметр показывает нулевое значение. В этом случае батарея разряжается. Вольтметр также является ценным инструментом при поиске и устранении неисправностей в системе генератора переменного тока. Вольтметр следует устанавливать в электрическую систему при работающем двигателе и работающем генераторе. Нормально работающая система выдает напряжение в указанных пределах (примерно 14 вольт или 28 вольт в зависимости от электрической системы). Обратитесь к руководству по эксплуатации самолета и убедитесь, что напряжение в системе правильное. Если напряжение ниже указанных значений, следует проверить систему зарядки.
Внешняя цепь питания
На многих самолетах используется внешняя цепь питания, обеспечивающая возможность подключения электропитания от наземного источника к летательному аппарату.
Внешнее питание часто используется для запуска двигателя или обслуживания самолета. Этот тип системы позволяет работать с различными электрическими системами без разрядки аккумулятора. Внешние системы питания обычно состоят из электрической вилки, расположенной в удобном месте фюзеляжа, электрического соленоида, используемого для подключения внешнего питания к шине, и соответствующей проводки для системы. Обычная внешняя розетка питания показана на рис. 7.
| Рис. 7. Гнездо внешнего питания |
Этот диод используется для предотвращения любого случайного подключения в случае, если внешний источник питания имеет неправильную полярность (т. е. противоположное положительное и отрицательное электрические соединения). Подключение с обратной полярностью может иметь катастрофические последствия для электрической системы самолета.
При подключении источника заземления с обратной полярностью диод блокирует ток и внешний соленоид питания не закрывается.
| Рис. 8. Простая схема внешнего источника питания |
На этой диаграмме также показано, что внешнее питание может использоваться для зарядки аккумуляторной батареи самолета или питания электрических нагрузок самолета. Чтобы внешнее питание запускало двигатель самолета или приводило в действие электрические нагрузки, главный выключатель аккумуляторной батареи должен быть замкнут.
Цепь стартера
Практически во всех современных самолетах для запуска авиадвигателя используется электродвигатель. Поскольку для запуска двигателя требуется несколько лошадиных сил, стартер часто может потреблять 100 и более ампер. По этой причине все стартеры управляются через соленоид.
[Рисунок 9]
Рисунок 9. Цепь стартера достигается, когда аккумулятор и стартер устанавливаются близко друг к другу в самолете. Как показано на схеме стартера, пусковой переключатель может быть частью многофункционального переключателя, который также используется для управления магнето двигателя. [Рисунок 10]
Стартер может питаться от бортовой батареи или внешнего источника питания. Часто, когда аккумулятор самолета разряжен или нуждается в подзарядке, для питания стартера используется внешняя цепь питания. Во время большинства типичных операций стартер питается от аккумуляторной батареи самолета. Главный аккумулятор должен быть включен, а главный соленоид закрыт, чтобы запустить двигатель с аккумулятором. Цепь питания авионикиМногие самолеты имеют отдельную шину распределения питания специально для электронного оборудования. Эту шину часто называют шиной авионики. Поскольку в современном оборудовании авионики используются чувствительные электронные схемы, часто выгодно отключать все авионику от электропитания для защиты их цепей. Например, шина авионики часто обесточивается при включении стартера. Это помогает предотвратить попадание любых скачков переходного напряжения, создаваемых стартером, на чувствительную авионику. [Рисунок 11]
В схеме используется нормально замкнутый (НЗ) соленоид, который подключается к главной шине питания авионики. Электромагнит соленоида активируется всякий раз, когда включается стартер. Ток поступает от пускового выключателя через диод D1, вызывая размыкание соленоида и обесточивание шины авионики. Отдельный выключатель питания авионики также может использоваться для отключения всей шины авионики. Типичный выключатель питания авионики показан последовательно соединенным с шиной питания авионики. В некоторых случаях этот выключатель совмещен с автоматическим выключателем и выполняет две функции (называется автоматическим выключателем). Следует также отметить, что контактор авионики часто называют реле раздельной шины, поскольку контактор отделяет (разделяет) шину авионики от основной шины. Цепь шасси Другая распространенная схема, используемая в легких самолетах, управляет системами убирающихся шасси легких самолетов с высокими характеристиками. Эти самолеты обычно используют гидравлическую систему для перемещения шасси. Необходим ряд концевых выключателей для контроля положения каждой передачи во время работы системы. (Концевой выключатель — это просто подпружиненный контактный выключатель мгновенного действия, который активируется, когда шасси достигает своего предела хода.) Обычно шесть концевых выключателей расположены в нишах колес шасси. Три верхних концевых выключателя используются для определения момента, когда шестерня достигает положения полного втягивания (ВВЕРХ). Система шасси также должна указывать пилоту, что шасси находятся в безопасном положении для посадки. Многие самолеты используют серию из трех зеленых огней, когда все три передачи включены и заблокированы в посадочном положении. Эти три индикатора активируются верхними и нижними концевыми выключателями, расположенными в нише шестерни. Типичная приборная панель с переключателем положения шасси и тремя индикаторами пониженных передач показана на рис. 12.
|

Их блок контакты включены в цепь управления для выполнения подхвата и электрической блокировки. Катушки этих пускателей также включены в цепь управления. Нужно сказать, что каждый из магнитных пускателей отвечает за определенное вращение ротора . Например, питание подаётся через магнитный пускатель КМ1 , то вал электродвигателя будит вращаться по часовой стрелке (вперед), если же питание подаётся через силовые контакты магнитного пускателя КМ2 , то вал асинхронного двигателя будит вращаться против часовой стрелки (назад).
Служит для защиты от перегрузки.
Они нужны для замыкания/размыкания силовых мощных нагрузок. С учетом параметров пускателя, он может иметь до 5 пар контактов. Одна их половина расположена на траверсе якоря, а другая – на верхней части корпуса,
Отдельно выделена лишь кнопка Стоп. Пусковые кнопки (прямой ход и реверс) обозначены, как две пары контактов, связанных с пускателями МП-1 и МП-2,
